Запчасти Komatsu D41PF-6 ПОЛ (ПОЛ) (С ПЕДАЛЬ ЗАМЕДЛИТЕЛЯ ОБОРОТОВ) КАБИНА ОПЕРАТОРА И СИСТЕМА УПРАВЛЕНИЯ

Схема запчастей Komatsu D41PF-6 - ПОЛ (ПОЛ) (С ПЕДАЛЬ ЗАМЕДЛИТЕЛЯ ОБОРОТОВ) КАБИНА ОПЕРАТОРА И СИСТЕМА УПРАВЛЕНИЯ
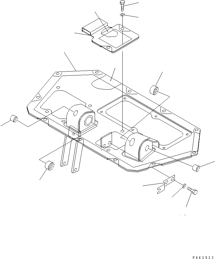
1
2
3
4
5
6
7
7
8
8
9
10
11
FIT
1:1
100%

Артикул

Название

Примечание

Количество

1

12G-43-51510

FLOOR

SN: B29001-UP

1шт.

2

14X-43-12360

SHEET

SN: B29001-UP

1шт.

3

12G-54-55120

COVER

SN: B29001-UP

1шт.

4

14X-43-12390

SHEET

SN: B29001-UP

1шт.

5

01010-81230

BOLT

SN: B29001-UP

2шт.

6

01643-31232

WASHER

SN: B29001-UP

2шт.

7

06124-02020

BEARING

SN: B29001-UP

2шт.

8

06124-03020

BEARING

SN: B29001-UP

2шт.

9

14X-43-13770

PLATE

SN: B29001-UP

1шт.

10

01010-81225

BOLT

SN: B29001-UP

2шт.

11

01643-31232

WASHER

SN: B29001-UP

2шт.

Выбрано товаров: 11