Запчасти Komatsu D41PF-6K ФРОНТАЛЬНАЯ ЗАЩИТА (INTAKE И ВЫПУСКН. EXTENSION) (/)(№9-) ЧАСТИ КОРПУСА

Схема запчастей Komatsu D41PF-6K - ФРОНТАЛЬНАЯ ЗАЩИТА (INTAKE И ВЫПУСКН. EXTENSION) (/)(№9-) ЧАСТИ КОРПУСА
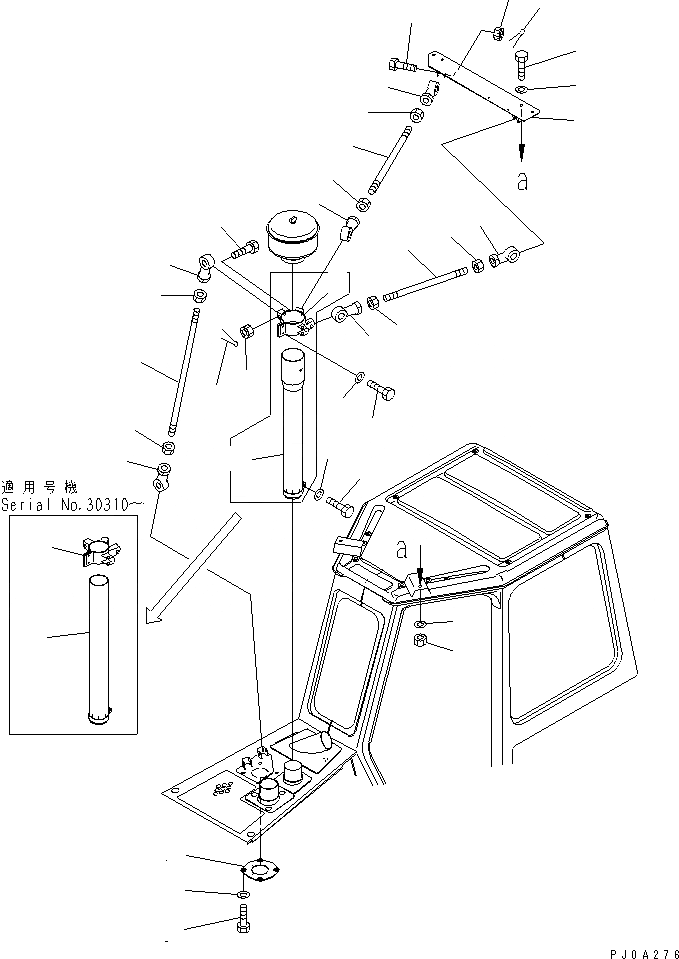
1
2
3
4
4
5
6
7
7
8
8
9
10
11
12
13
14
15
16
17
18
19
20
21
22
23
24
24
25
25
26
26
27
28
29
29
30
FIT
1:1
100%

Артикул

Название

Примечание

Количество

1

124-54-52251

SEAL

SN: 29021-30500

1шт.

2

113-43-23230

WASHER

SN: 29021-30500

4шт.

3

01010-80820

BOLT

SN: 29021-30500

4шт.

4

12G-54-62250

PIPE

SN: 30110-30500

1шт.

|4

12G-54-52250

PIPE

SN: 29021-30109

1шт.

5

01010-81035

BOLT

SN: 29021-@

2шт.

6

01010-81045

BOLT

SN: 29021-@

1шт.

7

01643-31032

WASHER

SN: 29021-@

3шт.

8

12G-54-62270

CLAMP

SN: 30110-30500

1шт.

|8

12G-54-52270

CLAMP

SN: 29021-30109

1шт.

9

04248-31674

ROD

SN: 29021-@

1шт.

10

01582-11613

NUT

SN: 29021-@

1шт.

11

01508-41610

NUT

SN: 29021-@

1шт.

12

04250-81683

END

SN: 29021-@

1шт.

13

04250-61683

END

SN: 29021-@

1шт.

14

04248-31662

ROD

SN: 29021-30500

1шт.

15

01582-11613

NUT

SN: 29021-@

1шт.

16

01508-41610

NUT

SN: 29021-@

1шт.

17

04250-81683

END

SN: 29021-@

1шт.

18

04250-61683

END

SN: 29021-@

1шт.

19

04248-31667

END

SN: 29021-30500

1шт.

20

01582-11613

NUT

SN: 29021-@

1шт.

21

01508-41610

NUT

SN: 29021-@

1шт.

22

04250-81683

END

SN: 29021-@

1шт.

23

04250-61683

END

SN: 29021-@

1шт.

24

01092-51665

BOLT

SN: 29021-@

6шт.

25

01592-31619

NUT

SN: 29021-@

6шт.

26

04050-24030

PIN

SN: 29021-@

6шт.

27

12G-54-52310

PLATE

SN: 29021-@

1шт.

28

01010-81230

BOLT

SN: 29021-@

2шт.

29

01643-31232

WASHER

SN: 29021-30500

4шт.

30

01580-11210

NUT

SN: 29021-@

2шт.

Выбрано товаров: 32