Запчасти Komatsu D41PF-6K-T2 ЗАЩИТА КАТКОВ (ПОЛН. ЗАЩИТА) (ДЛЯ HD СОЕДИНИТЕЛЬН. ЗВЕНО)(№-) ХОДОВАЯ

Схема запчастей Komatsu D41PF-6K-T2 - ЗАЩИТА КАТКОВ (ПОЛН. ЗАЩИТА) (ДЛЯ HD СОЕДИНИТЕЛЬН. ЗВЕНО)(№-) ХОДОВАЯ
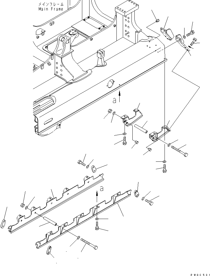
1
2
3
4
5
6
7
8
8
9
9
10
10
11
11
12
12
13
14
15
16
17
18
19
20
21
21
22
22
23
24
25
26
26
27
28
28
FIT
1:1
100%

Артикул

Название

Примечание

Количество

1

12G-30-52511

GUARD

SN: 30101-UP

2шт.

2

12G-30-52521

GUARD

SN: 30101-UP

2шт.

3

01010-81640

BOLT

SN: 29021-UP

20шт.

4

01643-31645

WASHER

SN: 29021-UP

20шт.

5

12G-30-51530

COLLAR

SN: 29021-UP

10шт.

6

09205-26270

BOLT

SN: 29021-UP

10шт.

7

01580-11613

NUT

SN: 29021-UP

10шт.

8

01643-31645

WASHER

SN: 29021-UP

20шт.

9

134-30-61460

PLATE

SN: 30101-UP

4шт.

10

134-30-61460

PLATE

SN: 30101-UP

4шт.

11

01010-81230

BOLT

SN: 29021-UP

16шт.

12

01643-31232

WASHER

SN: 29021-UP

16шт.

13

12G-21-52151

BRACKET

SN: 30101-UP

2шт.

14

01010-81635

BOLT

SN: 29021-UP

4шт.

15

01643-31645

WASHER

SN: 29021-UP

4шт.

16

12G-21-52161

BRACKET

SN: 30101-UP

2шт.

17

01010-81635

BOLT

SN: 29021-UP

4шт.

18

01643-31645

WASHER

SN: 29021-UP

4шт.

19

12G-21-51182

GUARD

SN: 30008-UP

2шт.

20

12G-21-51192

GUARD

SN: 30008-UP

2шт.

21

01010-81645

BOLT

SN: 29021-UP

16шт.

22

01643-31645

WASHER

SN: 29021-UP

16шт.

23

12G-30-51531

COLLAR

SN: 30008-UP

2шт.

24

09205-26270

BOLT

SN: 30008-UP

2шт.

25

01580-11613

NUT

SN: 30008-UP

2шт.

26

01643-31645

WASHER

SN: 30008-UP

4шт.

27

07049-01215

PLUG

SN: 30008-UP

16шт.

28

07049-01620

PLUG

SN: 30008-UP

6шт.

Выбрано товаров: 28