Запчасти Komatsu D41PF-6K-T2 ОТВАЛ (ДЛЯ POWER ANLGE НАКЛОНЯЕМ. DOZER) (ШИР. ТИП)(№-) РАБОЧЕЕ ОБОРУДОВАНИЕ

Схема запчастей Komatsu D41PF-6K-T2 - ОТВАЛ (ДЛЯ POWER ANLGE НАКЛОНЯЕМ. DOZER) (ШИР. ТИП)(№-) РАБОЧЕЕ ОБОРУДОВАНИЕ
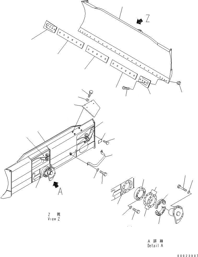
1
1
2
2
3
4
5
6
6
7
7
8
9
10
11
12
13
14
15
16
17
17
18
19
20
21
22
23
24
25
FIT
1:1
100%

Артикул

Название

Примечание

Количество

1

124-72-62201

BLADE ASS'Y

SN: 30101-UP

1шт.

2

124-72-61240

BRACKET

SN: 30501-UP

1шт.

3

124-72-51143

BRACKET

SN: 30501-UP

1шт.

4

124-72-52131

BRACKET

SN: 30501-UP

1шт.

5

12F-70-31251

EDGE

SN: 29021-UP

1шт.

6

12F-70-31261

EDGE

SN: 29021-UP

2шт.

7

11G-71-31170

BIT

SN: 29021-UP

2шт.

8

02090-11055

BOLT

SN: 29021-UP

25шт.

9

02290-11016

NUT

SN: 29021-UP

25шт.

10

124-72-61360

BEARING

SN: 30501-UP

1шт.

11

01010-81260

BOLT

SN: 30501-UP

2шт.

12

01643-31232

WASHER

SN: 30501-UP

2шт.

13

124-72-61370

CAP

SN: 30501-UP

1шт.

14

124-72-61470

CAP

SN: 30501-UP

1шт.

15

01011-82020

BOLT

SN: 30501-UP

8шт.

16

01643-32060

WASHER

SN: 30501-UP

8шт.

17

124-72-61382

SHIM

SN: 30501-UP

4шт.

|17

124-72-61392

SHIM

SN: 30501-UP

16шт.

18

124-72-61480

COVER

SN: 30501-UP

1шт.

19

01010-81230

BOLT

SN: 29021-UP

4шт.

20

01643-31232

WASHER

SN: 29021-UP

4шт.

21

124-72-51490

PLATE

SN: 29021-UP

1шт.

22

01010-81635

BOLT

SN: 29021-UP

4шт.

23

01643-31645

WASHER

SN: 29021-UP

4шт.

24

09601-60000

PLATE¤ NAME

SN: 29021-UP

1шт.

25

04418-13060

SCREW

SN: 29021-UP

4шт.

Выбрано товаров: 26