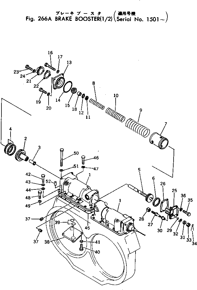
Запчасти Komatsu D455A-1 УСИЛИТЕЛЬ ТОРМОЗА (/)(№-) ГИДРОТРАНСФОРМАТОР И ТРАНСМИССИЯ

Схема запчастей Komatsu D455A-1 - УСИЛИТЕЛЬ ТОРМОЗА (/)(№-) ГИДРОТРАНСФОРМАТОР И ТРАНСМИССИЯ
FIT
1:1
100%

Артикул

Название

Примечание

Количество

|$0

198-16-00018

T/M,TRANSFER,BRAKE A

SN: 1501-UP

1шт.

|$1

198-33-00107

TRANSFER BRAKE A.

SN: 1501-UP

1шт.

|$2

198-33-00015

BRAKE BOOSTER A.

SN: 1501-UP

1шт.

|$3

198-33-00025

BRAKE BOOSTER A.

SN: 1501-UP

1шт.

1

198-33-12110

COVER,L.H.

SN: 1002-UP

1шт.

1

198-33-12120

COVER,R.H.

SN: 1002-UP

1шт.

2

198-33-12180

PISTON

SN: 1002-UP

1шт.

3

175-33-25430

BUSHING

SN: 1002-UP

1шт.

4

175-33-25420

RING, SEAL

SN: 1002-UP

2шт.

5

198-33-12171

ROD \

SN: 1301-UP

1шт.

6

175-33-25390

RING, SEAL

SN: 1002-UP

1шт.

7

198-33-12190

SLEEVE

SN: 1002-UP

1шт.

8

175-33-25470

SPRING

SN: 1002-UP

1шт.

9

198-33-12220

SPRING

SN: 1002-UP

1шт.

10

198-33-12230

SPRING

SN: 1002-UP

1шт.

11

175-33-25480

SPACER

SN: 1002-UP

1шт.

12

04064-03015

RING

SN: 1002-UP

1шт.

13

198-33-12150

GLAND

SN: 1002-UP

1шт.

14

07000-02140

O-RING

SN: 1002-UP

1шт.

15

198-33-12210

GUIDE

SN: 1002-UP

1шт.

16

01017-31410

BOLT

SN: 1002-UP

2шт.

17

01643-31445

WASHER

SN: 1002-UP

2шт.

18

175-33-25380

BUSHING

SN: 1002-UP

1шт.

19

01010-31445

BOLT

SN: 1002-UP

2шт.

20

01643-31445

WASHER

SN: 1002-UP

2шт.

21

198-33-12161

COVER

SN: 1301-UP

1шт.

22

198-33-12330

GASKET

SN: 1002-UP

1шт.

23

01010-31025

BOLT

SN: 1002-UP

3шт.

24

01602-01030

WASHER

SN: 1002-UP

3шт.

25

198-33-12131

COVER,L.H.

SN: 1004-UP

1шт.

25

198-33-12141

COVER,R.H.

SN: 1004-UP

1шт.

26

198-33-12390

GASKET

SN: 1002-UP

1шт.

27

198-33-12282

BOLT

SN: 1004-UP

1шт.

28

198-33-12291

NUT

SN: 1004-UP

1шт.

29

07000-02018

O-RING

SN: 1002-UP

1шт.

30

198-33-12411

BUSHING

SN: 1118-UP

1шт.

31

175-33-25640

NUT

SN: 1002-UP

1шт.

32

01650-21816

WASHER

SN: 1002-UP

1шт.

33

01593-01008

NUT

SN: 1501-UP

1шт.

34

04050-02018

PIN

SN: 1501-UP

1шт.

35

01010-31025

BOLT

SN: 1002-UP

4шт.

36

01602-01030

WASHER

SN: 1002-UP

4шт.

37

07043-50312

PLUG

SN: 1002-UP

3шт.

38

198-33-12450

PLATE,L.H.

SN: 1501-UP

1шт.

38

198-33-12460

PLATE,R.H.

SN: 1501-UP

1шт.

39

07000-03035

O-RING

SN: 1501-UP

2шт.

40

01010-31035

BOLT

SN: 1501-UP

4шт.

41

01602-01030

WASHER

SN: 1501-UP

4шт.

42

01010-31225

BOLT

SN: 1002-UP

10шт.

43

01602-01236

WASHER

SN: 1002-UP

10шт.

44

198-33-12380

WASHER

SN: 1002-UP

10шт.

45

198-33-12320

GASKET

SN: 1002-UP

2шт.

46

01010-31280

BOLT

SN: 1002-UP

6шт.

47

01602-01236

WASHER

SN: 1002-UP

6шт.

48

01010-31225

BOLT

SN: 1002-UP

4шт.

49

01602-01236

WASHER

SN: 1002-UP

4шт.

50

01011-31285

BOLT

SN: 1002-UP

4шт.

51

01602-01236

WASHER

SN: 1002-UP

4шт.

52

04020-01228

PIN

SN: 1002-UP

4шт.

Выбрано товаров: 59