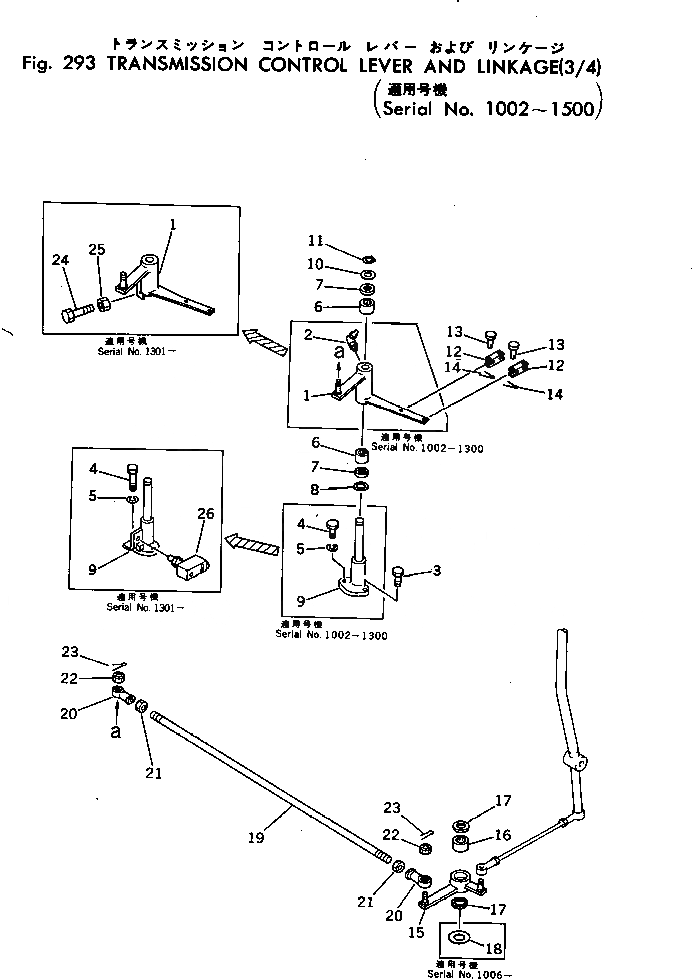
Запчасти Komatsu D455A-1 РЫЧАГ УПРАВЛ-Я ТРАНСМИССИЕЙ И МЕХАНИЗМ (/)(№-) ГИДРОТРАНСФОРМАТОР И ТРАНСМИССИЯ

Схема запчастей Komatsu D455A-1 - РЫЧАГ УПРАВЛ-Я ТРАНСМИССИЕЙ И МЕХАНИЗМ (/)(№-) ГИДРОТРАНСФОРМАТОР И ТРАНСМИССИЯ
FIT
1:1
100%

Артикул

Название

Примечание

Количество

1

198-43-18212

LEVER

SN: 1301-1500

1шт.

1

198-43-18211

LEVER

SN: 1002-1300

1шт.

2

07020-00900

FITTING

SN: 1002-1300

1шт.

3

01010-31030

BOLT

SN: 1002-1500

1шт.

4

01010-31035

BOLT

SN: 1301-1500

1шт.

4

01010-31030

BOLT

SN: 1002-1300

1шт.

5

01602-01030

WASHER

SN: 1002-1500

2шт.

6

06120-02016

BEARING

SN: 1002-1500

2шт.

7

06122-02004

SEAL

SN: 1002-1500

2шт.

8

198-43-18230

WASHER

SN: 1002-1500

1шт.

9

198-43-18222

BRACKET

SN: 1301-1500

1шт.

9

198-43-18221

BRACKET

SN: 1002-1300

1шт.

10

01640-22032

WASHER

SN: 1002-1500

1шт.

11

04064-02012

RING

SN: 1002-1500

1шт.

12

04213-00830

YOKE

SN: 1002-1500

2шт.

13

04205-00822

PIN

SN: 1002-1500

4шт.

14

04050-02012

PIN

SN: 1002-1500

4шт.

15

198-43-18180

LEVER

SN: 1002-1500

1шт.

16

06120-02520

BEARING

SN: 1002-1500

1шт.

17

06122-02504

SEAL

SN: 1002-1500

2шт.

18

01640-02440

WASHER

SN: 1006-1500

1шт.

19

04245-41284

ROD

SN: 1080-1500

1шт.

19

04245-41285

ROD

SN: 1002-1079

1шт.

20

04250-41265

END

SN: 1002-1500

2шт.

21

01582-01210

NUT

SN: 1002-1500

2шт.

22

01593-01210

NUT

SN: 1002-1500

2шт.

23

04050-03020

PIN

SN: 1002-1500

2шт.

24

01010-31030

BOLT

SN: 1301-1500

1шт.

25

01580-01008

NUT

SN: 1301-1500

1шт.

26

113-06-23250

SWITCH,SAFETY

SN: 1301-1500

1шт.

Выбрано товаров: 0