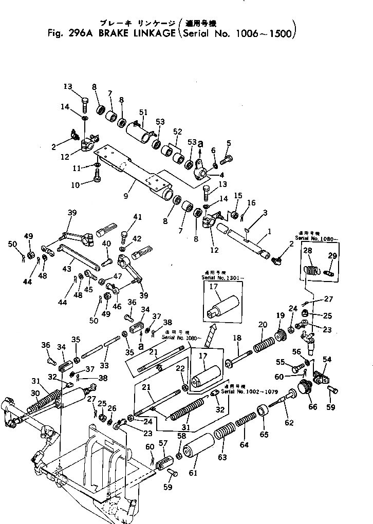
Запчасти Komatsu D455A-1 ТОРМОЗН. МЕХАНИЗМ(№-) ГИДРОТРАНСФОРМАТОР И ТРАНСМИССИЯ

Схема запчастей Komatsu D455A-1 - ТОРМОЗН. МЕХАНИЗМ(№-) ГИДРОТРАНСФОРМАТОР И ТРАНСМИССИЯ
FIT
1:1
100%

Артикул

Название

Примечание

Количество

1

198-43-13381

SHAFT

SN: 1006-1500

1шт.

2

07020-00900

FITTING

SN: 1002-1500

2шт.

3

04010-01032

KEY

SN: 1002-1500

1шт.

4

198-43-17480

LEVER

SN: 1080-1500

1шт.

4

198-43-13410

LEVER

SN: 1002-1079

1шт.

5

01010-31245

BOLT

SN: 1002-1500

1шт.

6

01602-01236

WASHER

SN: 1002-1500

1шт.

7

06120-03520

BEARING

SN: 1002-1500

2шт.

8

06122-03504

SEAL

SN: 1002-1500

4шт.

9

198-43-13391

BRACKET

SN: 1006-1500

1шт.

9

198-43-13390

SUPPORT

SN: 1002-1005

2шт.

10

01010-31230

BOLT

SN: 1006-1500

8шт.

11

01602-01236

WASHER

SN: 1006-1500

8шт.

12

198-43-13370

LEVER

SN: 1002-1500

2шт.

13

01010-31245

BOLT

SN: 1002-1500

2шт.

14

01602-01236

WASHER

SN: 1002-1500

2шт.

15

01593-01210

NUT

SN: 1002-1500

2шт.

16

04050-03020

PIN

SN: 1002-1500

2шт.

17

198-43-13281

HOLDER \

SN: 1301-1500

2шт.

17

198-43-13280

HOLDER \

SN: 1002-1300

2шт.

18

198-43-13290

ROD \

SN: 1004-1500

2шт.

19

198-43-13310

PLUG

SN: 1004-1500

2шт.

20

203-43-11350

SPRING

SN: 1080-1500

2шт.

20

175-22-21180

SPRING

SN: 1002-1079

2шт.

21

04245-41430

ROD

SN: 1301-1500

1шт.

21

04245-41432

ROD

SN: 1080-1300

1шт.

21

198-43-13260

ROD

SN: 1002-1079

1шт.

22

01582-01411

NUT

SN: 1002-1500

2шт.

23

04250-41474

END

SN: 1004-1500

4шт.

24

01582-01411

NUT

SN: 1004-1500

4шт.

25

01593-01411

NUT

SN: 1004-1500

4шт.

26

04254-01445

SPACER

SN: 1080-1500

2шт.

27

04050-03022

PIN

SN: 1004-1500

4шт.

28

198-43-17540

SPRING

SN: 1080-1500

2шт.

29

198-43-17430

PLATE

SN: 1080-1500

2шт.

30

04245-41423

ROD

SN: 1301-1500

1шт.

30

04245-41425

ROD

SN: 1080-1300

1шт.

30

198-43-13270

ROD

SN: 1002-1079

1шт.

31

198-43-13320

SPRING

SN: 1002-1079

2шт.

32

198-43-13330

PLATE

SN: 1002-1079

2шт.

33

04245-41444

ROD

SN: 1003-1500

1шт.

34

04210-21456

YOKE

SN: 1002-1500

2шт.

35

01582-01411

NUT

SN: 1002-1500

2шт.

36

04205-01440

PIN

SN: 1002-1500

2шт.

37

01641-21423

WASHER

SN: 1002-1500

2шт.

38

04050-04022

PIN

SN: 1002-1500

2шт.

39

198-43-13341

LEVER

SN: 1006-1500

2шт.

40

04205-01235

PIN

SN: 1003-1500

2шт.

41

01010-31245

BOLT

SN: 1002-1500

2шт.

42

01602-01236

WASHER

SN: 1002-1500

2шт.

43

198-43-13560

PLATE

SN: 1003-1500

1шт.

44

04050-03020

PIN

SN: 1002-1500

2шт.

45

04252-01269

END

SN: 1002-1500

2шт.

46

04250-41265

END

SN: 1006-1500

2шт.

47

01582-01210

NUT

SN: 1002-1500

2шт.

48

01641-21223

WASHER

SN: 1002-1500

2шт.

49

01593-01210

NUT

SN: 1002-1500

2шт.

50

04050-03020

PIN

SN: 1002-1500

2шт.

51

198-43-13580

LEVER

SN: 1006-1500

1шт.

52

06120-03520

BEARING

SN: 1006-1500

2шт.

53

06122-03504

SEAL

SN: 1006-1500

2шт.

54

198-43-17640

SPRING

SN: 1080-1500

1шт.

55

01010-31230

BOLT

SN: 1080-1500

2шт.

56

01602-01236

WASHER

SN: 1080-1500

2шт.

57

04211-21478

YOKE

SN: 1080-1500

1шт.

58

01582-01411

NUT

SN: 1080-1500

1шт.

59

04205-01438

PIN

SN: 1080-1500

2шт.

60

04050-04022

PIN

SN: 1080-1500

2шт.

61

198-43-17570

HOLDER

SN: 1080-1500

1шт.

62

198-43-17580

ROD

SN: 1080-1500

1шт.

63

198-43-17670

SPRING

SN: 1080-1500

1шт.

64

198-43-17560

SPRING

SN: 1080-1500

1шт.

65

198-43-17590

COLLAR

SN: 1080-1500

1шт.

66

198-43-17630

PLUG

SN: 1080-1500

1шт.

Выбрано товаров: 0