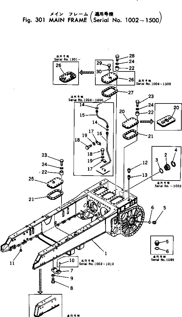
Запчасти Komatsu D455A-1 ОСНОВН. РАМА(№-) СИСТЕМАУПРАВЛЕНИЯ ПОВОРОТОМ И КОНЕЧНАЯ ПЕРЕДАЧА

Схема запчастей Komatsu D455A-1 - ОСНОВН. РАМА(№-) СИСТЕМАУПРАВЛЕНИЯ ПОВОРОТОМ И КОНЕЧНАЯ ПЕРЕДАЧА
FIT
1:1
100%

Артикул

Название

Примечание

Количество

1

198-21-12103

MAIN FRAME ASS'Y

SN: 1301-1500

1шт.

1

198-21-12102

MAIN FRAME ASS'Y

SN: 1032-1300

1шт.

1

198-21-12450

MAIN FRAME ASS'Y

SN: 1030-1031

1шт.

1

198-21-12102

MAIN FRAME ASS'Y

SN: 1006-1029

1шт.

1

198-21-12101

MAIN FRAME ASS'Y

SN: 1004-1005

1шт.

1

198-21-12100

MAIN FRAME ASS'Y

SN: 1002-1003

1шт.

2

198-21-12390

PLUG

SN: 1002-1003

2шт.

3

07000-05160

O-RING

SN: 1002-1003

2шт.

4

04071-00190

RING

SN: 1002-1003

2шт.

5

07044-13620

PLUG

SN: 1002-@

7шт.

6

07002-03634

O-RING

SN: 1002-@

7шт.

7

198-21-12230

BOSS

SN: 1002-@

2шт.

8

01011-63625

BOLT

SN: 1002-@

8шт.

9

01643-33690

WASHER

SN: 1002-@

8шт.

10

180-50-11150

PIN

SN: 1002-1010

1шт.

11

07049-03038

PLUG

SN: 1004-@

16шт.

12

07030-00252

BREATHER

SN: 1002-@

2шт.

13

07350-00215

NIPPLE

SN: 1301-@

2шт.

13

0

NIPPLE

SN: 1004-1300

2шт.

14

07000-03022

O-RING

SN: 1004-1005

2шт.

15

198-21-12321

TUBE

SN: 1004-1005

1шт.

16

198-21-12330

TUBE

SN: 1004-1005

1шт.

17

07282-02288

CLAMP

SN: 1004-1005

2шт.

18

01010-31025

BOLT

SN: 1004-1005

4шт.

19

01602-01030

WASHER

SN: 1004-1005

4шт.

20

198-21-21162

COVER,L.H.

SN: 1070-@

1шт.

20

198-21-12261

COVER,L.H.

SN: 1004-1069

1шт.

20

198-21-12260

COVER,L.H.

SN: 1002-1003

1шт.

21

198-21-12281

SEAT

SN: 1004-@

2шт.

21

198-21-12280

SEAT

SN: 1002-1003

2шт.

22

198-21-12240

BOSS

SN: 1002-@

44шт.

23

01010-31470

BOLT

SN: 1002-1500

28шт.

24

01602-01442

WASHER

SN: 1002-@

44шт.

25

198-21-12272

COVER,R.H.

SN: 1301-@

1шт.

25

198-21-12271

COVER,R.H.

SN: 1004-1300

1шт.

25

198-21-12270

COVER,R.H.

SN: 1002-1003

1шт.

26

198-21-12252

COVER,CENTER

SN: 1301-@

1шт.

26

198-21-12251

COVER,CENTER

SN: 1004-1300

1шт.

26

198-21-12250

COVER,CENTER

SN: 1002-1003

1шт.

27

198-21-12291

SEAT

SN: 1004-1500

1шт.

27

198-21-12290

SEAT

SN: 1002-1003

1шт.

28

01010-31470

BOLT

SN: 1004-1500

16шт.

28

01010-31465

BOLT

SN: 1002-1003

16шт.

29

07040-12012

PLUG

SN: 1004-1300

1шт.

30

07002-02034

O-RING

SN: 1004-1300

1шт.

Выбрано товаров: 45