Запчасти Komatsu D455A-1 МАСЛ. ФИЛЬТР И УРОВЕНЬ GAUGE(№-) СИСТЕМАУПРАВЛЕНИЯ ПОВОРОТОМ И КОНЕЧНАЯ ПЕРЕДАЧА

Схема запчастей Komatsu D455A-1 - МАСЛ. ФИЛЬТР И УРОВЕНЬ GAUGE(№-) СИСТЕМАУПРАВЛЕНИЯ ПОВОРОТОМ И КОНЕЧНАЯ ПЕРЕДАЧА
FIT
1:1
100%

Артикул

Название

Примечание

Количество

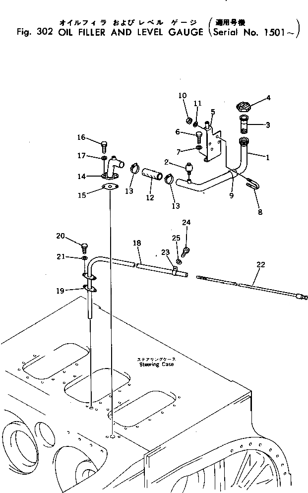
1

198-49-13160

TUBE

SN: 1501-UP

1шт.

2

07030-10252

BREATHER

SN: 1501-UP

1шт.

3

07056-10045

STRAINER

SN: 1501-UP

1шт.

4

07051-20000

CAP

SN: 1501-UP

1шт.

4

07051-00003

GASKET

SN: 1501-UP

1шт.

4

07092-00000

CAP,(FOR VANDALISM PROTECTION)

SN: 1501-UP

1шт.

5

198-49-13152

BRACKET

SN: 1501-UP

1шт.

6

01010-31230

BOLT

SN: 1501-UP

2шт.

7

01643-31232

WASHER

SN: 1501-UP

2шт.

8

07283-34949

CLIP

SN: 1501-UP

2шт.

9

07283-54959

SEAT

SN: 1501-UP

2шт.

10

01599-01011

NUT

SN: 1501-UP

4шт.

11

01643-31032

WASHER

SN: 1501-UP

4шт.

12

07260-24713

HOSE

SN: 1501-UP

1шт.

13

07281-10709

CLAMP

SN: 1501-UP

2шт.

14

198-49-13114

TUBE

SN: 1501-UP

1шт.

15

195-15-17130

GASKET

SN: 1501-UP

1шт.

16

01010-31240

BOLT

SN: 1501-UP

2шт.

17

01643-31232

WASHER

SN: 1501-UP

2шт.

18

198-49-13121

TUBE

SN: 1501-UP

1шт.

19

198-49-13170

GASKET

SN: 1501-UP

1шт.

20

01010-31230

BOLT

SN: 1501-UP

2шт.

21

01643-31232

WASHER

SN: 1501-UP

2шт.

22

198-49-13142

GAUGE

SN: 1501-UP

1шт.

23

08035-01512

CLIP

SN: 1501-UP

1шт.

24

01010-31220

BOLT

SN: 1501-UP

1шт.

25

01643-31232

WASHER

SN: 1501-UP

1шт.

Выбрано товаров: 27