Запчасти Komatsu D455A-1 ГУСЕНИЦЫ (СМАЗЫВ. ТИПА) (ДЛЯ США) ГУСЕНИЦЫ

Схема запчастей Komatsu D455A-1 - ГУСЕНИЦЫ (СМАЗЫВ. ТИПА) (ДЛЯ США) ГУСЕНИЦЫ
FIT
1:1
100%

Артикул

Название

Примечание

Количество

|$$1

710MM WIDE,(SINGLE GROUSER)

-1шт.

|$1

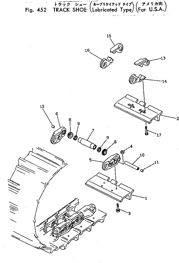
198-32-01500

TRACK SHOE ASS'Y

SN: 1586-UP

1шт.

1

198-32-11710

SHOE, TRACK,REGULAR

SN: 1002-UP

70шт.

2

198-32-16140

SHOE, TRACK,MASTER

SN: 1586-UP

4шт.

3

198-32-11211

BOLT, SHOE (KIT)

SN: 1006-UP

280шт.

4

198-32-11221

NUT, SHOE (KIT)

SN: 1393-UP

280шт.

|$6

198-32-00061

TRACK LINK ASS'Y

SN: 1586-UP

1шт.

5

198-32-11125

LINK, REGULAR,L.H.

SN: 1331-UP

70шт.

6

198-32-11135

LINK, REGULAR,R.H.

SN: 1331-UP

70шт.

7

198-32-11144

BUSHING, REGULAR

SN: 1331-UP

74шт.

8

198-32-11403

SEAL ASS'Y

SN: 1331-UP

148шт.

9

198-32-11162

SPACER, REGULAR

SN: 1331-UP

148шт.

10

198-32-11154

PIN, REGULAR

SN: 1004-UP

74шт.

11

07059-11830

PLUG,LARGE

SN: 1004-UP

74шт.

12

07059-20721

PLUG,SMALL

SN: 1004-UP

74шт.

13

198-32-16120

LINK, MASTER,L.H. PIN SIDE

SN: 1586-UP

4шт.

14

198-32-16130

LINK, MASTER,L.H. BUSHING SIDE

SN: 1586-UP

4шт.

15

198-32-16220

LINK, MASTER,R.H. PIN SIDE

SN: 1586-UP

4шт.

16

198-32-16230

LINK, MASTER,R.H. BUSHING SIDE

SN: 1586-UP

4шт.

17

198-32-16250

BOLT, MASTER

SN: 1586-UP

16шт.

|$$21

SERVICE KIT

-1шт.

2

198-32-05001

SHOE BOLT AND NUT K.

SN: 1006-UP

1шт.

2

198-32-11211

BOLT, SHOE

SN: 1006-UP

30шт.

3

198-32-11221

NUT, SHOE

SN: 1006-UP

30шт.

|$$25

OVERSIZE PARTS

-1шт.

|$$26

0.10MM OVERSIZE

-1шт.

7

198-32-00243

BUSHING

SN: 1331-UP

-2шт.

10

198-32-00212

PIN

SN: 1331-UP

-2шт.

|$$29

0.18MM OVERSIZE

-1шт.

7

198-32-00263

BUSHING

SN: 1331-UP

-2шт.

10

198-32-00232

PIN

SN: 1331-UP

-2шт.

Выбрано товаров: 31