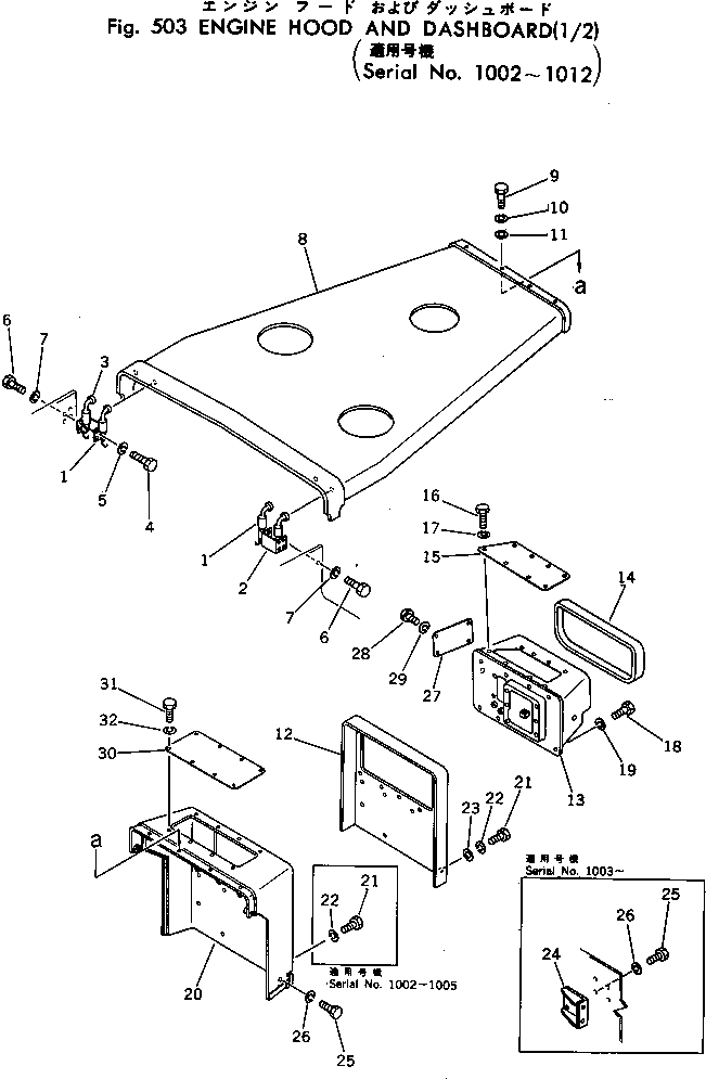
Запчасти Komatsu D455A-1 КАПОТ И ПРИБОРНАЯ ПАНЕЛЬ (/)(№-) ЧАСТИ КОРПУСА

Схема запчастей Komatsu D455A-1 - КАПОТ И ПРИБОРНАЯ ПАНЕЛЬ (/)(№-) ЧАСТИ КОРПУСА
FIT
1:1
100%

Артикул

Название

Примечание

Количество

1

198-54-11490

CATCHER ASS'Y

SN: 1006-1012

2шт.

1

198-54-11300

CATCHER

SN: 1002-1005

2шт.

2

198-54-11510

CATCHER ASS'Y,L.H.

SN: 1006-1012

1шт.

3

198-54-11520

CATCHER ASS'Y,R.H.

SN: 1006-1012

1шт.

4

01010-31020

BOLT

SN: 1006-1012

8шт.

5

01602-01030

WASHER

SN: 1006-1012

8шт.

6

01010-31030

BOLT

SN: 1002-1012

8шт.

7

01602-01030

WASHER

SN: 1002-1012

8шт.

8

198-54-11221

HOOD

SN: 1006-1012

1шт.

8

198-54-11220

HOOD

SN: 1002-1005

1шт.

9

01010-31240

BOLT

SN: 1002-1012

6шт.

10

01602-01236

WASHER

SN: 1002-1012

6шт.

11

01643-31232

WASHER

SN: 1002-1012

6шт.

12

198-54-11350

COVER,(NOT USED WITH CABIN)

SN: 1002-1012

1шт.

13

198-54-18240

BOX

SN: 1009-1012

1шт.

13

198-54-11340

BOX

SN: 1002-1008

1шт.

14

198-54-11450

RUBBER

SN: 1002-1012

1шт.

15

198-54-11441

PLATE

SN: 1006-1012

1шт.

15

198-54-11440

PLATE

SN: 1002-1005

1шт.

16

01010-31020

BOLT

SN: 1002-1012

8шт.

17

01602-01030

WASHER

SN: 1002-1012

8шт.

18

01011-31200

BOLT

SN: 1006-1012

9шт.

18

01011-31200

BOLT

SN: 1002-1005

16шт.

19

01602-01236

WASHER

SN: 1006-1012

9шт.

19

01602-01236

WASHER

SN: 1002-1005

16шт.

20

198-54-18230

DASHBOARD

SN: 1009-1012

1шт.

20

198-54-11211

DASHBOARD

SN: 1006-1008

1шт.

20

198-54-11210

DASHBOARD

SN: 1002-1005

1шт.

21

01011-31210

BOLT

SN: 1006-1012

7шт.

21

01010-31230

BOLT

SN: 1002-1005

5шт.

21

01010-31240

BOLT,(FOR WITH CABIN)

SN: 1006-1012

7шт.

22

01602-01236

WASHER

SN: 1006-1012

7шт.

22

01602-01236

WASHER

SN: 1002-1005

5шт.

23

01643-31232

WASHER

SN: 1006-1012

7шт.

24

198-54-11460

BRACKET

SN: 1002-1003

1шт.

25

01010-31230

BOLT

SN: 1004-1012

2шт.

25

01010-31230

BOLT

SN: 1002-1003

6шт.

26

01602-01236

WASHER

SN: 1004-1012

2шт.

26

01602-01236

WASHER

SN: 1002-1003

6шт.

27

198-54-11470

PLATE

SN: 1006-1012

1шт.

28

01010-31230

BOLT

SN: 1006-1012

4шт.

29

01602-01236

WASHER

SN: 1006-1012

4шт.

30

198-54-11230

PLATE

SN: 1002-1012

1шт.

31

01010-31230

BOLT

SN: 1002-1012

8шт.

32

01602-01236

WASHER

SN: 1002-1012

8шт.

Выбрано товаров: 0