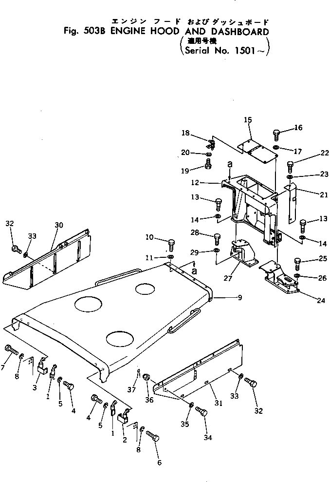
Запчасти Komatsu D455A-1 КАПОТ И ПРИБОРНАЯ ПАНЕЛЬ (/)(№-) ЧАСТИ КОРПУСА

Схема запчастей Komatsu D455A-1 - КАПОТ И ПРИБОРНАЯ ПАНЕЛЬ (/)(№-) ЧАСТИ КОРПУСА
FIT
1:1
100%

Артикул

Название

Примечание

Количество

1

198-54-11491

CATCHER ASS'Y

SN: 1398-UP

2шт.

2

198-54-11511

CATCHER ASS'Y,L.H.

SN: 1398-UP

1шт.

3

198-54-11521

CATCHER ASS'Y,R.H.

SN: 1398-UP

1шт.

4

01010-31020

BOLT

SN: 1013-UP

8шт.

5

01602-01030

WASHER

SN: 1013-UP

8шт.

6

01010-31030

BOLT

SN: 1501-UP

4шт.

7

01010-31035

BOLT

SN: 1501-UP

4шт.

8

01602-01030

WASHER

SN: 1013-UP

8шт.

9

198-54-11226

HOOD

SN: 1013-UP

1шт.

10

01010-31230

BOLT

SN: 1501-UP

6шт.

11

124-54-26540

WASHER

SN: 1013-UP

6шт.

12

198-54-11731

BRACKET

SN: 1501-UP

1шт.

13

01010-31645

BOLT

SN: 1501-UP

6шт.

14

01643-31645

WASHER

SN: 1501-UP

6шт.

15

198-54-11740

COVER

SN: 1501-UP

1шт.

16

01010-51225

BOLT

SN: 1540-UP

4шт.

16

0

BOLT

SN: 1501-1539

4шт.

17

01643-31232

WASHER

SN: 1501-UP

4шт.

18

175-54-33940

LOCK ASS'Y

SN: 1501-UP

2шт.

19

01010-30810

BOLT

SN: 1501-UP

2шт.

20

01602-00825

WASHER

SN: 1501-UP

2шт.

21

198-54-14571

COVER

SN: 1501-UP

1шт.

22

01010-31230

BOLT

SN: 1501-UP

2шт.

23

01643-31232

WASHER

SN: 1501-UP

2шт.

24

198-54-14861

BRACKET,L.H.

SN: 1501-UP

1шт.

25

01010-31645

BOLT

SN: 1501-UP

6шт.

26

01643-31645

WASHER

SN: 1501-UP

6шт.

27

198-54-14871

BRACKET,R.H.

SN: 1501-UP

1шт.

28

01010-31645

BOLT

SN: 1501-UP

6шт.

29

01643-31645

WASHER

SN: 1501-UP

6шт.

30

198-54-19551

COVER,R.H.

SN: 1501-UP

1шт.

31

198-54-19531

COVER,L.H.

SN: 1501-UP

1шт.

32

01010-31230

BOLT

SN: 1501-UP

6шт.

33

01643-31232

WASHER

SN: 1501-UP

6шт.

34

195-09-18140

BOLT

SN: 1501-UP

1шт.

35

01642-21216

WASHER

SN: 1501-UP

1шт.

36

01590-01215

NUT

SN: 1501-UP

1шт.

37

04050-03025

PIN

SN: 1501-UP

1шт.

Выбрано товаров: 38