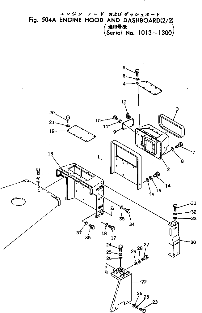
Запчасти Komatsu D455A-1 КАПОТ И ПРИБОРНАЯ ПАНЕЛЬ (/)(№-) ЧАСТИ КОРПУСА

Схема запчастей Komatsu D455A-1 - КАПОТ И ПРИБОРНАЯ ПАНЕЛЬ (/)(№-) ЧАСТИ КОРПУСА
FIT
1:1
100%

Артикул

Название

Примечание

Количество

1

198-54-11350

COVER,(NOT USED WITH CAB)

SN: 1013-@

1шт.

2

198-54-18240

BOX

SN: 1013-1300

1шт.

3

198-54-11450

RUBBER

SN: 1013-@

1шт.

4

198-54-11441

PLATE

SN: 1013-@

1шт.

5

01010-31020

BOLT

SN: 1013-@

8шт.

6

01602-01030

WASHER

SN: 1013-@

8шт.

7

01011-31200

BOLT

SN: 1013-@

9шт.

8

01602-01236

WASHER

SN: 1013-@

9шт.

9

198-54-11470

PLATE

SN: 1013-1300

1шт.

10

01010-31230

BOLT

SN: 1013-1300

4шт.

11

01602-01236

WASHER

SN: 1013-1300

4шт.

12

09459-00000

LOCK

SN: 1057-1300

1шт.

13

198-54-18230

DASHBOARD

SN: 1013-1300

1шт.

14

01011-31210

BOLT

SN: 1013-@

7шт.

15

01602-01236

WASHER

SN: 1013-@

7шт.

16

01643-31232

WASHER

SN: 1013-@

7шт.

17

01010-31230

BOLT

SN: 1013-@

2шт.

18

01602-01236

WASHER

SN: 1013-@

2шт.

19

198-54-11230

PLATE

SN: 1013-1300

1шт.

20

01010-31230

BOLT

SN: 1013-1300

8шт.

21

01602-01236

WASHER

SN: 1013-1300

8шт.

22

198-54-14273

BRACKET

SN: 1013-1300

1шт.

23

01010-31235

BOLT

SN: 1013-@

2шт.

24

01010-31240

BOLT

SN: 1013-@

2шт.

25

01602-01236

WASHER

SN: 1013-@

4шт.

26

01643-31232

WASHER

SN: 1013-@

4шт.

27

01010-31220

BOLT

SN: 1013-1300

1шт.

28

01602-01236

WASHER

SN: 1013-1300

1шт.

29

08036-11214

CLIP

SN: 1013-@

1шт.

30

198-54-11580

COVER

SN: 1009-1300

1шт.

31

01010-31225

BOLT

SN: 1009-1300

6шт.

32

01602-01236

WASHER

SN: 1009-1300

6шт.

33

01643-31232

WASHER

SN: 1009-1300

6шт.

34

01010-30820

BOLT

SN: 1013-@

2шт.

35

01602-00825

WASHER

SN: 1013-@

2шт.

36

01010-30612

BOLT

SN: 1013-@

2шт.

37

01602-00619

WASHER

SN: 1013-@

2шт.

Выбрано товаров: 37