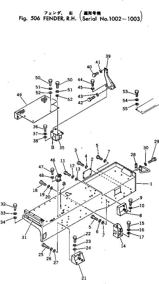
Запчасти Komatsu D455A-1 КРЫЛО¤ ПРАВ.(№-) ЧАСТИ КОРПУСА

Схема запчастей Komatsu D455A-1 - КРЫЛО¤ ПРАВ.(№-) ЧАСТИ КОРПУСА
FIT
1:1
100%

Артикул

Название

Примечание

Количество

1

198-54-14130

FENDER,R.H.

SN: 1002-1003

1шт.

2

198-54-14230

COVER

SN: 1002-@

1шт.

3

01010-31230

BOLT

SN: 1002-@

4шт.

4

01602-01236

WASHER

SN: 1002-@

4шт.

5

01010-32480

BOLT

SN: 1002-1003

8шт.

6

01602-02472

WASHER

SN: 1002-1003

8шт.

7

01643-32460

WASHER

SN: 1002-@

8шт.

8

198-54-14190

BRACKET

SN: 1002-1003

1шт.

9

01011-32205

BOLT

SN: 1002-1003

2шт.

10

01643-32260

WASHER

SN: 1002-@

2шт.

11

01010-32050

BOLT

SN: 1002-@

4шт.

12

01602-02060

WASHER

SN: 1002-@

4шт.

13

01643-32060

WASHER

SN: 1002-@

4шт.

14

198-54-14210

BRACKET

SN: 1002-1003

1шт.

15

01010-32080

BOLT

SN: 1002-1003

8шт.

16

01602-02060

WASHER

SN: 1002-1003

8шт.

17

01643-32060

WASHER

SN: 1002-1003

8шт.

18

01010-32050

BOLT

SN: 1002-1003

8шт.

19

01602-02060

WASHER

SN: 1002-1003

8шт.

20

01643-32060

WASHER

SN: 1002-1003

8шт.

21

198-54-14180

BRACKET

SN: 1002-1003

1шт.

22

01010-32075

BOLT

SN: 1002-1003

4шт.

23

01602-02060

WASHER

SN: 1002-1003

4шт.

24

01643-32060

WASHER

SN: 1002-1003

4шт.

25

01010-32055

BOLT

SN: 1002-@

4шт.

26

01602-02060

WASHER

SN: 1002-@

4шт.

27

01643-32060

WASHER

SN: 1002-@

4шт.

28

198-54-14380

GRIP

SN: 1002-@

1шт.

29

01010-31645

BOLT

SN: 1002-@

4шт.

30

01602-01648

WASHER

SN: 1002-@

4шт.

31

198-54-14240

BRACKET

SN: 1002-1003

1шт.

32

01010-31230

BOLT

SN: 1002-1003

3шт.

33

01602-01230

WASHER

SN: 1002-1003

3шт.

34

01640-21223

WASHER

SN: 1002-1003

3шт.

35

198-54-14260

BRACKET

SN: 1002-1003

1шт.

36

01010-31235

BOLT

SN: 1002-@

4шт.

37

01602-01236

WASHER

SN: 1002-@

4шт.

38

01640-21223

WASHER

SN: 1002-@

4шт.

39

198-54-14410

BRACKET

SN: 1002-@

1шт.

40

01010-31235

BOLT

SN: 1002-@

4шт.

41

01602-01236

WASHER

SN: 1002-@

4шт.

42

01010-31230

BOLT

SN: 1002-@

3шт.

43

01602-01236

WASHER

SN: 1002-@

3шт.

44

01010-31235

BOLT

SN: 1002-@

4шт.

45

01602-01236

WASHER

SN: 1002-@

4шт.

46

198-54-14340

BRACKET

SN: 1002-@

1шт.

47

01010-31240

BOLT

SN: 1002-@

2шт.

48

01602-01236

WASHER

SN: 1002-@

2шт.

49

198-54-14250

BRACKET

SN: 1002-@

1шт.

50

01010-31240

BOLT

SN: 1002-1003

12шт.

51

01602-01236

WASHER

SN: 1002-1003

12шт.

52

01640-21223

WASHER

SN: 1002-1003

12шт.

53

01010-31230

BOLT

SN: 1002-1003

1шт.

54

01602-01236

WASHER

SN: 1002-1003

1шт.

55

01640-21223

WASHER

SN: 1002-1003

1шт.

Выбрано товаров: 55