Запчасти Komatsu D455A-1 МАРКИРОВКА¤ ФРАНЦИЯ И АНГЛ.(№-) ЧАСТИ КОРПУСА

Схема запчастей Komatsu D455A-1 - МАРКИРОВКА¤ ФРАНЦИЯ И АНГЛ.(№-) ЧАСТИ КОРПУСА
FIT
1:1
100%

Артикул

Название

Примечание

Количество

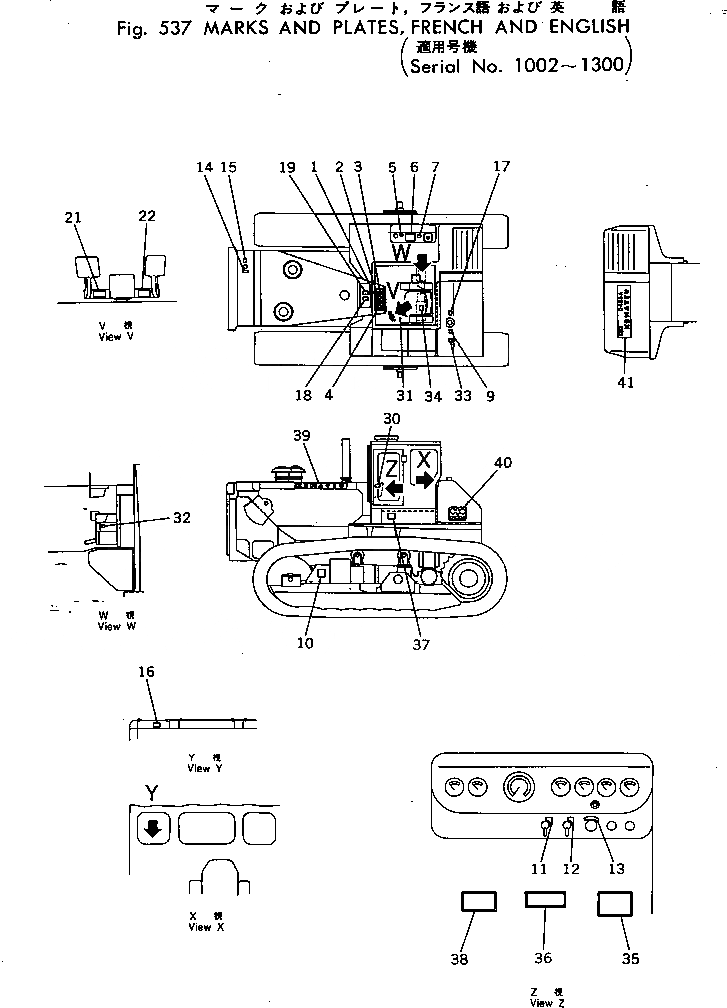
1

09651-05000

PLATE, SAFETY,BEFORE OPERATING MACHINE

SN: 1002-1300

1шт.

2

09654-05000

PLATE, SAFETY,STARTING AND PARKING

SN: 1002-1300

1шт.

3

09173-05000

PLATE, SAFETY,MAINTENANCE

SN: 1002-1300

1шт.

4

198-98-16210

PLATE, CAUTION,SPIN TURN

SN: 1002-1300

1шт.

5

09653-05000

PLATE, SAFETY,HYDRAULIC TANK

SN: 1002-1300

1шт.

6

198-98-16220

CHART

SN: 1002-1300

1шт.

7

09655-51120

PLATE, INSTRUCTION,OIL FILTER

SN: 1002-1300

1шт.

9

09652-51100

PLATE, CAUTION,FUEL TANK

SN: 1002-1300

1шт.

10

09657-05000

PLATE, SAFETY,TRACK TENSION

SN: 1002-1300

1шт.

11

09679-02511

PLATE, OPERATING,LAMP SWITCH

SN: 1002-1300

1шт.

12

09679-02521

PLATE, OPERATING,LAMP SWITCH

SN: 1002-1300

1шт.

13

09683-51050

PLATE, OPERATING,STARTING SWITCH

SN: 1002-1300

1шт.

14

09650-50101

PLATE, INSTRUCTION,WATER LEVEL

SN: 1002-1300

1шт.

15

09668-05000

PLATE, SAFETY,RADIATOR

SN: 1002-1300

1шт.

16

175-79-54140

PLATE, OPERATING,PIN PULLER LEVER

SN: 1002-1300

1шт.

17

09101-05000

PLATE, CAUTION,FUEL

SN: 1002-1300

1шт.

18

09666-05000

PLATE, SAFETY,FIRE

SN: 1002-1300

1шт.

19

09667-05000

PLATE, SAFETY,ENGINE SIDE COVER

SN: 1002-1300

1шт.

21

198-98-16250

PLATE, OPERATING,SPIN TURN

SN: 1002-1300

1шт.

22

198-98-15260

PLATE, OPERATING,SPIN TURN

SN: 1002-1300

1шт.

30

198-98-16280

PLATE, CAUTION,SHUT OFF VALVE

SN: 1002-1300

1шт.

31

195-98-16310

PLATE, CAUTION,SEAT BELT

SN: 1002-1300

1шт.

32

09685-50116

PLATE, OPERATING,BRAKE LOCK LEVER

SN: 1002-1300

1шт.

33

09656-51080

PLATE, INSTRUCTION,FUEL STRAINER

SN: 1002-1300

1шт.

34

07843-50064

PLATE, CAUTION,BRAKE CYLINDER

SN: 1002-1300

1шт.

35

6715-81-1270

PLATE, CAUTION,COLD WEATHER OPERATION

SN: 1002-1300

1шт.

36

175-900-3630

PLATE, CAUTION,ON GRADE

SN: 1002-1300

1шт.

37

09602-51643

PLATE, NAME

SN: 1002-1300

1шт.

38

09649-20400

PLATE, INSTRUCTION,SHUT DOWN ENGINE

SN: 1002-1300

1шт.

39

09690-01120

PLATE, MARK

SN: 1002-1300

1шт.

40

09691-43455

PLATE, MARK,SMALL

SN: 1002-1300

1шт.

41

09692-44455

PLATE, MARK,LARGE

SN: 1002-1300

1шт.

Выбрано товаров: 32