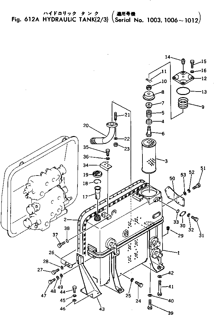
Запчасти Komatsu D455A-1 ГИДР. БАК. (/)(№-) УПРАВЛ-Е РАБОЧИМ ОБОРУДОВАНИЕМ

Схема запчастей Komatsu D455A-1 - ГИДР. БАК. (/)(№-) УПРАВЛ-Е РАБОЧИМ ОБОРУДОВАНИЕМ
FIT
1:1
100%

Артикул

Название

Примечание

Количество

|$0

198-60-11100

HYDRAULIC TANK ASS'Y

SN: 1009-1012

1шт.

|$1

198-60-11002

HYDRAULIC TANK ASS'Y

SN: 1006-1008

1шт.

|$2

198-60-11001

HYDRAULIC TANK ASS'Y

SN: 1003-1003

1шт.

1

198-60-15111

TANK

SN: 1004-@

1шт.

1

198-60-15110

TANK

SN: 1003-1003

1шт.

2

198-60-15140

GASKET

SN: 1002-@

1шт.

3

178-61-14160

ELEMENT

SN: 1002-@

1шт.

4

195-60-16350

SEAT

SN: 1002-1012

1шт.

5

195-60-16360

SPRING

SN: 1002-1012

1шт.

6

195-60-16340

PIN

SN: 1002-1012

1шт.

7

195-60-16370

VALVE

SN: 1002-1012

1шт.

8

195-60-16231

SEAT

SN: 1002-1012

1шт.

9

195-60-16330

SPRING

SN: 1002-1012

1шт.

10

01590-01012

NUT

SN: 1002-1012

1шт.

11

04050-02018

PIN

SN: 1002-1012

1шт.

12

198-60-15160

COVER

SN: 1002-@

1шт.

13

07000-25175

O-RING

SN: 1002-1012

1шт.

14

07042-20108

PLUG

SN: 1002-@

1шт.

15

01010-51235

BOLT

SN: 1002-@

4шт.

16

01602-21236

WASHER

SN: 1002-@

4шт.

17

07056-10045

STRAINER

SN: 1006-@

1шт.

17

07056-16415

STRAINER

SN: 1002-1003

1шт.

18

07057-03266

RING

SN: 1002-1003

1шт.

19

07092-00000

CAP

SN: 1009-@

1шт.

19

07051-00000

CAP

SN: 1006-1008

1шт.

19

198-60-15150

CAP

SN: 1002-1003

1шт.

20

198-60-15230

BAFFLE

SN: 1006-@

2шт.

20

198-60-15230

BAFFLE

SN: 1003-1003

1шт.

21

01124-51440

STUD

SN: 1006-@

2шт.

21

01124-51440

STUD

SN: 1003-1003

2шт.

22

01602-21442

WASHER

SN: 1003-@

2шт.

23

01580-11411

NUT

SN: 1006-@

2шт.

23

01580-11411

NUT

SN: 1003-1003

2шт.

24

01010-51225

BOLT

SN: 1003-@

5шт.

25

01602-21236

WASHER

SN: 1003-@

5шт.

26

198-60-15250

COVER

SN: 1003-@

1шт.

27

01010-51025

BOLT

SN: 1003-@

6шт.

28

01602-21030

WASHER

SN: 1003-@

6шт.

29

07043-00211

PLUG

SN: 1003-@

1шт.

30

198-60-15770

COVER

SN: 1003-@

1шт.

31

01010-51025

BOLT

SN: 1003-@

2шт.

32

01602-21030

WASHER

SN: 1003-@

2шт.

33

07000-23025

O-RING

SN: 1002-1012

1шт.

34

198-60-15320

COVER

SN: 1003-@

2шт.

35

01010-51020

BOLT

SN: 1003-@

4шт.

36

01602-21030

WASHER

SN: 1003-@

4шт.

37

07060-01230

BOLT

SN: 1003-@

6шт.

38

07002-01223

O-RING

SN: 1003-1012

6шт.

39

01010-52090

BOLT

SN: 1003-1003

4шт.

40

01643-32060

WASHER

SN: 1003-1003

4шт.

41

01011-52030

BOLT

SN: 1003-1003

2шт.

42

01643-32060

WASHER

SN: 1003-1003

2шт.

43

198-54-14410

BRACKET

SN: 1003-1003

1шт.

44

01010-51245

BOLT

SN: 1003-1003

4шт.

45

01602-21236

WASHER

SN: 1003-1003

4шт.

46

01640-21223

WASHER

SN: 1003-1003

4шт.

47

01010-51235

BOLT

SN: 1003-1003

4шт.

48

01602-21236

WASHER

SN: 1003-1003

4шт.

49

01640-21223

WASHER

SN: 1003-1003

4шт.

50

198-60-15280

BRACKET

SN: 1003-1003

1шт.

51

01010-51235

BOLT

SN: 1003-1003

7шт.

52

01602-21236

WASHER

SN: 1003-1003

7шт.

53

01640-21223

WASHER

SN: 1003-1003

7шт.

Выбрано товаров: 63