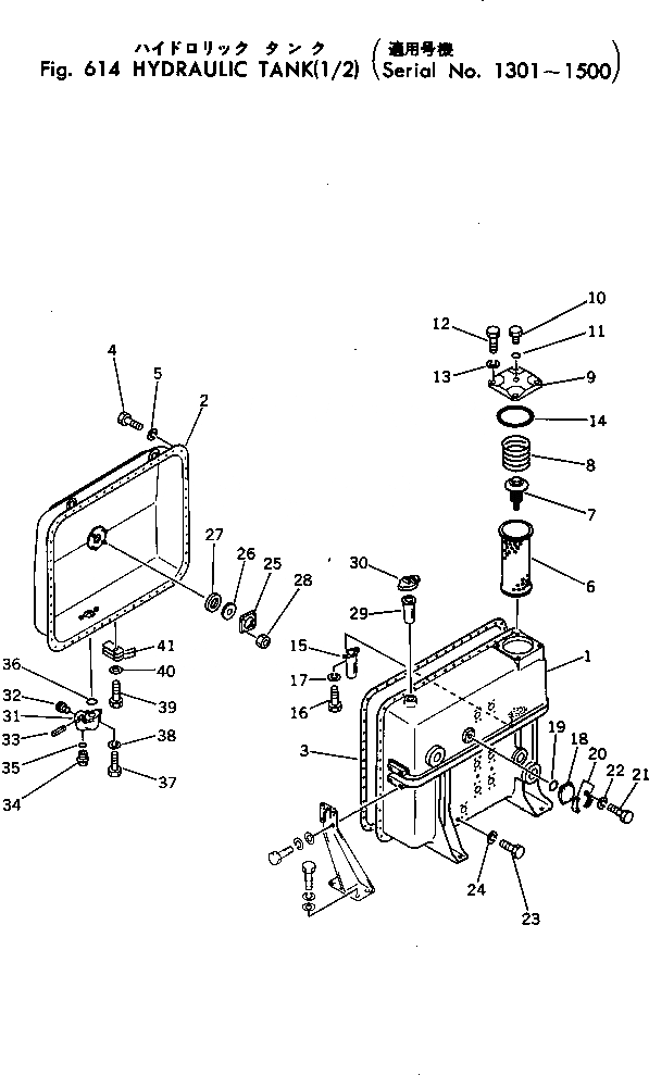
Запчасти Komatsu D455A-1 ГИДР. БАК. (/)(№-) УПРАВЛ-Е РАБОЧИМ ОБОРУДОВАНИЕМ

Схема запчастей Komatsu D455A-1 - ГИДР. БАК. (/)(№-) УПРАВЛ-Е РАБОЧИМ ОБОРУДОВАНИЕМ
FIT
1:1
100%

Артикул

Название

Примечание

Количество

|$0

198-60-13000

HYDRAULIC TANK ASS'Y

SN: 1301-1500

1шт.

1

198-60-15112

TANK

SN: 1301-1500

1шт.

2

198-60-15132

TANK

SN: 1301-@

1шт.

3

198-60-15140

GASKET

SN: 1301-@

1шт.

4

01010-51025

BOLT

SN: 1301-@

60шт.

5

01602-21030

WASHER

SN: 1301-@

60шт.

6

195-60-16320

ELEMENT

SN: 1301-@

1шт.

7

195-60-16300

VALVE ASS'Y

SN: 1301-@

1шт.

8

195-60-16330

SPRING

SN: 1301-@

1шт.

9

195-60-16242

COVER

SN: 1301-@

1шт.

10

154-60-12260

PLUG

SN: 1301-@

1шт.

11

07000-02010

O-RING

SN: 1301-@

1шт.

12

01010-51235

BOLT

SN: 1301-@

4шт.

13

01602-21236

WASHER

SN: 1301-@

4шт.

14

07000-05175

O-RING

SN: 1301-@

1шт.

15

198-60-15241

TUBE

SN: 1301-1500

1шт.

16

01010-31435

BOLT

SN: 1301-1500

2шт.

17

01602-21442

WASHER

SN: 1301-1500

2шт.

18

07378-12000

HEAD

SN: 1301-@

1шт.

19

07000-22060

O-RING

SN: 1301-@

1шт.

20

07371-02076

FLANGE

SN: 1301-@

2шт.

21

07372-21240

BOLT

SN: 1301-@

4шт.

22

01602-21236

WASHER

SN: 1301-@

4шт.

23

01010-51225

BOLT

SN: 1301-@

5шт.

24

01602-21236

WASHER

SN: 1301-@

5шт.

25

07715-21074

CASE

SN: 1301-@

1шт.

26

07715-00651

COVER

SN: 1301-@

1шт.

27

07715-11257

RING

SN: 1301-@

1шт.

28

01598-11011

NUT

SN: 1301-@

4шт.

29

07056-10045

STRAINER

SN: 1301-@

1шт.

30

07092-00000

CAP

SN: 1301-@

1шт.

31

198-60-19800

VALVE ASS'Y

SN: 1301-1500

1шт.

32

198-60-19810

BODY

SN: 1301-1500

1шт.

33

04025-00540

PIN

SN: 1301-1500

1шт.

34

07044-03620

PLUG

SN: 1301-1500

1шт.

35

07002-03634

O-RING

SN: 1301-1500

1шт.

36

07000-03030

O-RING

SN: 1301-1500

1шт.

37

01010-31030

BOLT

SN: 1301-1500

2шт.

38

01602-31030

WASHER

SN: 1301-1500

2шт.

39

01010-52065

BOLT

SN: 1301-1500

1шт.

40

01643-32060

WASHER

SN: 1301-1500

1шт.

41

198-60-12180

SHIM

SN: 1301-1500

4шт.

Выбрано товаров: 42