Запчасти Komatsu D455A-1 ДВИГАТЕЛЬ ОБОГРЕВАТЕЛЬ.(№-) КОМПОНЕНТЫ ДВИГАТЕЛЯ И ЭЛЕКТРИКА

Схема запчастей Komatsu D455A-1 - ДВИГАТЕЛЬ ОБОГРЕВАТЕЛЬ.(№-) КОМПОНЕНТЫ ДВИГАТЕЛЯ И ЭЛЕКТРИКА
FIT
1:1
100%

Артикул

Название

Примечание

Количество

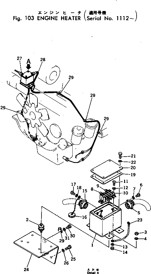
1

175-06-37822

BOX

SN: 1401-UP

1шт.

1

175-06-37821

BOX

SN: 1112-1400

1шт.

2

154-06-13910

ISOLATOR

SN: 1112-UP

4шт.

3

01582-01008

NUT

SN: 1112-UP

4шт.

4

01602-01030

WASHER

SN: 1112-UP

4шт.

5

198-06-13530

WIRE ASS'Y

SN: 1112-UP

1шт.

6

01220-30312

SCREW

SN: 1112-UP

4шт.

7

01601-00307

WASHER

SN: 1112-UP

4шт.

8

198-06-13560

WIRE

SN: 1112-UP

1шт.

9

198-06-13570

WIRE

SN: 1112-UP

1шт.

10

175-06-37850

TERMINAL

SN: 1112-UP

1шт.

11

01220-30616

SCREW

SN: 1112-UP

2шт.

12

01602-00619

WASHER

SN: 1112-UP

2шт.

13

01641-00608

WASHER

SN: 1112-UP

2шт.

14

01580-00605

NUT

SN: 1112-UP

2шт.

15

198-06-13540

WIRE ASS'Y

SN: 1112-UP

1шт.

16

175-06-39830

CAP

SN: 1112-UP

1шт.

17

01220-30312

SCREW

SN: 1112-UP

4шт.

18

01601-00307

WASHER

SN: 1112-UP

4шт.

19

175-06-37842

SEAT

SN: 1401-UP

1шт.

19

175-06-37841

SEAT

SN: 1112-1400

1шт.

20

175-06-37831

PLATE

SN: 1401-UP

1шт.

20

175-06-37830

PLATE

SN: 1112-1400

1шт.

21

01010-30820

BOLT

SN: 1112-UP

4шт.

22

01602-00825

WASHER

SN: 1112-UP

4шт.

23

198-06-13550

WIRE

SN: 1112-UP

1шт.

24

195-06-21160

BRACKET

SN: 1112-UP

1шт.

25

01010-31020

BOLT

SN: 1112-UP

4шт.

26

01602-01030

WASHER

SN: 1112-UP

4шт.

27

175-06-37871

PLUG

SN: 1112-UP

1шт.

28

198-06-13720

WIRE ASS'Y

SN: 1112-UP

1шт.

29

08035-01510

CLIP

SN: 1112-UP

6шт.

30

01010-31020

BOLT

SN: 1112-UP

2шт.

31

01602-01030

WASHER

SN: 1112-UP

2шт.

Выбрано товаров: 34