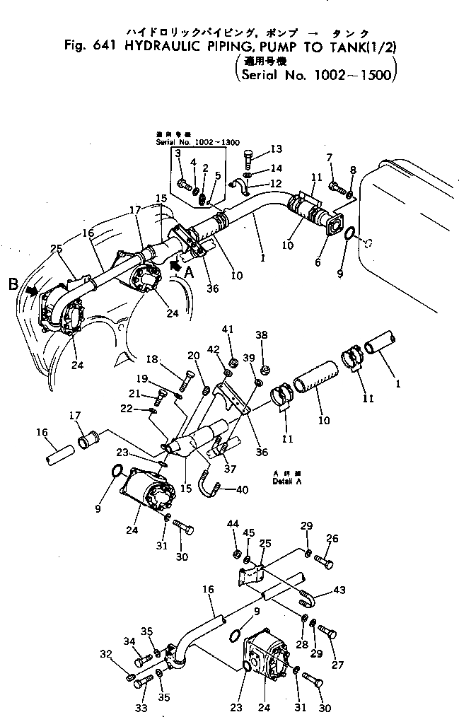
Запчасти Komatsu D455A-1 ГИДРОЛИНИЯ¤ НАСОС - БАК (/)(№-) УПРАВЛ-Е РАБОЧИМ ОБОРУДОВАНИЕМ

Схема запчастей Komatsu D455A-1 - ГИДРОЛИНИЯ¤ НАСОС - БАК (/)(№-) УПРАВЛ-Е РАБОЧИМ ОБОРУДОВАНИЕМ
FIT
1:1
100%

Артикул

Название

Примечание

Количество

1

198-60-19132

TUBE

SN: 1301-1500

1шт.

1

198-60-19131

TUBE

SN: 1002-1300

1шт.

2

198-49-15180

FLANGE

SN: 1002-1300

1шт.

3

01010-31030

BOLT

SN: 1002-1300

2шт.

4

01602-01030

WASHER

SN: 1002-1300

2шт.

5

07000-03028

O-RING

SN: 1002-1300

1шт.

6

198-60-19120

TUBE

SN: 1002-1500

1шт.

7

01010-31240

BOLT

SN: 1002-1500

4шт.

8

01602-01236

WASHER

SN: 1002-1500

4шт.

9

07000-12095

O-RING

SN: 1002-1500

3шт.

10

07260-28728

HOSE

SN: 1002-1500

2шт.

11

07281-01159

CLAMP

SN: 1013-1500

8шт.

11

0

CLAMP

SN: 1007-1012

8шт.

12

198-60-19230

CLAMP

SN: 1002-1500

1шт.

13

01010-31225

BOLT

SN: 1002-1500

2шт.

14

01602-01236

WASHER

SN: 1002-1500

2шт.

15

198-60-19140

ELBOW

SN: 1002-1500

1шт.

16

198-60-19160

TUBE

SN: 1002-1500

1шт.

17

07332-02000

COUPLING

SN: 1002-1500

1шт.

17

07332-52000

GASKET

SN: 1002-1500

2шт.

17

07332-62000

CLAMP

SN: 1002-1500

2шт.

18

01011-31215

BOLT

SN: 1002-1500

2шт.

19

01602-01236

WASHER

SN: 1002-1500

2шт.

20

07042-10108

PLUG

SN: 1375-1500

1шт.

20

0

PLUG

SN: 1002-1374

1шт.

21

01010-31245

BOLT

SN: 1002-1500

2шт.

22

01602-01236

WASHER

SN: 1002-1500

2шт.

23

07000-12070

O-RING

SN: 1002-1500

2шт.

24

07443-67601

PUMP ASS'Y

SN: 1002-1500

2шт.

25

198-60-19170

BRACKET

SN: 1002-1500

1шт.

26

01010-31225

BOLT

SN: 1002-1500

1шт.

27

01010-31250

BOLT

SN: 1301-1500

1шт.

27

01010-31225

BOLT

SN: 1002-1300

1шт.

28

195-33-11220

SPACER

SN: 1301-1500

1шт.

29

01602-01236

WASHER

SN: 1002-1500

2шт.

30

01010-31460

BOLT

SN: 1002-1500

8шт.

31

01602-01442

WASHER

SN: 1002-1500

8шт.

32

07042-10108

PLUG

SN: 1375-1500

1шт.

32

0

PLUG

SN: 1002-1374

1шт.

33

01010-31295

BOLT

SN: 1002-1500

2шт.

34

01010-31245

BOLT

SN: 1002-1500

2шт.

35

01602-01236

WASHER

SN: 1002-1500

4шт.

36

198-60-19251

PLATE

SN: 1011-1500

1шт.

36

198-60-19250

PLATE

SN: 1002-1010

1шт.

37

07283-34949

CLIP

SN: 1393-1500

1шт.

37

0

CLIP

SN: 1002-1392

1шт.

38

01599-01011

NUT

SN: 1002-1500

1шт.

39

01643-31032

WASHER

SN: 1002-1500

1шт.

40

07283-21079

CLIP

SN: 1002-1500

1шт.

41

01599-01214

NUT

SN: 1002-1500

2шт.

42

01643-31232

WASHER

SN: 1002-1500

2шт.

43

07283-26155

CLIP

SN: 1002-1500

1шт.

44

01599-01011

NUT

SN: 1002-1500

2шт.

45

01643-31032

WASHER

SN: 1002-1500

2шт.

Выбрано товаров: 54