Запчасти Komatsu D455A-1 ОТВАЛ(№-) РАБОЧЕЕ ОБОРУДОВАНИЕ

Схема запчастей Komatsu D455A-1 - ОТВАЛ(№-) РАБОЧЕЕ ОБОРУДОВАНИЕ
FIT
1:1
100%

Артикул

Название

Примечание

Количество

|$0

198-71-00012

BLADE ASS'Y

SN: 1007-1300

1шт.

|$1

198-71-00011

BLADE ASS'Y

SN: 1004-1006

1шт.

|$2

0

BLADE ASS'Y

SN: 1002-1003

1шт.

|$3

198-71-00161

BLADE ASS'Y,REINFORCED TYPE

SN: 1004-1300

1шт.

|$4

198-71-00160

BLADE ASS'Y,REINFORCED TYPE

SN: 1002-1003

1шт.

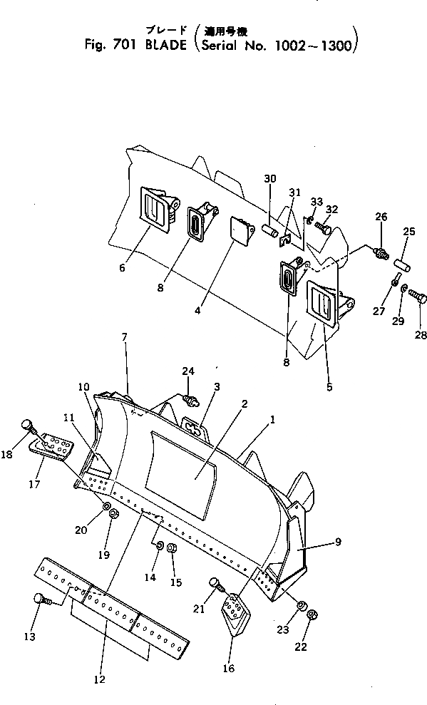
1

0

BLADE

SN: 1007-@

1шт.

1

0

BLADE

SN: 1002-1006

1шт.

1

0

BLADE,REINFORCED TYPE

SN: 1002-@

1шт.

2

198-937-1120

PLATE (WELDED)

SN: 1002-@

1шт.

3

175-71-22370

MARK (WELDED)

SN: 1002-1012

1шт.

4

198-71-11220

BRACKET (WELDED)

SN: 1002-@

1шт.

5

198-71-11130

BRACKET,L.H. (WELDED)

SN: 1002-@

1шт.

6

198-71-11120

BRACKET,R.H. (WELDED)

SN: 1002-@

1шт.

7

198-71-13150

PIVOT (WELDED)

SN: 1013-1300

2шт.

7

198-71-11150

PIVOT (WELDED)

SN: 1002-1012

2шт.

8

198-71-11140

BRACKET (WELDED)

SN: 1002-1300

2шт.

9

198-71-13160

PLATE (WELDED)

SN: 1013-1300

1шт.

10

198-71-13170

PLATE (WELDED)

SN: 1013-1300

1шт.

11

198-72-11150

PLATE (WELDED)

SN: 1013-1300

2шт.

12

198-71-11181

EDGE,CUTTING

SN: 1004-@

3шт.

12

0

EDGE,CUTTING

SN: 1002-1003

3шт.

13

02091-12010

BOLT

SN: 1002-@

24шт.

14

198-71-11230

WASHER

SN: 1004-@

24шт.

14

0

WASHER

SN: 1002-1003

24шт.

15

02290-12031

NUT

SN: 1002-@

24шт.

16

198-71-11171

BIT, END,L.H.

SN: 1004-@

1шт.

16

0

BIT, END,L.H.

SN: 1002-1003

1шт.

17

198-71-11161

BIT, END,R.H.

SN: 1004-@

1шт.

17

0

BIT, END,R.H.

SN: 1002-1003

1шт.

18

02091-12020

BOLT

SN: 1002-@

8шт.

19

02290-12031

NUT

SN: 1002-@

8шт.

20

198-71-11230

WASHER

SN: 1004-@

8шт.

20

0

WASHER

SN: 1002-1003

8шт.

21

02091-12045

BOLT

SN: 1002-@

8шт.

22

02290-12031

NUT

SN: 1002-@

8шт.

23

198-71-11190

BOSS

SN: 1002-@

8шт.

24

07020-00000

FITTING

SN: 1002-@

2шт.

25

198-71-11210

PIN

SN: 1002-@

2шт.

26

07020-00000

FITTING

SN: 1002-@

2шт.

27

195-71-11520

PIN

SN: 1002-@

2шт.

28

01010-31445

BOLT

SN: 1002-@

2шт.

29

01602-01442

WASHER

SN: 1002-@

2шт.

30

09255-04205

PIN

SN: 1002-@

1шт.

31

09257-07009

LOCK

SN: 1002-@

1шт.

32

01010-31435

BOLT

SN: 1002-@

4шт.

33

01602-01442

WASHER

SN: 1002-@

4шт.

Выбрано товаров: 46