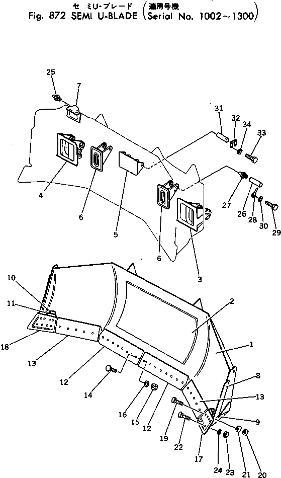
Запчасти Komatsu D455A-1 ПОЛУСФЕРИЧ. ОТВАЛ(№-) РАБОЧЕЕ ОБОРУДОВАНИЕ

Схема запчастей Komatsu D455A-1 - ПОЛУСФЕРИЧ. ОТВАЛ(№-) РАБОЧЕЕ ОБОРУДОВАНИЕ
FIT
1:1
100%

Артикул

Название

Примечание

Количество

|$0

198-72-00020

SEMI U-DOZER ASS'Y

SN: 1002-1300

1шт.

1

0

BLADE

SN: 1002-@

1шт.

2

198-72-12510

PLATE (WELDED)

SN: 1002-@

1шт.

3

198-71-11130

BRACKET,L.H. (WELDED)

SN: 1002-@

1шт.

4

198-71-11120

BRACKET,R.H. (WELDED)

SN: 1002-@

1шт.

5

198-71-11220

BRACKET (WELDED)

SN: 1002-@

1шт.

6

198-71-11140

BRACKET (WELDED)

SN: 1002-1300

2шт.

7

198-71-11151

PIVOT (WELDED)

SN: 1002-1300

2шт.

8

198-72-11141

PLATE (WELDED)

SN: 1002-1300

2шт.

9

198-72-11130

PLATE,L.H. (WELDED)

SN: 1002-1300

1шт.

9

198-72-11120

PLATE,R.H. (WELDED)

SN: 1002-1300

1шт.

10

198-72-11190

PLATE (WELDED)

SN: 1002-@

2шт.

11

198-72-11150

PLATE (WELDED)

SN: 1002-1300

2шт.

12

198-71-11181

EDGE,CUTTING

SN: 1002-@

2шт.

13

198-72-11181

EDGE,CUTTING

SN: 1002-@

2шт.

14

02091-12010

BOLT

SN: 1002-@

26шт.

15

02290-12031

NUT

SN: 1002-@

26шт.

16

198-71-11230

WASHER

SN: 1002-@

26шт.

17

198-72-11170

BIT, END,L.H.

SN: 1002-@

1шт.

18

198-72-11160

BIT, END,R.H.

SN: 1002-@

1шт.

19

02091-12045

BOLT

SN: 1002-@

8шт.

20

02290-12031

NUT

SN: 1002-@

8шт.

21

198-71-11190

BOSS

SN: 1002-@

8шт.

22

02091-12020

BOLT

SN: 1002-@

8шт.

23

02290-12031

NUT

SN: 1002-@

8шт.

24

198-71-11230

WASHER

SN: 1002-@

8шт.

25

07020-00000

FITTING

SN: 1002-@

2шт.

26

198-71-11210

PIN

SN: 1002-@

2шт.

27

07020-00000

FITTING

SN: 1002-@

2шт.

28

195-71-11520

PIN

SN: 1002-@

2шт.

29

01010-31445

BOLT

SN: 1002-@

2шт.

30

01602-01442

WASHER

SN: 1002-@

2шт.

31

09255-04205

PIN

SN: 1002-@

1шт.

32

09257-07009

LOCK

SN: 1002-@

1шт.

33

01010-31435

BOLT

SN: 1002-@

4шт.

34

01602-01442

WASHER

SN: 1002-@

4шт.

Выбрано товаров: 36