Запчасти Komatsu D455A-1 ЭЛЕКТРИКА (/) КОМПОНЕНТЫ ДВИГАТЕЛЯ И ЭЛЕКТРИКА

Схема запчастей Komatsu D455A-1 - ЭЛЕКТРИКА (/) КОМПОНЕНТЫ ДВИГАТЕЛЯ И ЭЛЕКТРИКА
FIT
1:1
100%

Артикул

Название

Примечание

Количество

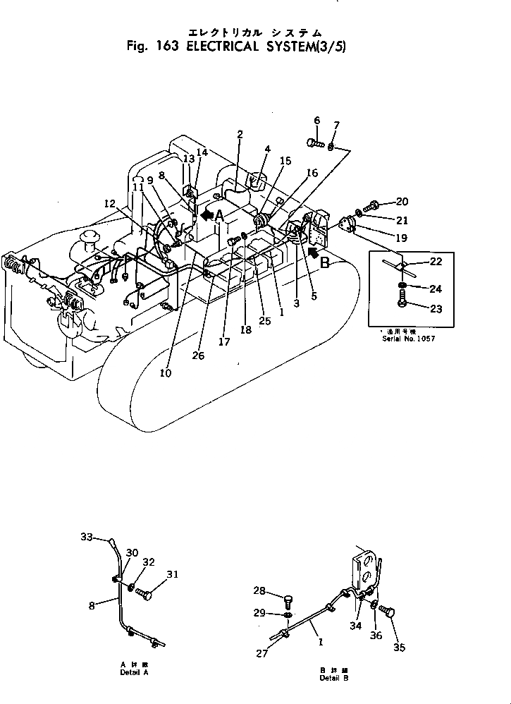
1

198-06-11242

WIRE ASS'Y

SN: 1301-UP

1шт.

1

198-06-11241

WIRE ASS'Y

SN: 1004-1300

1шт.

1

198-06-11240

WIRE ASS'Y

SN: 1002-1003

1шт.

2

198-06-11251

WIRE ASS'Y

SN: 1004-UP

1шт.

2

198-06-11250

WIRE ASS'Y

SN: 1002-1003

1шт.

3

198-06-11261

WIRE ASS'Y

SN: 1004-UP

1шт.

3

198-06-11260

WIRE ASS'Y

SN: 1002-1003

1шт.

4

195-06-16140

BRACKET,R.H.

SN: 1002-UP

1шт.

5

198-06-12341

BRACKET

SN: 1057-UP

1шт.

5

198-06-12340

BRACKET

SN: 1002-1056

1шт.

6

01010-31435

BOLT

SN: 1057-UP

3шт.

6

01010-31025

BOLT

SN: 1002-1056

3шт.

7

01602-01442

WASHER

SN: 1057-UP

3шт.

7

01602-01030

WASHER

SN: 1002-1056

3шт.

8

198-06-11580

WIRE

SN: 1002-UP

1шт.

9

08037-01008

GROMMET

SN: 1004-UP

2шт.

10

198-06-19112

WIRE

SN: 1301-UP

1шт.

10

198-06-19111

WIRE

SN: 1057-1300

1шт.

10

198-06-19110

WIRE

SN: 1004-1005

1шт.

11

08074-40000

SWITCH

SN: 1057-UP

1шт.

11

08074-10000

SWITCH

SN: 1004-1056

1шт.

12

01583-01811

NUT

SN: 1301-UP

1шт.

13

08064-10000

SWITCH

SN: 1006-UP

1шт.

14

140-06-18260

CAP

SN: 1301-UP

2шт.

14

195-06-19730

COVER

SN: 1006-1300

1шт.

15

175-06-35192

GAUGE UNIT,FUEL

SN: 1301-UP

1шт.

15

175-06-38180

GAUGE UNIT,FUEL

SN: 1008-1300

1шт.

16

07000-02085

O-RING

SN: 1008-UP

1шт.

17

01010-31025

BOLT

SN: 1008-UP

4шт.

18

01602-01030

WASHER

SN: 1008-UP

4шт.

19

175-06-39151

ALARM,BACK-UP (OP)

SN: 1008-UP

1шт.

20

01010-30816

BOLT

SN: 1008-UP

3шт.

21

01602-00825

WASHER

SN: 1008-UP

3шт.

22

08036-10810

CLIP

SN: 1057-UP

2шт.

23

01010-30812

BOLT

SN: 1057-UP

2шт.

24

01602-00825

WASHER

SN: 1057-UP

2шт.

25

198-06-13520

WIRE ASS'Y

SN: 1112-UP

1шт.

26

198-06-14140

WIRE

SN: 1112-UP

1шт.

27

08035-01512

CLIP

SN: 1112-UP

3шт.

28

01010-31220

BOLT

SN: 1112-UP

2шт.

29

01602-01236

WASHER

SN: 1112-UP

2шт.

30

08035-01510

CLIP

SN: 1112-UP

3шт.

31

01010-31020

BOLT

SN: 1112-UP

3шт.

32

01602-01030

WASHER

SN: 1112-UP

3шт.

33

08038-10518

CAP

SN: 1112-UP

1шт.

34

08035-01510

CLIP

SN: 1112-UP

2шт.

35

01010-31020

BOLT

SN: 1112-UP

2шт.

36

01602-01030

WASHER

SN: 1112-UP

2шт.

Выбрано товаров: 0