Запчасти Komatsu D455A-1 ЛИНИИ МАСЛООХЛАДИТЕЛЯ (/)(№-) КОМПОНЕНТЫ ДВИГАТЕЛЯ И ЭЛЕКТРИКА

Схема запчастей Komatsu D455A-1 - ЛИНИИ МАСЛООХЛАДИТЕЛЯ (/)(№-) КОМПОНЕНТЫ ДВИГАТЕЛЯ И ЭЛЕКТРИКА
FIT
1:1
100%

Артикул

Название

Примечание

Количество

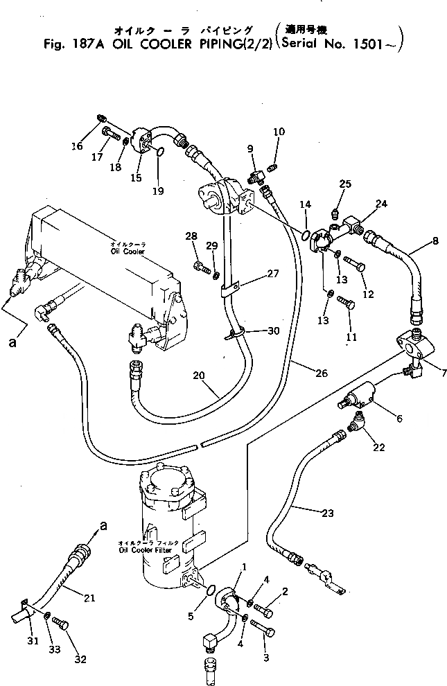
1

198-03-15871

TUBE

SN: 1501-UP

1шт.

2

01010-31040

BOLT

SN: 1301-UP

2шт.

3

01010-31055

BOLT

SN: 1301-UP

2шт.

4

01643-31032

WASHER

SN: 1501-UP

4шт.

5

07000-13035

O-RING

SN: 1301-UP

1шт.

6

198-03-15610

RELIEF VALVE

SN: 1301-UP

1шт.

7

198-03-15892

TUBE

SN: 1501-UP

1шт.

8

07108-20604

HOSE

SN: 1501-UP

1шт.

9

198-03-15810

ELBOW

SN: 1301-UP

1шт.

10

07042-30108

PLUG

SN: 1301-UP

1шт.

11

01010-30840

BOLT

SN: 1301-UP

2шт.

12

01010-30855

BOLT

SN: 1301-UP

2шт.

13

01643-30823

WASHER

SN: 1501-UP

4шт.

14

07000-13030

O-RING

SN: 1301-UP

1шт.

15

198-03-15630

TUBE

SN: 1301-UP

1шт.

16

07042-30108

PLUG

SN: 1301-UP

1шт.

17

01010-31070

BOLT

SN: 1301-UP

4шт.

18

01643-31032

WASHER

SN: 1501-UP

4шт.

19

07000-03038

O-RING

SN: 1301-UP

1шт.

20

07102-20616

HOSE

SN: 1301-UP

1шт.

21

07102-20620

HOSE

SN: 1301-UP

1шт.

22

198-03-16630

ELBOW

SN: 1501-UP

1шт.

23

07102-20306

HOSE

SN: 1301-UP

1шт.

24

198-03-15910

TUBE

SN: 1301-UP

1шт.

25

07042-30108

PLUG

SN: 1301-UP

1шт.

26

07102-20330

HOSE

SN: 1301-UP

1шт.

27

198-03-16640

CLIP

SN: 1501-UP

1шт.

28

01010-31220

BOLT

SN: 1501-UP

1шт.

29

01643-31232

WASHER

SN: 1501-UP

1шт.

30

08034-00823

BAND

SN: 1380-UP

1шт.

31

113-899-7950

CLIP

SN: 1501-UP

3шт.

32

01010-31220

BOLT

SN: 1501-UP

1шт.

33

01643-31232

WASHER

SN: 1501-UP

1шт.

Выбрано товаров: 33