Запчасти Komatsu D45A-1 ОТВАЛ С ИЗМ. УГЛОМ ПОВОРОТА РАБОЧЕЕ ОБОРУДОВАНИЕ

Схема запчастей Komatsu D45A-1 - ОТВАЛ С ИЗМ. УГЛОМ ПОВОРОТА РАБОЧЕЕ ОБОРУДОВАНИЕ
FIT
1:1
100%

Артикул

Название

Примечание

Количество

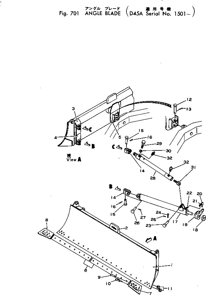
1

124-70-31110

BLADE

SN: 1801-UP

1шт.

1

0

BLADE

SN: 1501-1800

1шт.

2

09695-10180

PLATE, MARK (WELDED)

SN: 1501-1800

1шт.

3

12F-Z26-1160

BRACKET,L.H. (WELDED)

SN: 1801-UP

1шт.

3

124-70-21120

BRACKET,L.H. (WELDED)

SN: 1501-1800

1шт.

3

12F-Z26-1170

BRACKET,R.H. (WELDED)

SN: 1801-UP

1шт.

3

124-70-21130

BRACKET,R.H. (WELDED)

SN: 1501-1800

1шт.

4

124-70-21140

BRACKET,L.H. (WELDED)

SN: 1501-UP

1шт.

4

124-70-21150

BRACKET,R.H. (WELDED)

SN: 1501-UP

1шт.

5

12F-Z26-1120

BRACKET,CENTER (WELDED)

SN: 1801-UP

1шт.

5

0

BRACKET,CENTER (WELDED)

SN: 1501-1800

1шт.

6

12F-70-11640

EDGE

SN: 1501-UP

2шт.

7

124-70-21330

BIT,L.H.

SN: 2682-UP

1шт.

7

0

BIT,L.H.

SN: 1501-2681

1шт.

8

124-70-21340

BIT,R.H.

SN: 2682-UP

1шт.

8

0

BIT,R.H.

SN: 1501-2681

1шт.

9

02090-11085

BOLT

SN: 1501-UP

4шт.

10

02090-11060

BOLT

SN: 1501-UP

22шт.

11

02290-11016

NUT

SN: 1501-UP

26шт.

12

120-70-21210

PIN

SN: 1501-UP

1шт.

13

04050-08070

PIN

SN: 1501-UP

1шт.

14

112-70-11221

JOINT

SN: 1501-UP

4шт.

15

112-70-11190

PIN

SN: 1501-UP

4шт.

16

04050-06050

PIN

SN: 1501-UP

4шт.

17

120-70-22110

ARM

SN: 1501-UP

2шт.

18

120-70-22140

COLLAR

SN: 1501-UP

1шт.

19

130-70-12180

PIN

SN: 1501-UP

1шт.

20

130-70-12190

PIN

SN: 1501-UP

1шт.

21

09245-50060

HOOK

SN: 1501-UP

2шт.

22

09245-04830

CHAIN

SN: 1501-UP

1шт.

23

130-70-12221

PIN

SN: 1501-UP

2шт.

24

130-70-12231

PIN

SN: 1501-UP

2шт.

25

04050-05030

PIN

SN: 1501-UP

2шт.

26

112-70-11210

PIN

SN: 1501-UP

2шт.

27

04050-06050

PIN

SN: 1501-UP

2шт.

|$35

124-70-00020

BRACE ASS'Y

SN: 1501-UP

2шт.

28

124-70-21320

BRACE

SN: 1501-UP

1шт.

29

130-70-52110

SCREW

SN: 1501-UP

1шт.

30

01602-01442

WASHER

SN: 1501-UP

1шт.

31

124-70-21310

SCREW

SN: 1501-UP

1шт.

32

07020-00000

FITTING

SN: 1501-UP

2шт.

Выбрано товаров: 41