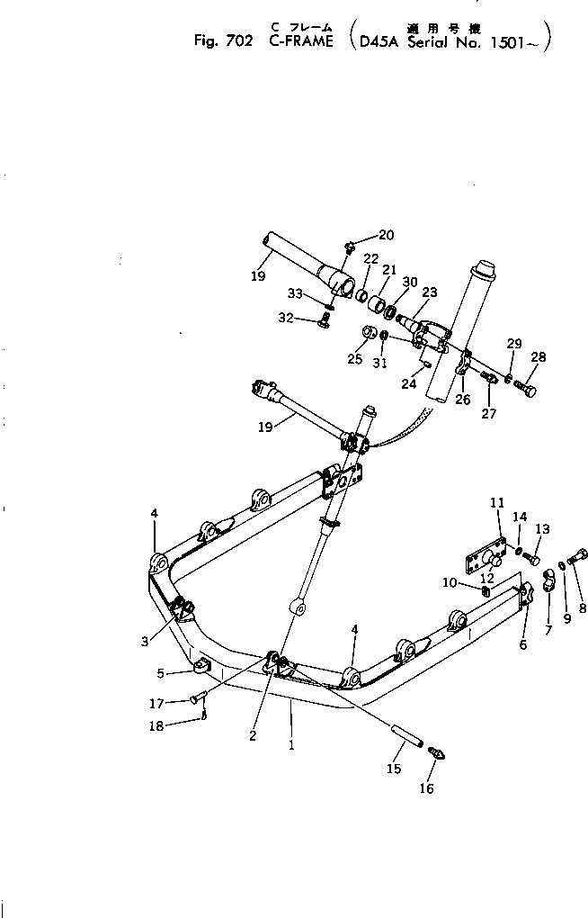
Запчасти Komatsu D45A-1 С-ОБРАЗН. РАМА РАБОЧЕЕ ОБОРУДОВАНИЕ

Схема запчастей Komatsu D45A-1 - С-ОБРАЗН. РАМА РАБОЧЕЕ ОБОРУДОВАНИЕ
FIT
1:1
100%

Артикул

Название

Примечание

Количество

|$0

124-70-00041

C-FRAME ASS'Y

SN: 1801-UP

1шт.

|$1

0

C-FRAME ASS'Y

SN: 1501-1800

1шт.

1

124-70-31210

C-FRAME

SN: 1801-UP

1шт.

1

0

C-FRAME

SN: 1501-1800

1шт.

2

124-70-21230

BRACKET,L.H. (WELDED)

SN: 1501-UP

1шт.

3

124-70-21240

BRACKET,R.H. (WELDED)

SN: 1501-UP

1шт.

4

120-70-23210

BRACKET (WELDED)

SN: 1501-UP

6шт.

5

120-70-23250

SHAFT (WELDED)

SN: 1501-UP

1шт.

|$8

130-70-00072

PIVOT ASS'Y

SN: 1501-UP

2шт.

6

130-70-12140

PIVOT (WELDED)

SN: 1501-UP

1шт.

7

130-70-13231

CAP

SN: 1501-UP

1шт.

8

01011-62445

BOLT

SN: 1501-UP

2шт.

9

01643-32460

WASHER

SN: 1501-UP

2шт.

10

130-70-13241

NUT

SN: 1501-UP

2шт.

11

124-70-21260

TRUNNION

SN: 1501-UP

2шт.

12

124-70-21270

SHAFT (WELDED)

SN: 1501-UP

1шт.

13

01010-32045

BOLT

SN: 1501-UP

16шт.

14

01643-32060

WASHER

SN: 1501-UP

16шт.

15

124-817-1250

SHAFT

SN: 1501-UP

2шт.

16

07020-00000

FITTING

SN: 1501-UP

2шт.

17

130-70-51190

PIN

SN: 1501-UP

2шт.

18

04050-03015

PIN

SN: 1501-UP

2шт.

|$22

124-70-00051

CYLINDER STAY ASS'Y

SN: .-UP

1шт.

|$23

0

CYLINDER STAY ASS'Y

SN: 1501-.

1шт.

19

124-70-21211

STAY

SN: .-UP

1шт.

19

124-70-21210

STAY

SN: 1501-.

1шт.

20

07020-00000

FITTING

SN: 1501-UP

2шт.

21

124-817-1560

BUSHING

SN: 1501-UP

2шт.

22

124-817-1570

BUSHING

SN: 1501-UP

2шт.

|$29

124-70-00060

YOKE ASS'Y

SN: 1501-UP

2шт.

23

12F-70-11590

YOKE

SN: 1501-UP

1шт.

24

144-70-15251

PIN

SN: 1501-UP

2шт.

25

12F-70-11550

BUSHING

SN: 1501-UP

2шт.

26

12F-70-11540

CAP

SN: 1501-UP

2шт.

27

07020-00000

FITTING

SN: 1501-UP

2шт.

28

01010-31255

BOLT

SN: 1501-UP

4шт.

29

01602-01236

WASHER

SN: 1501-UP

4шт.

30

07145-00080

SEAL

SN: 1501-UP

2шт.

31

07145-00040

SEAL

SN: 1501-UP

4шт.

32

01010-32055

BOLT

SN: 1501-UP

4шт.

33

01643-32060

WASHER

SN: 1501-UP

4шт.

Выбрано товаров: 41