Запчасти Komatsu D45A-1 ЭЛЕКТРИКА (ДЛЯ КАБИНА ROPS) ОПЦИОННЫЕ КОМПОНЕНТЫ

Схема запчастей Komatsu D45A-1 - ЭЛЕКТРИКА (ДЛЯ КАБИНА ROPS) ОПЦИОННЫЕ КОМПОНЕНТЫ
FIT
1:1
100%

Артикул

Название

Примечание

Количество

|$0

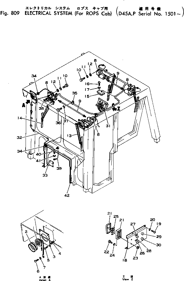
135-Z79-1731

HEAD LAMP ASS'Y

SN: 1501-UP

2шт.

1

144-06-13311

LAMP

SN: 1501-UP

1шт.

1

08113-02480

BULB, 80W

SN: 1501-UP

1шт.

2

144-06-13330

HOLDER

SN: 1501-UP

1шт.

3

135-Z79-1741

BRACKET

SN: 1501-UP

1шт.

4

144-06-13150

SPRING

SN: 1501-UP

4шт.

5

131-06-43230

SCREW

SN: 1501-UP

4шт.

6

01220-40408

SCREW

SN: 1501-UP

1шт.

7

01601-00410

WASHER

SN: 1501-UP

1шт.

|$9

135-Z79-2111

WIPER MOTOR ASS'Y,FRONT

SN: 1501-UP

1шт.

|$10

135-Z79-2120

WIPER MOTOR ASS'Y,REAR

SN: 1501-UP

1шт.

8

135-Z79-2140

WIPER,FRONT, L.H. AND REAR, R.H.

SN: 1501-UP

1шт.

8

135-Z79-2130

WIPER,FRONT, R.H. AND REAR, L.H.

SN: 1501-UP

1шт.

9

135-Z79-2151

CABLE,FRONT

SN: 1501-UP

1шт.

9

135-Z79-2160

CABLE,REAR

SN: 1501-UP

1шт.

10

01010-30616

BOLT

SN: 1501-UP

12шт.

11

01602-00619

WASHER

SN: 1501-UP

12шт.

12

01642-20608

WASHER

SN: 1501-UP

12шт.

13

08184-10500

ARM,WIPER, FRONT

SN: 1501-UP

2шт.

13

08184-10450

ARM,WIPER, REAR

SN: 1501-UP

2шт.

14

08185-00400

BLADE,WIPER

SN: 1501-UP

4шт.

15

08142-22400

LAMP,REAR

SN: 1501-UP

1шт.

16

01220-40616

SCREW

SN: 1501-UP

2шт.

17

01602-00619

WASHER

SN: 1501-UP

2шт.

18

135-Z79-1751

PANEL

SN: 1501-UP

1шт.

19

01220-40616

SCREW

SN: 1501-UP

4шт.

20

01602-00619

WASHER

SN: 1501-UP

4шт.

21

125-06-21110

BOX,FUSE

SN: 1501-UP

1шт.

22

01220-40520

SCREW

SN: 1501-UP

2шт.

23

01580-00504

NUT

SN: 1501-UP

2шт.

24

01601-00513

WASHER

SN: 1501-UP

2шт.

25

08040-01000

FUSE, 10A

SN: 1501-UP

2шт.

25

08040-02000

FUSE, 20A

SN: 1501-UP

2шт.

26

08183-00000

SWITCH,WIPER

SN: 1501-UP

2шт.

27

131-915-3370

PLATE, OPERATING,REAR WIPER SWITCH

SN: 1501-UP

1шт.

28

131-915-3380

PLATE, OPERATING,FRONT WIPER SWITCH

SN: 1501-UP

1шт.

29

08060-00040

SWITCH,ROOM LAMP

SN: 1501-UP

1шт.

30

08060-00010

SWITCH,HEAD LAMP

SN: 1501-UP

1шт.

31

145-Z79-2121

WIRE ASS'Y

SN: 1501-UP

1шт.

32

135-Z79-1780

WIRE

SN: 1501-UP

1шт.

33

130-Z79-1380

WIRE

SN: 1501-UP

1шт.

34

08037-01008

GROMMET

SN: 1501-UP

3шт.

35

08036-11214

CLIP

SN: 1501-UP

6шт.

36

01010-31016

BOLT

SN: 1501-UP

6шт.

37

01602-01030

WASHER

SN: 1501-UP

6шт.

38

08036-10810

CLIP

SN: 1501-UP

4шт.

39

08029-05230

WIRE

SN: 1501-UP

1шт.

40

01220-40512

SCREW

SN: 1501-UP

1шт.

41

01601-00513

WASHER

SN: 1501-UP

1шт.

42

124-54-29520

DASHBOARD

SN: 1501-UP

1шт.

Выбрано товаров: 0