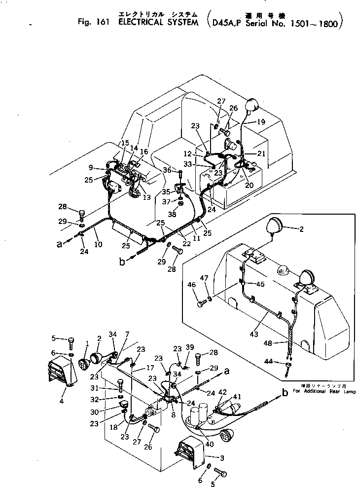
Запчасти Komatsu D45A-1 ЭЛЕКТРИКА(№-8) КОМПОНЕНТЫ ДВИГАТЕЛЯ И ЭЛЕКТРИКА

Схема запчастей Komatsu D45A-1 - ЭЛЕКТРИКА(№-8) КОМПОНЕНТЫ ДВИГАТЕЛЯ И ЭЛЕКТРИКА
FIT
1:1
100%

Артикул

Название

Примечание

Количество

|$0

08128-22400

LAMP ASS'Y

SN: 1501-@

3шт.

|$1

08128-22400

LAMP ASS'Y,(FOR ADDITIONAL REAR LAMP)

SN: 1501-1800

4шт.

1

08113-02480

BULB, 80W

SN: 1501-@

1шт.

2

08128-00003

HOLDER

SN: 1501-@

1шт.

3

130-06-43142

COVER,L.H.

SN: 1501-@

1шт.

3

12F-06-11110

COVER,L.H.

SN: 1500-1500

1шт.

4

130-06-43152

COVER,R.H.

SN: 1501-@

1шт.

4

12F-06-11120

COVER,R.H.

SN: 1500-1500

1шт.

5

01010-31220

BOLT

SN: 1501-@

6шт.

6

01602-01236

WASHER

SN: 1501-@

6шт.

7

124-06-21260

WIRE

SN: 1501-1800

1шт.

7

12F-06-11140

WIRE

SN: 1500-1500

1шт.

8

124-06-21210

WIRE

SN: 1501-1800

1шт.

8

12F-06-11150

WIRE

SN: 1500-1500

1шт.

9

124-06-21350

WIRE ASS'Y

SN: 1637-1800

1шт.

9

124-06-21150

WIRE ASS'Y

SN: 1501-1636

1шт.

10

124-06-21311

WIRE ASS'Y

SN: .-1800

1шт.

10

124-06-21310

WIRE ASS'Y

SN: 1504-.

1шт.

10

124-06-21160

WIRE ASS'Y

SN: 1501-1503

1шт.

11

124-06-21321

WIRE ASS'Y

SN: .-1800

1шт.

11

124-06-21320

WIRE ASS'Y

SN: 1504-.

1шт.

11

124-06-21170

WIRE ASS'Y

SN: 1501-1503

1шт.

12

124-06-21180

WIRE ASS'Y

SN: 1501-1800

1шт.

13

124-06-21230

WIRE

SN: 1501-1800

1шт.

14

125-06-21260

WIRE

SN: 1501-1800

1шт.

15

6131-81-4370

WIRE

SN: 1501-1800

1шт.

16

125-06-21290

WIRE

SN: 1501-1800

1шт.

17

12F-06-11130

WIRE ASS'Y

SN: 1501-1800

1шт.

18

12F-06-11160

WIRE ASS'Y

SN: 1501-1800

1шт.

19

124-06-21240

WIRE ASS'Y

SN: 1501-1800

1шт.

20

111-06-34170

WIRE

SN: 1501-1800

1шт.

21

124-06-21120

WIRE

SN: 1501-@

1шт.

22

124-06-21130

WIRE

SN: 1501-1800

1шт.

23

08036-10614

CLIP

SN: 1501-@

8шт.

24

08036-11214

CLIP

SN: 1501-1800

6шт.

25

08036-01814

CLIP

SN: 1504-@

7шт.

25

08036-01814

CLIP

SN: 1501-1503

6шт.

26

01010-31016

BOLT

SN: 1501-@

2шт.

27

01602-01030

WASHER

SN: 1501-@

2шт.

28

01010-31220

BOLT

SN: 1501-1800

4шт.

29

01602-01236

WASHER

SN: 1501-@

4шт.

30

08160-22400

HORN

SN: 1501-@

1шт.

31

01010-30816

BOLT

SN: 1501-@

2шт.

32

01602-00825

WASHER

SN: 1501-@

2шт.

33

08064-10000

SWITCH,HORN

SN: 1501-@

1шт.

34

130-06-44711

GROMMET

SN: 1501-@

2шт.

35

113-06-14160

SWITCH,SAFETY

SN: 1501-@

1шт.

36

01220-40430

SCREW

SN: 1501-@

2шт.

37

01601-00410

WASHER

SN: 1501-@

2шт.

38

01580-00403

NUT

SN: 1501-@

2шт.

39

08038-00519

CAP

SN: 1501-@

1шт.

40

08038-00518

CAP

SN: 1501-@

1шт.

41

08038-00035

CAP

SN: 1501-@

1шт.

42

08038-02027

CAP

SN: 1501-1800

1шт.

43

124-06-27220

WIRE ASS'Y

SN: 1501-1800

1шт.

44

124-06-27230

WIRE ASS'Y

SN: 1501-1800

1шт.

45

08036-00610

CLIP

SN: 1501-1800

4шт.

46

01010-50810

BOLT

SN: 1501-1800

4шт.

47

01602-20825

WASHER

SN: 1501-UP

4шт.

48

08024-01910

TAPE

SN: 1501-1800

1шт.

Выбрано товаров: 60