Запчасти Komatsu D45A-1 РУЛЕВ. УПРАВЛЕНИЕ КОРПУС КРЫШКА(/) СИСТЕМАУПРАВЛЕНИЯ ПОВОРОТОМ И КОНЕЧНАЯ ПЕРЕДАЧА

Схема запчастей Komatsu D45A-1 - РУЛЕВ. УПРАВЛЕНИЕ КОРПУС КРЫШКА(/) СИСТЕМАУПРАВЛЕНИЯ ПОВОРОТОМ И КОНЕЧНАЯ ПЕРЕДАЧА
FIT
1:1
100%

Артикул

Название

Примечание

Количество

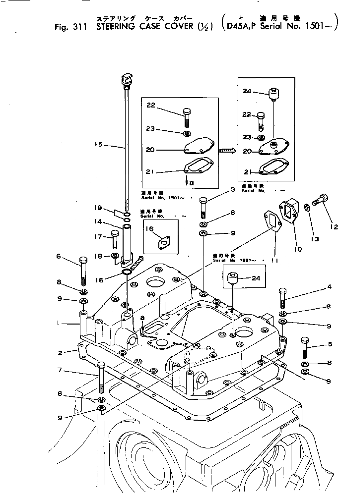
1

131-43-61110

COVER

SN: 1801-UP

1шт.

1

0

COVER

SN: 1501-1800

1шт.

2

130-43-51121

GASKET

SN: 1501-UP

1шт.

3

01010-31445

BOLT

SN: 1501-UP

4шт.

4

01010-31450

BOLT

SN: 1501-UP

4шт.

5

01010-31440

BOLT

SN: 1501-UP

14шт.

6

01011-31455

BOLT

SN: 1801-UP

3шт.

6

01011-31445

BOLT

SN: 1501-1800

3шт.

7

01011-31455

BOLT

SN: 1801-UP

1шт.

7

01011-31450

BOLT

SN: 1501-1800

1шт.

8

01602-01442

WASHER

SN: 1501-UP

26шт.

9

01643-31445

WASHER

SN: 1501-UP

26шт.

10

130-814-5340

COVER

SN: 1501-UP

2шт.

11

130-814-5350

GASKET

SN: 1501-UP

2шт.

12

01010-31230

BOLT

SN: 1501-UP

4шт.

13

01602-01236

WASHER

SN: 1501-UP

4шт.

14

124-43-25941

FILLER

SN: .-UP

1шт.

14

0

FILLER

SN: 1801-.

1шт.

|$$19

(124-43-25941,135-43-31160,

-1шт.

|$$20

01010-31030(2))

-1шт.

14

125-43-22350

FILLER

SN: 1501-1800

1шт.

15

124-43-25950

GAUGE

SN: 1801-UP

1шт.

15

125-43-22370

GAUGE

SN: 1501-1800

1шт.

16

135-43-31160

GASKET

SN: .-UP

1шт.

16

07000-03035

O-RING

SN: 1501-.

1шт.

17

01010-31030

BOLT

SN: .-UP

2шт.

17

01010-31035

BOLT

SN: 1501-.

2шт.

18

01602-01030

WASHER

SN: 1501-UP

2шт.

19

07002-02434

O-RING

SN: .-UP

2шт.

19

07000-03022

O-RING

SN: 1501-.

2шт.

20

125-43-22520

COVER,L.H.

SN: .-UP

1шт.

20

125-43-22340

COVER,L.H.

SN: 1501-.

1шт.

20

125-43-22510

COVER,R.H.

SN: .-UP

1шт.

20

125-43-22430

COVER,R.H.

SN: 1501-.

1шт.

21

125-43-22330

GASKET

SN: 1501-UP

2шт.

22

01010-31025

BOLT

SN: 1801-UP

6шт.

22

01010-31020

BOLT

SN: 1501-1800

6шт.

23

01602-01030

WASHER

SN: 1501-UP

6шт.

24

07030-10252

BREATHER

SN: 1501-UP

1шт.

Выбрано товаров: 39