Запчасти Komatsu D45A-1 РЫЧАГ УПРАВЛЕНИЯ ПОВОРОТОМ(№-8) СИСТЕМАУПРАВЛЕНИЯ ПОВОРОТОМ И КОНЕЧНАЯ ПЕРЕДАЧА

Схема запчастей Komatsu D45A-1 - РЫЧАГ УПРАВЛЕНИЯ ПОВОРОТОМ(№-8) СИСТЕМАУПРАВЛЕНИЯ ПОВОРОТОМ И КОНЕЧНАЯ ПЕРЕДАЧА
FIT
1:1
100%

Артикул

Название

Примечание

Количество

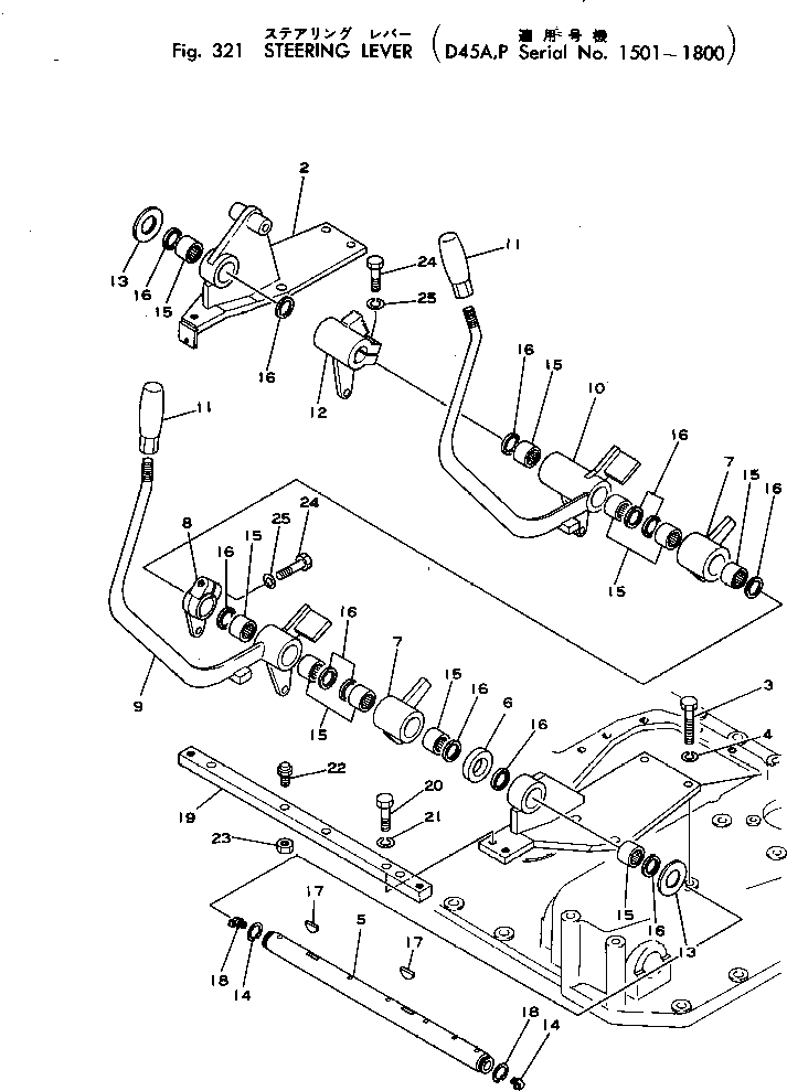
1

124-43-22130

BRACKET,L.H.

SN: 1501-1800

1шт.

2

124-43-22140

BRACKET,R.H.

SN: 1501-1800

1шт.

3

01010-31230

BOLT

SN: 1501-1800

4шт.

4

01602-01236

WASHER

SN: 1501-1800

4шт.

5

124-43-22170

SHAFT

SN: 1501-1800

1шт.

6

124-43-22160

SPACER

SN: 1501-1800

1шт.

7

124-43-22191

LEVER

SN: 1501-1800

2шт.

8

124-43-22181

LEVER

SN: 1501-1800

1шт.

9

124-43-22120

LEVER

SN: 1501-1800

1шт.

10

124-43-22110

LEVER

SN: 1501-1800

1шт.

11

09305-11400

KNOB

SN: 1501-1800

2шт.

12

124-43-22370

LEVER

SN: 1501-1800

1шт.

13

124-43-22360

WASHER

SN: 1501-1800

2шт.

14

04064-02815

RING

SN: 1501-1800

2шт.

15

06120-03020

BEARING

SN: 1501-1800

10шт.

16

06122-03004

SEAL

SN: 1501-1800

12шт.

17

04010-00728

KEY

SN: 1501-1800

2шт.

18

07020-00900

FITTING

SN: 1501-1800

2шт.

19

124-43-22151

PLATE

SN: 1533-1800

1шт.

19

124-43-22150

PLATE

SN: 1501-1532

1шт.

20

01010-31230

BOLT

SN: 1501-1800

3шт.

21

01602-01236

WASHER

SN: 1501-1800

3шт.

22

124-43-22420

BUMPER

SN: 1501-1800

2шт.

23

01580-01210

NUT

SN: 1501-1800

2шт.

24

01010-31245

BOLT

SN: 1501-1800

2шт.

25

01602-01236

WASHER

SN: 1501-1800

2шт.

Выбрано товаров: 26