Запчасти Komatsu D45P-1 РАДИАТОР(№8-) КОМПОНЕНТЫ ДВИГАТЕЛЯ И ЭЛЕКТРИКА

Схема запчастей Komatsu D45P-1 - РАДИАТОР(№8-) КОМПОНЕНТЫ ДВИГАТЕЛЯ И ЭЛЕКТРИКА
FIT
1:1
100%

Артикул

Название

Примечание

Количество

|$0

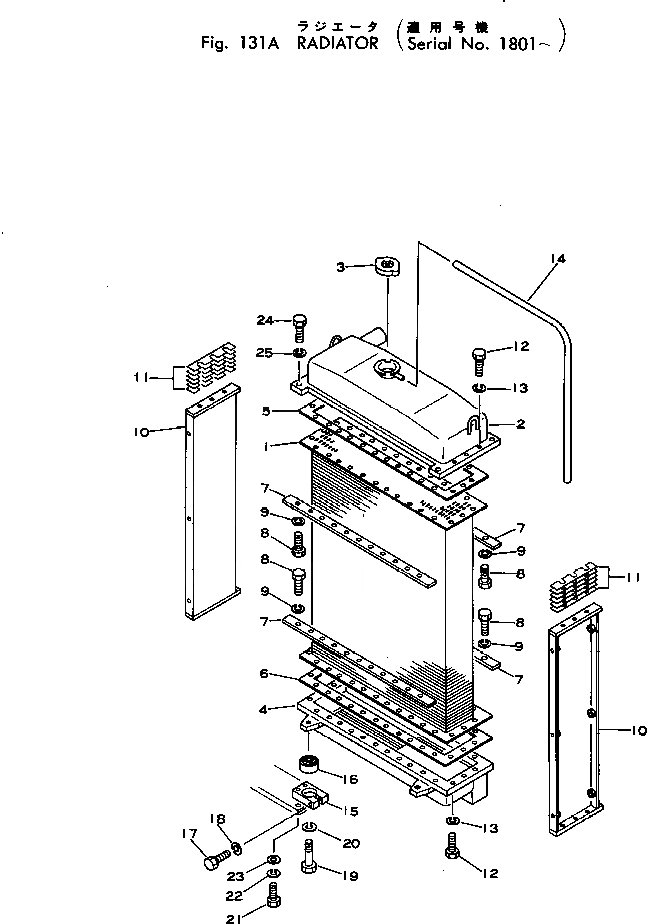
124-03-00013

RADIATOR ASS'Y

SN: 1801-UP

1шт.

|$1

0

RADIATOR ASS'Y

SN: (1801-.)

1шт.

1

125-03-21321

CORE

SN: 1501-UP

1шт.

1

0

CORE

SN: (1501-.)

1шт.

2

125-03-22211

TANK

SN: 1801-UP

1шт.

3

113-03-21240

CAP

SN: 1801-UP

1шт.

4

125-03-21133

TANK

SN: 1501-UP

1шт.

5

125-03-11140

GASKET

SN: 1501-UP

1шт.

6

125-03-11150

GASKET

SN: 1501-UP

1шт.

7

125-03-21160

PLATE

SN: 1501-UP

4шт.

8

01010-31025

BOLT

SN: 1501-UP

44шт.

9

01602-01030

WASHER

SN: 1501-UP

44шт.

10

125-03-21173

SUPPORT

SN: 1501-UP

2шт.

11

125-03-05010

SHIM ASS'Y

SN: 1501-UP

2шт.

11

0

SHIM, 0.2MM

SN: 1501-UP

4шт.

11

0

SHIM, 0.5MM

SN: 1501-UP

2шт.

12

01010-31250

BOLT

SN: 1501-UP

12шт.

13

01602-01236

WASHER

SN: 1501-UP

12шт.

14

07270-00809

TUBE

SN: 1801-UP

1шт.

15

125-03-21230

BRACKET

SN: 1501-UP

2шт.

16

135-03-12110

DAMPER

SN: 1501-UP

2шт.

17

01010-31260

BOLT

SN: 1501-UP

2шт.

18

01602-01236

WASHER

SN: 1501-UP

2шт.

19

01010-31460

BOLT

SN: 1501-UP

2шт.

20

01602-01442

WASHER

SN: 1501-UP

2шт.

21

01010-31240

BOLT

SN: 1501-UP

4шт.

22

01602-01236

WASHER

SN: 1501-UP

4шт.

23

01643-31232

WASHER

SN: 1501-UP

4шт.

24

01010-31240

BOLT

SN: 1501-UP

4шт.

25

01602-01236

WASHER

SN: 1501-UP

4шт.

Выбрано товаров: 30