Запчасти Komatsu D45P-1 РАДИАТОР КРЫШКАAND ТРУБЫ(№8-) КОМПОНЕНТЫ ДВИГАТЕЛЯ И ЭЛЕКТРИКА

Схема запчастей Komatsu D45P-1 - РАДИАТОР КРЫШКАAND ТРУБЫ(№8-) КОМПОНЕНТЫ ДВИГАТЕЛЯ И ЭЛЕКТРИКА
FIT
1:1
100%

Артикул

Название

Примечание

Количество

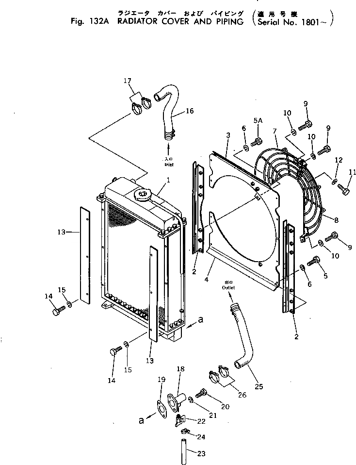
1

124-03-00012

RADIATOR ASS'Y

SN: 1801-UP

1шт.

2

12F-03-11211

COVER,L.H.

SN: .-UP

1шт.

2

12F-03-11221

COVER,R.H.

SN: .-UP

1шт.

3

125-03-21243

SHROUD

SN: .-UP

1шт.

4

125-03-21253

SHROUD

SN: .-UP

1шт.

5

01010-31225

BOLT

SN: .-UP

11шт.

5

01010-31225

BOLT

SN: 1501-.

12шт.

5A

01011-31215

BOLT

SN: .-UP

1шт.

6

01602-01236

WASHER

SN: 1501-UP

12шт.

7

125-03-21285

GUARD

SN: .-UP

1шт.

7

0

GUARD

SN: 1501-.

1шт.

|$$12

(125-03-21285,01011-31010,

-1шт.

|$$13

01011-31215)

-1шт.

8

125-03-21295

GUARD

SN: .-UP

1шт.

8

0

GUARD

SN: 1501-.

1шт.

|$$16

(125-03-21295,01011-31010(2))

-1шт.

9

01011-31010

BOLT

SN: .-UP

3шт.

9

01010-31020

BOLT

SN: 1501-.

4шт.

10

01602-01030

WASHER

SN: .-UP

3шт.

10

01602-01030

WASHER

SN: 1501-.

4шт.

11

01010-31025

BOLT

SN: 1501-UP

1шт.

12

01602-01030

WASHER

SN: 1501-UP

1шт.

13

12F-03-11231

PLATE

SN: .-UP

2шт.

14

01010-31020

BOLT

SN: 1501-UP

6шт.

15

01602-01030

WASHER

SN: 1501-UP

6шт.

16

120-03-22122

HOSE

SN: 1500-1500

1шт.

16

125-03-22240

HOSE

SN: 1801-UP

1шт.

17

07281-00709

CLAMP

SN: 1501-UP

4шт.

18

125-03-22220

TUBE

SN: 1801-UP

1шт.

19

131-03-41320

GASKET

SN: 1501-UP

1шт.

20

01010-31230

BOLT

SN: 1501-UP

2шт.

21

01602-01236

WASHER

SN: 1501-UP

2шт.

22

07730-20004

VALVE

SN: 1501-UP

1шт.

23

07270-01514

TUBE

SN: 1501-UP

1шт.

24

07280-01920

CLAMP

SN: .-UP

1шт.

25

125-03-22230

HOSE

SN: 1801-UP

1шт.

26

07281-00709

CLAMP

SN: 1501-UP

4шт.

Выбрано товаров: 37