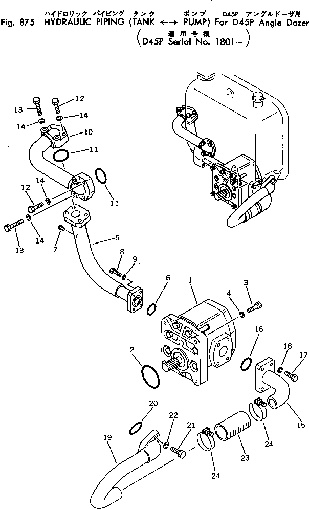
Запчасти Komatsu D45P-1 ГИДРОЛИНИЯ (ИЗ БАКА В НАСОС)(№8-) ОПЦИОННЫЕ КОМПОНЕНТЫ

Схема запчастей Komatsu D45P-1 - ГИДРОЛИНИЯ (ИЗ БАКА В НАСОС)(№8-) ОПЦИОННЫЕ КОМПОНЕНТЫ
FIT
1:1
100%

Артикул

Название

Примечание

Количество

1

704-12-35100

PUMP ASS'Y

SN: 1801-UP

1шт.

2

07000-02070

O-RING

SN: 1801-UP

1шт.

3

01010-31245

BOLT

SN: 1801-UP

4шт.

4

01602-01236

WASHER

SN: 1801-UP

4шт.

5

124-62-21541

TUBE

SN: 1801-UP

1шт.

6

07000-23032

O-RING

SN: 1801-UP

1шт.

7

07042-20108

PLUG

SN: 1801-UP

1шт.

8

07372-21040

BOLT

SN: 1801-UP

4шт.

9

01602-01030

WASHER

SN: 1801-UP

4шт.

10

124-62-21531

TUBE

SN: 1801-UP

1шт.

11

07000-13035

O-RING

SN: 1801-UP

2шт.

12

01010-31065

BOLT

SN: 1801-UP

4шт.

13

01010-31075

BOLT

SN: 1801-UP

4шт.

14

01602-01030

WASHER

SN: 1801-UP

8шт.

15

124-62-21510

TUBE

SN: 1801-UP

1шт.

16

07000-03048

O-RING

SN: 1801-UP

1шт.

17

01010-31240

BOLT

SN: 1801-UP

4шт.

18

01602-01236

WASHER

SN: 1801-UP

4шт.

19

124-62-21520

TUBE

SN: 1801-UP

1шт.

20

07000-03045

O-RING

SN: 1801-UP

1шт.

21

01010-31440

BOLT

SN: 1801-UP

2шт.

22

01602-01442

WASHER

SN: 1801-UP

2шт.

23

07260-24111

HOSE

SN: 1801-UP

1шт.

24

07280-05429

CLAMP

SN: 1801-UP

2шт.

Выбрано товаров: 24