Запчасти Komatsu D45P-1 ТОПЛИВН. БАК.(№8-) КОМПОНЕНТЫ ДВИГАТЕЛЯ И ЭЛЕКТРИКА

Схема запчастей Komatsu D45P-1 - ТОПЛИВН. БАК.(№8-) КОМПОНЕНТЫ ДВИГАТЕЛЯ И ЭЛЕКТРИКА
FIT
1:1
100%

Артикул

Название

Примечание

Количество

|$0

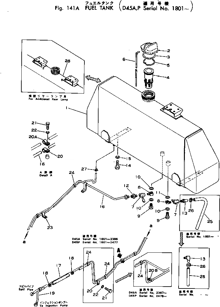
124-04-00013

FUEL TANK ASS'Y

SN: 2948-UP

1шт.

|$1

0

FUEL TANK ASS'Y

SN: 2478-2947

1шт.

|$2

0

FUEL TANK ASS'Y

SN: 1801-2477

1шт.

1

0

TANK

SN: 2948-UP

1шт.

1

0

TANK

SN: 2478-2947

1шт.

1

0

TANK

SN: 1801-2477

1шт.

2

07050-21200

CAP

SN: 1501-UP

1шт.

3

07050-21202

GASKET

SN: 1501-UP

1шт.

4

07056-18416

STRAINER

SN: 1501-UP

1шт.

5

07057-04087

RING

SN: 1501-UP

1шт.

6

124-04-21220

GAUGE,FUEL LEVEL

SN: 1801-UP

1шт.

7

113-04-22120

VALVE

SN: 1801-UP

2шт.

8

113-04-22130

NIPPLE

SN: 1801-UP

2шт.

9

113-04-22190

BOLT

SN: 1801-UP

2шт.

10

07005-01412

GASKET

SN: 1801-UP

2шт.

11

07005-02012

GASKET

SN: 1801-UP

2шт.

12

07213-51013

CONNECTOR

SN: 1801-UP

1шт.

13

124-04-21250

ELBOW

SN: .-UP

1шт.

13

0

NIPPLE

SN: 1801-.

1шт.

14

01010-31425

BOLT

SN: 1501-UP

6шт.

15

01602-01442

WASHER

SN: 1501-UP

6шт.

16

124-04-21240

TUBE

SN: 1801-UP

1шт.

17

07260-20920

HOSE

SN: .-UP

1шт.

17

07270-11020

TUBE

SN: 1801-.

1шт.

18

07281-00197

CLAMP

SN: 1801-UP

2шт.

19

124-04-21230

TUBE

SN: 1801-UP

1шт.

20

130-04-11260

CLIP

SN: 2478-UP

1шт.

20

130-04-11260

CLIP

SN: 1801-2477

2шт.

20A

08036-01414

CLIP

SN: 2478-UP

1шт.

20B

130-802-5110

CLIP

SN: 2478-UP

1шт.

21

01010-31016

BOLT

SN: 2478-UP

1шт.

21

01010-31016

BOLT

SN: 1801-2477

2шт.

22

01602-01030

WASHER

SN: 2478-UP

1шт.

22

01602-01030

WASHER

SN: 1801-2477

2шт.

23

175-06-36131

CLAMP

SN: 1801-UP

1шт.

24

08034-00414

BAND

SN: 2478-UP

6шт.

24

130-04-11270

CLIP

SN: 1801-2477

6шт.

25

07270-01260

TUBE

SN: 1501-UP

1шт.

26

07281-00197

CLAMP

SN: 1801-UP

1шт.

27

07281-00137

CLAMP

SN: 2478-UP

1шт.

28

124-04-26410

TANK,(FOR ADDITIONAL REAR LAMP)

SN: 2478-UP

1шт.

Выбрано товаров: 41