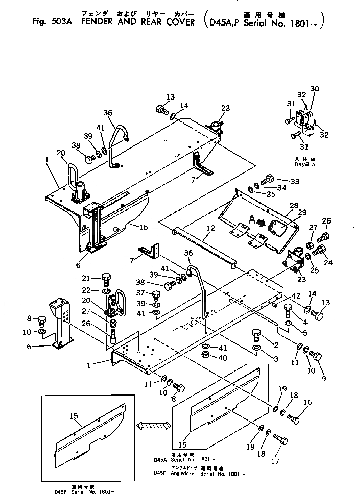
Запчасти Komatsu D45P-1 КРЫЛО И ЗАДН. КРЫШКА(№8-) ЧАСТИ КОРПУСА

Схема запчастей Komatsu D45P-1 - КРЫЛО И ЗАДН. КРЫШКА(№8-) ЧАСТИ КОРПУСА
FIT
1:1
100%

Артикул

Название

Примечание

Количество

1

124-54-21510

FENDER,L.H.

SN: 1801-UP

1шт.

1

124-54-21520

FENDER,R.H.

SN: 1801-UP

1шт.

2

01010-32455

BOLT

SN: 1501-UP

4шт.

3

01643-32460

WASHER

SN: 1501-UP

4шт.

4

01010-32045

BOLT

SN: 1501-UP

4шт.

5

01643-32060

WASHER

SN: 1501-UP

4шт.

6

124-54-21780

SUPPORT,L.H.

SN: 1801-UP

1шт.

6

124-54-21790

SUPPORT,R.H.

SN: 1801-UP

1шт.

7

124-54-23190

BRACKET,L.H.

SN: 1501-UP

1шт.

7

124-54-23180

BRACKET,R.H.

SN: 1501-UP

1шт.

8

01010-31230

BOLT

SN: 1501-UP

20шт.

9

01010-31235

BOLT

SN: 1501-UP

4шт.

10

01602-01236

WASHER

SN: 1501-UP

24шт.

11

01643-31232

WASHER

SN: 1501-UP

16шт.

12

124-54-23170

FRAME

SN: 1501-UP

1шт.

13

01010-31635

BOLT

SN: 1501-UP

2шт.

14

01643-31645

WASHER

SN: 1501-UP

2шт.

15

124-54-21610

COVER,L.H.

SN: 1500-1500

1шт.

15

12F-54-11150

COVER,L.H.

SN: 1801-UP

1шт.

15

12F-Z27-2110

COVER,L.H. (FOR ANGLE DOZER)

SN: 1801-UP

1шт.

15

124-54-21620

COVER,R.H.

SN: 1801-UP

1шт.

16

01010-31230

BOLT

SN: 1501-UP

6шт.

17

01010-31245

BOLT

SN: 1501-UP

4шт.

18

01602-01236

WASHER

SN: 1501-UP

10шт.

19

01643-31232

WASHER

SN: 1501-UP

10шт.

20

124-54-23271

BRACKET

SN: 1801-UP

2шт.

21

01010-31440

BOLT

SN: 1501-UP

8шт.

22

01602-01442

WASHER

SN: 1501-UP

8шт.

23

124-54-23231

BRACKET

SN: 1501-UP

2шт.

24

01010-31640

BOLT

SN: 1501-UP

8шт.

25

01643-31645

WASHER

SN: 1501-UP

8шт.

26

01016-31440

BOLT

SN: 1501-UP

8шт.

27

01580-01411

NUT

SN: 1501-UP

8шт.

|$33

124-54-00040

COVER ASS'Y

SN: 1501-UP

1шт.

28

0

COVER

SN: 1501-UP

1шт.

29

124-54-23210

COVER

SN: 1501-UP

1шт.

30

141-54-12290

SPRING

SN: 1501-UP

1шт.

31

04205-10618

PIN

SN: 1501-UP

2шт.

32

04050-01610

PIN

SN: 1501-UP

2шт.

33

01010-31240

BOLT

SN: 1501-UP

2шт.

34

01602-01236

WASHER

SN: 1501-UP

2шт.

35

01643-31232

WASHER

SN: 1501-UP

2шт.

36

124-54-23251

HANDRAIL,L.H.

SN: 1801-UP

1шт.

36

124-54-21641

HANDRAIL,R.H.

SN: 1801-UP

1шт.

37

01010-31235

BOLT

SN: 1501-UP

2шт.

38

01010-31225

BOLT

SN: 1501-UP

2шт.

39

01602-01236

WASHER

SN: 1501-UP

4шт.

40

01580-01210

NUT

SN: 1501-UP

2шт.

41

01643-31232

WASHER

SN: 1501-UP

6шт.

42

07049-01620

PLUG

SN: 1801-UP

6шт.

Выбрано товаров: 50