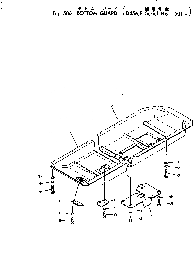
Запчасти Komatsu D45P-1 НИЖН. ЗАЩИТА ЧАСТИ КОРПУСА

Схема запчастей Komatsu D45P-1 - НИЖН. ЗАЩИТА ЧАСТИ КОРПУСА
FIT
1:1
100%

Артикул

Название

Примечание

Количество

1

124-54-21311

GUARD

SN: 1500-1500

1шт.

1

124-54-21310

GUARD

SN: 1500-1500

1шт.

1

12G-54-12111

GUARD

SN: 1801-UP

1шт.

1

12G-54-12110

GUARD

SN: 1501-1800

1шт.

2

124-54-21321

GUARD

SN: 1500-1500

1шт.

2

124-54-21320

GUARD

SN: 1500-1500

1шт.

2

12G-54-12121

GUARD

SN: 1801-UP

1шт.

2

12G-54-12120

GUARD

SN: 1501-1800

1шт.

3

01010-31435

BOLT

SN: 1501-UP

14шт.

4

01602-01442

WASHER

SN: 1501-UP

14шт.

5

01643-31445

WASHER

SN: 1501-UP

14шт.

6

125-54-24170

COVER

SN: 1801-UP

2шт.

6

125-54-21510

COVER

SN: 1501-1800

2шт.

7

125-54-21520

COVER

SN: 1501-UP

2шт.

8

01010-31225

BOLT

SN: 1501-UP

6шт.

9

01602-01236

WASHER

SN: 1501-UP

6шт.

Выбрано товаров: 16