Запчасти Komatsu D45P-1 ГИДР. БАК. (/) УПРАВЛ-Е РАБОЧИМ ОБОРУДОВАНИЕМ

Схема запчастей Komatsu D45P-1 - ГИДР. БАК. (/) УПРАВЛ-Е РАБОЧИМ ОБОРУДОВАНИЕМ
FIT
1:1
100%

Артикул

Название

Примечание

Количество

|$0

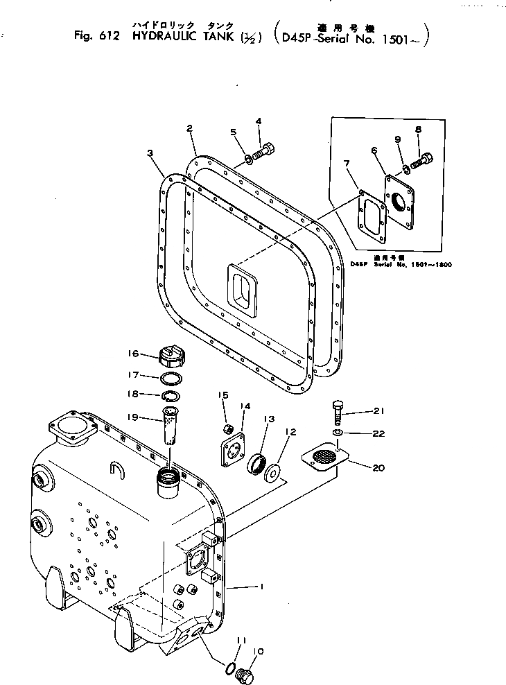
124-920-6102

TANK ASS'Y

SN: 1801-UP

1шт.

|$1

124-920-6101

TANK ASS'Y

SN: 1501-1800

1шт.

1

124-920-6112

TANK

SN: 1801-UP

1шт.

1

124-920-6111

TANK

SN: 1501-1800

1шт.

2

124-920-6121

COVER

SN: 1801-UP

1шт.

2

124-920-6120

COVER

SN: 1501-1800

1шт.

3

124-60-21130

GASKET

SN: 1501-UP

1шт.

4

01010-31025

BOLT

SN: 1501-UP

32шт.

5

01602-01030

WASHER

SN: 1501-UP

32шт.

6

124-60-21151

PLATE

SN: 1501-1800

1шт.

7

124-60-21162

GASKET

SN: 1501-1800

1шт.

8

01010-31020

BOLT

SN: 1501-1800

8шт.

9

01602-01030

WASHER

SN: 1501-1800

8шт.

10

07044-13620

PLUG

SN: 1501-UP

1шт.

11

07002-03634

O-RING

SN: 1501-UP

1шт.

12

07715-00651

COVER

SN: 1501-UP

1шт.

13

07715-11257

RING

SN: 1501-UP

1шт.

14

07715-21074

CASE

SN: 1501-UP

1шт.

15

01598-01011

NUT

SN: 1501-UP

4шт.

16

101-60-13490

CAP

SN: 1801-UP

1шт.

16

07051-00000

CAP

SN: 1501-1800

1шт.

17

07051-00003

GASKET

SN: 1501-UP

1шт.

18

04065-04518

RING

SN: 1501-1800

1шт.

19

141-60-33730

STRAINER

SN: 1801-UP

1шт.

19

131-60-13170

STRAINER

SN: 1501-1800

1шт.

20

144-60-13311

STRAINER

SN: 1501-UP

1шт.

21

01010-30816

BOLT

SN: 1501-UP

2шт.

22

01602-00825

WASHER

SN: 1501-UP

2шт.

Выбрано товаров: 28