Запчасти Komatsu D475A-1 ПЕРФОРИРОВАНН. БОКОВ. КРЫШКА ДВИГ. ЧАСТИ КОРПУСА

Схема запчастей Komatsu D475A-1 - ПЕРФОРИРОВАНН. БОКОВ. КРЫШКА ДВИГ. ЧАСТИ КОРПУСА
FIT
1:1
100%

Артикул

Название

Примечание

Количество

G-1

0

COVER GROUP

SN: 10033-UP

1шт.

G-1

0

COVER GROUP

SN: 10001-10032

1шт.

|$$3

====================

-1шт.

|$3

198-54-00011

ENGINE SIDE COVER A.,L.H.

SN: 10033-UP

1шт.

|$4

198-54-00010

ENGINE SIDE COVER A.,L.H.

SN: 10001-10032

1шт.

|$5

198-54-00021

ENGINE SIDE COVER A.,R.H.

SN: 10033-UP

1шт.

|$6

198-54-00020

ENGINE SIDE COVER A.,R.H.

SN: 10001-10032

1шт.

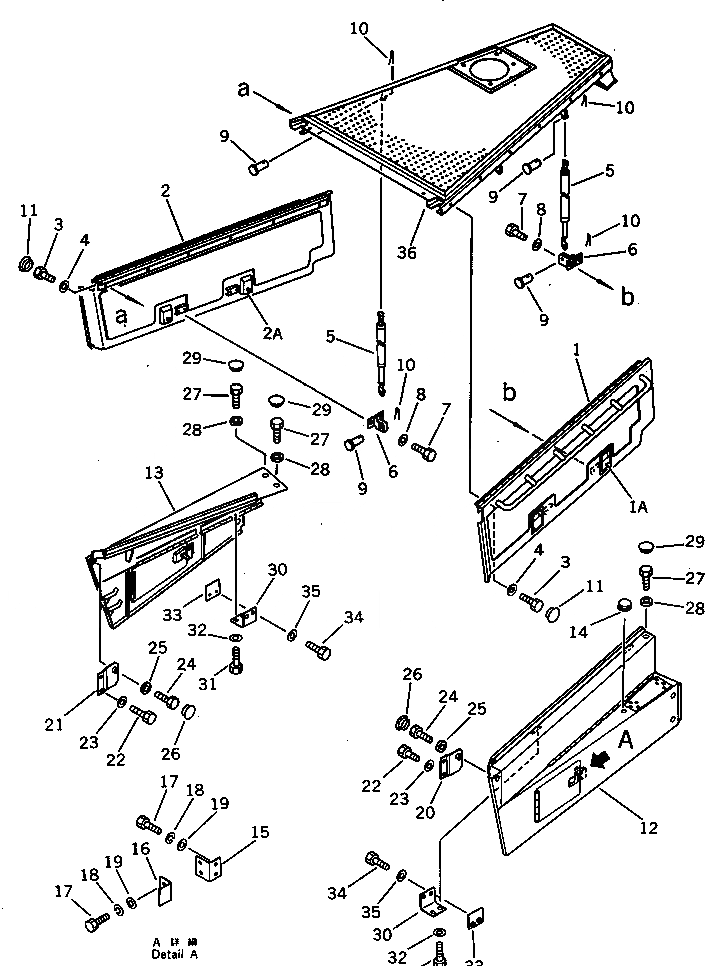
1

198-54-41620

COVER,L.H.

SN: 10001-UP

1шт.

1A

198-54-41982

LOCK ASS'Y (WELDED)

SN: 10001-UP

2шт.

2

198-54-41630

COVER,R.H.

SN: 10001-UP

1шт.

2A

198-54-41982

LOCK ASS'Y (WELDED)

SN: 10001-UP

2шт.

3

01010-51225

BOLT

SN: 10001-UP

12шт.

4

175-54-34170

WASHER

SN: 10001-UP

12шт.

5

19M-54-12770

CYLINDER

SN: 10001-UP

4шт.

6

19M-54-12270

BRACKET

SN: 10001-UP

4шт.

7

01010-51225

BOLT

SN: 10001-UP

8шт.

8

01643-31232

WASHER

SN: 10001-UP

8шт.

9

04205-10822

PIN

SN: 10001-UP

8шт.

10

04050-12015

PIN,COTTER

SN: 10001-UP

8шт.

11

195-54-42980

CAP

SN: 10001-UP

12шт.

12

198-54-41411

COVER,L.H.

SN: 10001-UP

1шт.

13

198-54-41431

COVER,R.H.

SN: 10001-UP

1шт.

14

205-43-72870

CAP

SN: 10001-UP

2шт.

15

09461-00010

BRACKET ASS'Y

SN: 10001-UP

1шт.

15

09461-00011

BRACKET

SN: 10001-UP

1шт.

16

09461-00012

BRACKET

SN: 10001-UP

1шт.

17

01010-51025

BOLT

SN: 10001-UP

4шт.

18

01602-21030

WASHER,SPRING

SN: 10001-UP

4шт.

19

01643-21032

WASHER

SN: 10001-UP

4шт.

20

198-54-41920

BRACKET,R.H.

SN: 10001-UP

1шт.

21

198-54-41930

BRACKET,L.H.

SN: 10001-UP

1шт.

22

01010-51225

BOLT

SN: 10001-UP

4шт.

23

175-54-34170

WASHER

SN: 10001-UP

4шт.

24

01010-51225

BOLT

SN: 10001-UP

2шт.

25

175-54-34170

WASHER

SN: 10001-UP

2шт.

26

198-54-41940

CAP

SN: 10001-UP

2шт.

27

01010-51225

BOLT

SN: 10001-UP

3шт.

28

175-54-34170

WASHER

SN: 10001-UP

3шт.

29

195-54-42980

CAP

SN: 10001-UP

3шт.

30

198-54-41530

PLATE

SN: 10001-UP

4шт.

31

01010-51025

BOLT

SN: 10001-UP

8шт.

32

01643-31032

WASHER

SN: 10001-UP

8шт.

33

198-54-41540

PLATE

SN: 10001-UP

4шт.

34

01010-51025

BOLT

SN: 10001-UP

8шт.

35

01643-31032

WASHER

SN: 10001-UP

8шт.

36

198-54-41611

HOOD,ENGINE

SN: 10033-UP

1шт.

|$$47

====================

-1шт.

Выбрано товаров: 47