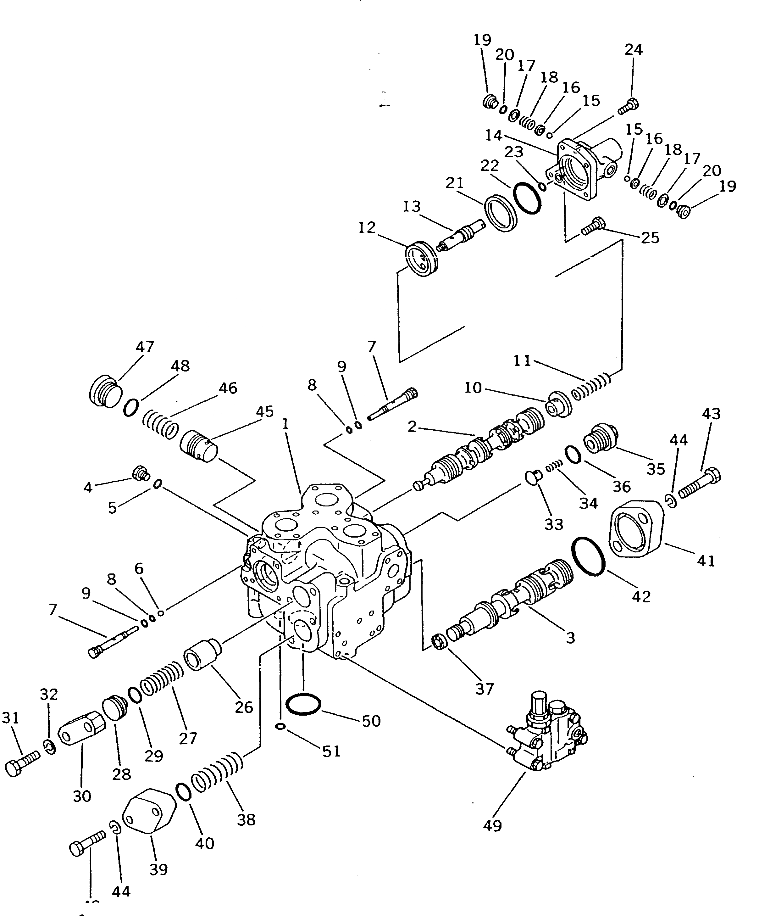
Запчасти Komatsu D475A-1 ГИДРАВЛ КЛАПАН (ПОДЪЕМ. ОТВАЛА) (/) УПРАВЛ-Е РАБОЧИМ ОБОРУДОВАНИЕМ

Схема запчастей Komatsu D475A-1 - ГИДРАВЛ КЛАПАН (ПОДЪЕМ. ОТВАЛА) (/) УПРАВЛ-Е РАБОЧИМ ОБОРУДОВАНИЕМ
FIT
1:1
100%

Артикул

Название

Примечание

Количество

|$0

709-61-21204

VALVE ASS'Y

SN: 10051-UP

1шт.

|$1

709-61-21203

VALVE ASS'Y

SN: 10048-10050

1шт.

|$2

709-61-21202

VALVE ASS'Y

SN: 10032-10047

1шт.

|$3

709-61-21200

VALVE ASS'Y

SN: 10001-10031

1шт.

1

0

BODY

SN: 10048-UP

1шт.

1

0

BODY

SN: 10001-10047

1шт.

2

0

SPOOL

SN: 10048-UP

1шт.

2

0

SPOOL

SN: 10032-10047

1шт.

2

0

SPOOL

SN: 10001-10031

1шт.

3

0

SPOOL

SN: 10001-UP

1шт.

4

07040-11409

PLUG

SN: 10001-UP

4шт.

5

07002-51423

O-RING

SN: 10001-UP

4шт.

6

04260-00793

BALL

SN: 10001-UP

1шт.

7

709-61-21120

PLUG

SN: 10001-UP

2шт.

8

07000-51007

O-RING

SN: 10001-UP

2шт.

9

07002-51423

O-RING

SN: 10001-UP

2шт.

10

709-61-11230

RETAINER

SN: 10001-UP

1шт.

11

700-22-11311

SPRING

SN: 10001-UP

1шт.

12

709-61-11340

RETAINER

SN: 10001-UP

1шт.

13

709-61-11320

PLUG

SN: 10001-UP

1шт.

14

709-61-11420

CASE

SN: 10001-UP

1шт.

15

04260-00635

BALL

SN: 10001-UP

2шт.

16

709-61-11350

SPACER

SN: 10001-UP

2шт.

17

01641-00608

WASHER

SN: 10001-UP

4шт.

18

701-33-31340

SPRING

SN: 10001-UP

2шт.

19

07040-11409

PLUG

SN: 10001-UP

2шт.

20

07002-41423

O-RING

SN: 10001-UP

2шт.

21

709-61-11440

COLLAR

SN: 10001-UP

1шт.

22

07000-42070

O-RING

SN: 10001-UP

1шт.

23

07000-42015

O-RING

SN: 10001-UP

1шт.

24

01010-51030

BOLT

SN: 10001-UP

3шт.

25

01010-51040

BOLT

SN: 10001-UP

1шт.

26

701-40-61120

VALVE

SN: 10001-UP

1шт.

27

701-40-61130

SPRING

SN: 10001-UP

1шт.

28

701-40-72120

SEAT

SN: 10001-UP

1шт.

29

07000-53040

O-RING

SN: 10001-UP

1шт.

30

709-61-21130

PLATE

SN: 10001-UP

1шт.

31

01010-51655

BOLT

SN: 10001-UP

2шт.

32

01602-21648

WASHER,SPRING

SN: 10001-UP

2шт.

33

700-93-11461

VALVE,CHECK

SN: 10001-UP

1шт.

34

700-93-11471

SPRING

SN: 10001-UP

1шт.

35

700-93-11481

PLUG

SN: 10001-UP

1шт.

36

07002-53634

O-RING

SN: 10001-UP

1шт.

37

709-61-21550

SEAL

SN: 10001-UP

1шт.

38

709-61-21520

SPRING

SN: 10001-UP

1шт.

39

709-61-21540

CASE

SN: 10001-UP

1шт.

40

07000-53040

O-RING

SN: 10001-UP

1шт.

41

709-61-21530

PLATE

SN: 10001-UP

1шт.

42

07000-52065

O-RING

SN: 10001-UP

1шт.

43

01010-51660

BOLT

SN: 10001-UP

4шт.

44

01602-21648

WASHER,SPRING

SN: 10001-UP

4шт.

45

701-30-61120

VALVE

SN: 10001-UP

2шт.

46

701-30-61130

SPRING

SN: 10001-UP

2шт.

47

07040-14220

PLUG

SN: 10001-UP

2шт.

48

07002-54234

O-RING

SN: 10001-UP

2шт.

49

709-60-11201

SHUTTLE VALVE ASS'Y

SN: 10051-UP

1шт.

49

709-60-11200

SHUTTLE VALVE ASS'Y

SN: 10001-10050

1шт.

50

07000-42060

O-RING

SN: 10001-UP

1шт.

51

07000-42015

O-RING

SN: 10001-UP

1шт.

Выбрано товаров: 0