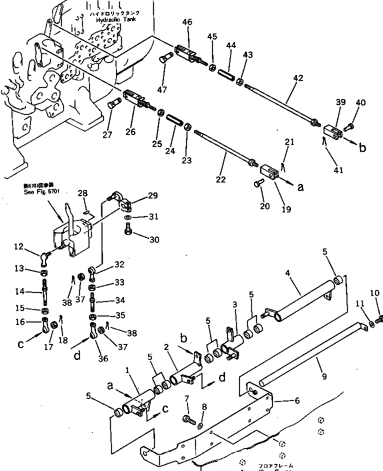
Запчасти Komatsu D475A-1 ОТВАЛ МЕХ-М УПРАВЛ-Я УПРАВЛ-Е РАБОЧИМ ОБОРУДОВАНИЕМ

Схема запчастей Komatsu D475A-1 - ОТВАЛ МЕХ-М УПРАВЛ-Я УПРАВЛ-Е РАБОЧИМ ОБОРУДОВАНИЕМ
FIT
1:1
100%

Артикул

Название

Примечание

Количество

G-1

0

LEVER GROUP,BLADE CONTROL

SN: 10001-UP

1шт.

|$$2

====================

-1шт.

1

198-61-35130

LEVER

SN: 10001-UP

1шт.

2

198-61-35140

LEVER

SN: 10001-UP

1шт.

3

198-61-35150

LEVER

SN: 10001-UP

1шт.

4

198-61-35160

LEVER

SN: 10001-UP

1шт.

5

195-61-34140

BEARING,NEEDLE

SN: 10001-UP

8шт.

6

198-61-35110

BRACKET

SN: 10001-UP

1шт.

7

01010-51230

BOLT

SN: 10001-UP

8шт.

8

01643-31232

WASHER

SN: 10001-UP

8шт.

9

198-61-35120

PIN

SN: 10001-UP

1шт.

10

01010-51025

BOLT

SN: 10001-UP

1шт.

11

01643-31032

WASHER

SN: 10001-UP

1шт.

12

195-61-45420

END,BALL

SN: 10001-UP

1шт.

13

01582-11210

NUT

SN: 10001-UP

1шт.

14

04248-31213

ROD

SN: 10001-UP

1шт.

15

01508-21207

NUT,L.H. THREAD

SN: 10001-UP

1шт.

16

04250-91265

END,ROD

SN: 10001-UP

1шт.

17

01593-11210

NUT

SN: 10001-UP

1шт.

18

04050-13020

PIN,COTTER

SN: 10001-UP

1шт.

19

04210-21248

YOKE

SN: 10001-UP

1шт.

20

04205-11235

PIN

SN: 10001-UP

1шт.

21

04050-13020

PIN,COTTER

SN: 10001-UP

1шт.

22

195-61-45340

ROD

SN: 10001-UP

1шт.

23

01508-21006

NUT, L.H. THREAD,L.H. THREAD

SN: 10001-UP

1шт.

24

176-43-43190

BUCKLE,TURN

SN: 10001-UP

1шт.

25

01582-11008

NUT

SN: 10001-UP

1шт.

26

195-61-45350

ROD

SN: 10001-UP

1шт.

27

195-43-42190

PIN

SN: 10001-UP

1шт.

28

04010-00519

KEY

SN: 10001-UP

1шт.

29

195-61-45190

LEVER

SN: 10001-UP

1шт.

30

01010-50835

BOLT

SN: 10001-UP

1шт.

31

01643-30823

WASHER

SN: 10001-UP

1шт.

32

04250-81265

END,ROD

SN: 10001-UP

1шт.

33

01582-11210

NUT

SN: 10001-UP

1шт.

34

04248-31211

ROD

SN: 10001-UP

1шт.

35

01508-21207

NUT,L.H. THREAD

SN: 10001-UP

1шт.

36

04250-91265

END,ROD

SN: 10001-UP

1шт.

37

01593-11210

NUT

SN: 10001-UP

2шт.

38

04050-13020

PIN,COTTER

SN: 10001-UP

2шт.

39

04210-21248

YOKE

SN: 10001-UP

1шт.

40

04205-11235

PIN

SN: 10001-UP

1шт.

41

04050-13020

PIN,COTTER

SN: 10001-UP

1шт.

42

198-61-35180

ROD

SN: 10001-UP

1шт.

43

01508-21006

NUT, L.H. THREAD,L.H. THREAD

SN: 10001-UP

1шт.

44

176-43-43190

BUCKLE,TURN

SN: 10001-UP

1шт.

45

01582-11008

NUT

SN: 10001-UP

1шт.

46

195-61-45350

ROD

SN: 10001-UP

1шт.

47

195-43-42190

PIN

SN: 10001-UP

1шт.

|$$50

====================

-1шт.

Выбрано товаров: 50