Запчасти Komatsu D475A-1 УСИЛЕНН. РАМА ПРЯМ. ОТВАЛА РАБОЧЕЕ ОБОРУДОВАНИЕ

Схема запчастей Komatsu D475A-1 - УСИЛЕНН. РАМА ПРЯМ. ОТВАЛА РАБОЧЕЕ ОБОРУДОВАНИЕ
FIT
1:1
100%

Артикул

Название

Примечание

Количество

G-1

0

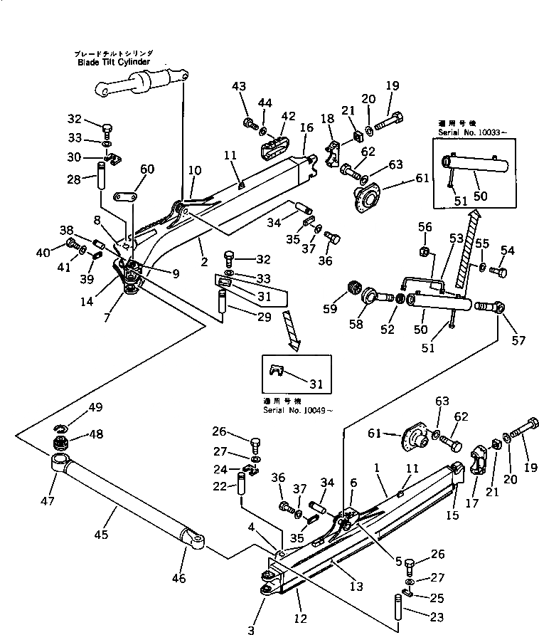
FRAME GROUP,REINFORCED STRAIGHT TILT

SN: 10049-UP

1шт.

G-1

0

FRAME GROUP,REINFORCED STRAIGHT TILT

SN: 10001-10048

1шт.

|$$3

====================

-1шт.

|$3

198-71-00300

FRAME ASS'Y,L.H.

SN: 10001-UP

1шт.

|$4

198-71-00310

FRAME ASS'Y,R.H.

SN: 10001-UP

1шт.

1

0

FRAME,L.H.

SN: 10001-UP

1шт.

2

0

FRAME,R.H.

SN: 10001-UP

1шт.

3

198-71-21160

BRACKET,L.H. (WELDED)

SN: 10001-UP

1шт.

4

198-71-21421

BRACKET,L.H. (WELDED)

SN: 10049-UP

1шт.

4

0

BRACKET,L.H. (WELDED)

SN: 10001-10048

1шт.

5

198-71-21430

BRACKET,L.H. (WELDED)

SN: 10001-UP

1шт.

6

198-71-21670

STEP,L.H. (WELDED)

SN: 10001-UP

1шт.

7

198-71-21250

BRACKET,R.H. (WELDED)

SN: 10001-UP

1шт.

8

198-71-21442

BRACKET,R.H. (WELDED)

SN: 10049-UP

1шт.

8

198-71-21441

BRACKET,R.H. (WELDED)

SN: 10001-10048

1шт.

9

198-71-21340

BRACKET,R.H. (WELDED)

SN: 10001-UP

1шт.

10

198-71-21450

BRACKET,R.H. (WELDED)

SN: 10001-UP

1шт.

11

09545-00222

BRACKET (WELDED)

SN: 10001-UP

2шт.

12

198-71-24220

PLATE,L.H. (WELDED)

SN: 10001-UP

1шт.

12

198-71-24250

PLATE,R.H. (WELDED)

SN: 10001-UP

1шт.

13

198-71-24230

PLATE,L.H. (WELDED)

SN: 10001-UP

1шт.

13

198-71-24260

PLATE,R.H. (WELDED)

SN: 10001-UP

1шт.

14

198-71-24270

PLATE,R.H. (WELDED)

SN: 10001-UP

1шт.

|$23

198-71-00220

BRACKET AND CAP A.,L.H.

SN: 10001-UP

1шт.

|$24

198-71-00230

BRACKET AND CAP A.,R.H.

SN: 10001-UP

1шт.

15

198-71-21170

BRACKET,L.H. (WELDED)

SN: 10001-UP

1шт.

16

198-71-21190

BRACKET,R.H. (WELDED)

SN: 10001-UP

1шт.

17

198-71-21180

CAP,L.H.

SN: 10001-UP

1шт.

18

198-71-21210

CAP,R.H.

SN: 10001-UP

1шт.

19

198-61-11250

BOLT

SN: 10001-UP

8шт.

20

01643-33380

WASHER

SN: 10001-UP

8шт.

21

195-71-11510

NUT

SN: 10001-UP

8шт.

22

198-71-21551

PIN

SN: 10049-UP

1шт.

22

0

PIN

SN: 10001-10048

1шт.

23

198-71-21490

PIN

SN: 10001-UP

1шт.

24

198-71-21610

LOCK

SN: 10049-UP

1шт.

24

0

LOCK

SN: 10001-10048

1шт.

25

198-71-21691

LOCK

SN: 10049-UP

1шт.

25

0

LOCK

SN: 10001-10048

1шт.

26

01010-52050

BOLT

SN: 10001-UP

6шт.

27

01643-32060

WASHER

SN: 10001-UP

6шт.

28

198-71-21490

PIN

SN: 10001-UP

1шт.

29

198-71-21551

PIN

SN: 10049-UP

1шт.

29

0

PIN

SN: 10001-10048

1шт.

30

198-71-21691

LOCK

SN: 10049-UP

1шт.

30

0

LOCK

SN: 10001-10048

1шт.

31

198-71-21610

LOCK

SN: 10049-UP

1шт.

31

0

LOCK

SN: 10001-10048

1шт.

32

01010-52050

BOLT

SN: 10001-UP

6шт.

33

01643-32060

WASHER

SN: 10001-UP

6шт.

34

198-71-21560

PIN

SN: 10001-UP

2шт.

35

198-71-21480

LOCK

SN: 10001-UP

2шт.

36

01010-52050

BOLT

SN: 10001-UP

4шт.

37

01643-32060

WASHER

SN: 10001-UP

4шт.

38

09255-03115

PIN

SN: 10001-UP

1шт.

39

04082-00212

LOCK

SN: 10001-UP

1шт.

40

01010-51225

BOLT

SN: 10001-UP

2шт.

41

01643-31232

WASHER

SN: 10001-UP

2шт.

42

198-71-21240

COVER

SN: 10001-UP

1шт.

43

01010-52050

BOLT

SN: 10001-UP

6шт.

44

01643-32060

WASHER

SN: 10001-UP

6шт.

|$$62

====================

-1шт.

G-2

0

ARM AND BRACE GROUP

SN: 10049-UP

1шт.

G-2

0

ARM AND BRACE GROUP

SN: 10033-10048

1шт.

G-2

0

ARM AND BRACE GROUP

SN: 10013-10032

1шт.

G-2

0

ARM AND BRACE GROUP

SN: 10001-10012

1шт.

|$$67

====================

-1шт.

45

198-71-21142

ARM

SN: 10049-UP

1шт.

45

0

ARM

SN: 10013-10048

1шт.

45

0

ARM

SN: 10001-10012

1шт.

46

198-71-21222

JOINT

SN: 10049-UP

1шт.

46

0

JOINT

SN: 10013-10048

1шт.

46

0

JOINT

SN: 10001-10012

1шт.

47

198-71-21231

JOINT

SN: 10049-UP

1шт.

47

0

JOINT

SN: 10001-10048

1шт.

48

198-71-21461

BUSHING

SN: 10013-UP

1шт.

48

198-71-21460

BUSHING

SN: 10001-10012

1шт.

49

04071-00210

RING,SNAP

SN: 10001-UP

1шт.

50

198-71-21151

BRACE

SN: 10033-UP

1шт.

50

198-71-21150

BRACE

SN: 10001-10032

1шт.

51

198-71-11580

ROD

SN: 10033-UP

1шт.

51

195-71-11571

ROD

SN: 10001-10032

1шт.

52

2989-01-2580

SEAL,DUST

SN: 10001-UP

1шт.

53

198-71-21650

HANDLE

SN: 10001-UP

1шт.

54

01010-51660

BOLT

SN: 10001-UP

2шт.

55

01643-31645

WASHER

SN: 10001-UP

2шт.

56

01580-11613

NUT

SN: 10001-UP

2шт.

57

198-71-21280

SCREW

SN: 10001-UP

1шт.

58

198-71-21270

SCREW

SN: 10001-UP

1шт.

59

195-71-51254

BUSHING

SN: 10049-UP

1шт.

59

0

BUSHING

SN: 10001-10048

1шт.

60

198-71-21520

LINK

SN: 10001-UP

1шт.

|$$93

====================

-1шт.

G-3

0

TRUNNION GROUP

SN: 10063-UP

1шт.

G-3

0

TRUNNION GROUP

SN: 10001-10062

1шт.

|$$96

====================

-1шт.

61

198-71-21292

TRUNNION

SN: 10063-UP

2шт.

61

0

TRUNNION

SN: 10001-10062

2шт.

62

01011-83005

BOLT

SN: 10001-UP

24шт.

63

01643-33080

WASHER

SN: 10001-UP

24шт.

|$$101

====================

-1шт.

Выбрано товаров: 101