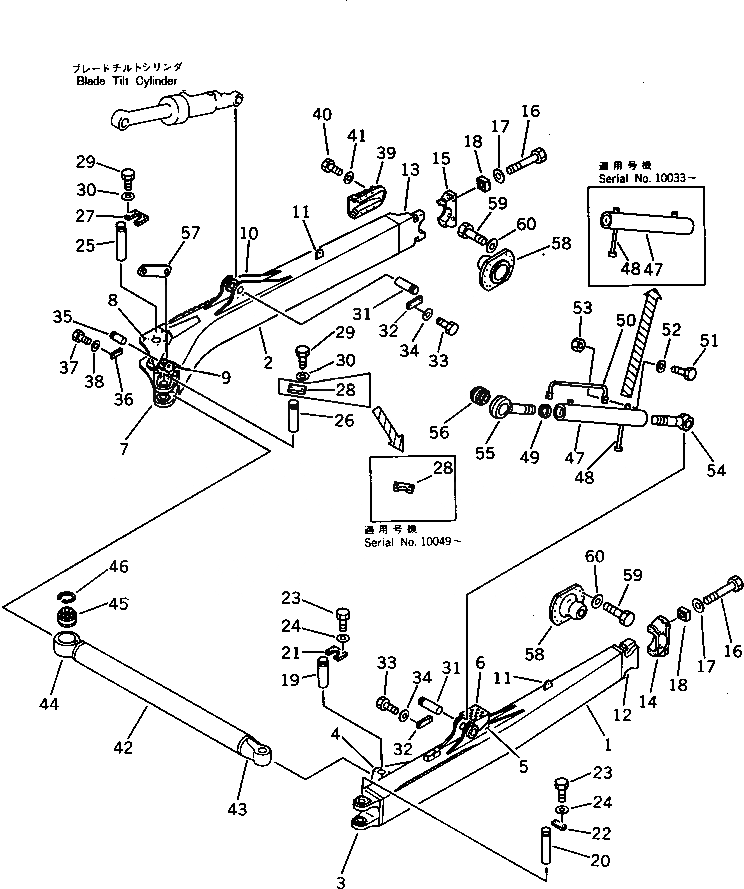
Запчасти Komatsu D475A-1 РАМА ПРЯМ. ОТВАЛА (ПРЯМ. ОТВАЛ СФЕРИЧ. ОТВАЛ) РАБОЧЕЕ ОБОРУДОВАНИЕ

Схема запчастей Komatsu D475A-1 - РАМА ПРЯМ. ОТВАЛА (ПРЯМ. ОТВАЛ СФЕРИЧ. ОТВАЛ) РАБОЧЕЕ ОБОРУДОВАНИЕ
FIT
1:1
100%

Артикул

Название

Примечание

Количество

G-1

0

FRAME GROUP,STRAIGHT TILT

SN: 10049-UP

1шт.

G-1

0

FRAME GROUP,STRAIGHT TILT

SN: 10013-10048

1шт.

G-1

0

FRAME GROUP,STRAIGHT TILT

SN: 10001-10012

1шт.

|$$4

====================

-1шт.

|$4

198-71-00201

FRAME ASS'Y,STRAIGHT TILT, L.H.

SN: 10013-UP

1шт.

|$5

198-71-00200

FRAME ASS'Y,STRAIGHT TILT, L.H.

SN: 10001-10012

1шт.

|$6

198-71-00212

FRAME ASS'Y,STRAIGHT TILT, R.H.

SN: 10049-UP

1шт.

|$7

0

FRAME ASS'Y,STRAIGHT TILT, R.H.

SN: 10013-10048

1шт.

|$8

198-71-00210

FRAME ASS'Y,STRAIGHT TILT, R.H.

SN: 10001-10012

1шт.

1

0

FRAME,L.H.

SN: 10013-UP

1шт.

1

0

FRAME,L.H.

SN: 10001-10012

1шт.

2

0

FRAME,R.H.

SN: 10049-UP

1шт.

2

0

FRAME,R.H.

SN: 10013-10048

1шт.

2

198-71-21130

FRAME,R.H.

SN: 10001-10012

1шт.

3

198-71-21161

BRACKET,L.H. (WELDED)

SN: 10013-UP

1шт.

3

198-71-21160

BRACKET (WELDED)

SN: 10001-10012

1шт.

4

198-71-21420

BRACKET,L.H. (WELDED)

SN: 10001-UP

1шт.

5

198-71-21430

BRACKET,L.H. (WELDED)

SN: 10001-UP

1шт.

6

198-71-21670

STEP,L.H. (WELDED)

SN: 10001-UP

1шт.

7

198-71-21251

BRACKET,R.H. (WELDED)

SN: 10013-UP

1шт.

7

198-71-21250

BRACKET (WELDED)

SN: 10001-10012

1шт.

8

198-71-21442

BRACKET (WELDED)

SN: 10049-UP

1шт.

8

198-71-21441

BRACKET,R.H. (WELDED)

SN: 10001-10048

1шт.

9

198-71-21340

BRACKET,R.H. (WELDED)

SN: 10001-UP

1шт.

10

198-71-21450

BRACKET,R.H. (WELDED)

SN: 10001-UP

1шт.

11

09545-00222

BRACKET (WELDED)

SN: 10001-UP

2шт.

12

198-71-00220

BRACKET AND CAP A.,L.H.

SN: 10001-UP

1шт.

12

198-71-00230

BRACKET AND CAP A.,R.H.

SN: 10001-UP

1шт.

12

198-71-21170

BRACKET,L.H. (WELDED)

SN: 10001-UP

1шт.

13

198-71-21190

BRACKET,R.H. (WELDED)

SN: 10001-UP

1шт.

14

198-71-21180

CAP,L.H.

SN: 10001-UP

1шт.

15

198-71-21210

CAP,R.H.

SN: 10001-UP

1шт.

16

198-61-11250

BOLT

SN: 10001-UP

8шт.

17

01643-33380

WASHER

SN: 10001-UP

8шт.

18

195-71-11510

NUT

SN: 10001-UP

8шт.

19

198-71-21551

PIN

SN: 10049-UP

1шт.

19

0

PIN

SN: 10001-10048

1шт.

20

198-71-21490

PIN

SN: 10001-UP

1шт.

21

198-71-21610

LOCK

SN: 10049-UP

1шт.

21

0

LOCK

SN: 10001-10048

1шт.

22

198-71-21691

LOCK

SN: 10049-UP

1шт.

22

0

LOCK

SN: 10001-10048

1шт.

23

01010-52050

BOLT

SN: 10001-UP

6шт.

24

01643-32060

WASHER

SN: 10001-UP

6шт.

25

198-71-21490

PIN

SN: 10001-UP

1шт.

26

198-71-21551

PIN

SN: 10049-UP

1шт.

26

0

PIN

SN: 10001-10048

1шт.

27

198-71-21691

LOCK

SN: 10049-UP

1шт.

27

0

LOCK

SN: 10001-10048

1шт.

28

198-71-21610

LOCK

SN: 10049-UP

1шт.

28

0

LOCK

SN: 10001-10048

1шт.

29

01010-52050

BOLT

SN: 10001-UP

6шт.

30

01643-32060

WASHER

SN: 10001-UP

6шт.

31

198-71-21560

PIN

SN: 10001-UP

2шт.

32

198-71-21480

LOCK

SN: 10001-UP

2шт.

33

01010-52050

BOLT

SN: 10001-UP

4шт.

34

01643-32060

WASHER

SN: 10001-UP

4шт.

35

09255-03115

PIN

SN: 10001-UP

1шт.

36

04082-00212

LOCK

SN: 10001-UP

1шт.

37

01010-51225

BOLT

SN: 10001-UP

2шт.

38

01643-31232

WASHER

SN: 10001-UP

2шт.

39

198-71-21240

COVER

SN: 10001-UP

1шт.

40

01010-52050

BOLT

SN: 10001-UP

6шт.

41

01643-32060

WASHER

SN: 10001-UP

6шт.

|$$65

====================

-1шт.

G-2

0

ARM AND BRACE GROUP

SN: 10049-UP

1шт.

G-2

0

ARM AND BRACE GROUP

SN: 10033-10048

1шт.

G-2

0

ARM AND BRACE GROUP

SN: 10013-10032

1шт.

G-2

0

ARM AND BRACE GROUP

SN: 10001-10012

1шт.

|$$70

====================

-1шт.

42

198-71-21142

ARM

SN: 10049-UP

1шт.

42

0

ARM

SN: 10013-10048

1шт.

42

0

ARM

SN: 10001-10012

1шт.

43

198-71-21222

JOINT

SN: 10049-UP

1шт.

43

0

JOINT

SN: 10013-10048

1шт.

43

0

JOINT

SN: 10001-10012

1шт.

44

198-71-21231

JOINT

SN: 10049-UP

1шт.

44

0

JOINT

SN: 10001-10048

1шт.

45

198-71-21461

BUSHING

SN: 10013-UP

1шт.

45

198-71-21460

BUSHING

SN: 10001-10012

1шт.

46

04071-00210

RING,SNAP

SN: 10001-UP

1шт.

47

198-71-21151

BRACE

SN: 10033-UP

1шт.

47

198-71-21150

BRACE

SN: 10001-10032

1шт.

48

198-71-11580

ROD

SN: 10033-UP

1шт.

48

195-71-11571

ROD

SN: 10001-10032

1шт.

49

2989-01-2580

SEAL,DUST

SN: 10001-UP

1шт.

50

198-71-21650

HANDLE

SN: 10001-UP

1шт.

51

01010-51660

BOLT

SN: 10001-UP

2шт.

52

01643-31645

WASHER

SN: 10001-UP

2шт.

53

01580-11613

NUT

SN: 10001-UP

2шт.

54

198-71-21280

SCREW

SN: 10001-UP

1шт.

55

198-71-21270

SCREW

SN: 10001-UP

1шт.

56

195-71-51254

BUSHING

SN: 10049-UP

1шт.

56

0

BUSHING

SN: 10001-10048

-2шт.

57

198-71-21520

LINK

SN: 10001-UP

1шт.

|$$96

====================

-1шт.

G-3

0

TRUNNION GROUP

SN: 10063-UP

1шт.

G-3

0

TRUNNION GROUP

SN: 10001-10062

1шт.

|$$99

====================

-1шт.

58

198-71-21292

TRUNNION

SN: 10063-UP

2шт.

58

0

TRUNNION

SN: 10001-10062

2шт.

59

01011-83005

BOLT

SN: 10001-UP

24шт.

60

01643-33080

WASHER

SN: 10001-UP

24шт.

|$$104

====================

-1шт.

Выбрано товаров: 104