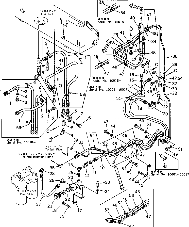
Запчасти Komatsu D475A-1 ТОПЛИВОПРОВОД. КОМПОНЕНТЫ ДВИГАТЕЛЯ И ЭЛЕКТРИКА

Схема запчастей Komatsu D475A-1 - ТОПЛИВОПРОВОД. КОМПОНЕНТЫ ДВИГАТЕЛЯ И ЭЛЕКТРИКА
FIT
1:1
100%

Артикул

Название

Примечание

Количество

1

07102-20610

HOSE

SN: 10001-UP

2шт.

2

08036-23014

CLIP

SN: 10018-UP

4шт.

2

08036-23014

CLIP

SN: 10001-10017

1шт.

3

01010-51220

BOLT

SN: 10018-UP

4шт.

3

01010-51220

BOLT

SN: 10001-10017

1шт.

4

01643-31232

WASHER

SN: 10018-UP

4шт.

4

01643-31232

WASHER

SN: 10001-10017

1шт.

5

198-04-31141

BRACKET

SN: 10001-UP

1шт.

6

01010-51230

BOLT

SN: 10001-UP

2шт.

7

01643-31232

WASHER

SN: 10001-UP

2шт.

8

07700-40460

VALVE

SN: 10001-UP

1шт.

9

566-35-42470

ELBOW

SN: 10001-UP

1шт.

10

07102-20555

HOSE

SN: 10001-UP

1шт.

11

07238-10522

CONNECTOR

SN: 10001-UP

1шт.

12

07700-40460

VALVE

SN: 10001-UP

1шт.

13

195-04-11450

ELBOW

SN: 10001-UP

1шт.

14

424-09-12570

CLIP

SN: 10018-UP

2шт.

14

424-09-12570

CLIP

SN: 10001-10017

3шт.

15

01010-51220

BOLT

SN: 10018-UP

1шт.

15

01010-51220

BOLT

SN: 10001-10017

2шт.

16

01643-31232

WASHER

SN: 10018-UP

1шт.

16

01643-31232

WASHER

SN: 10001-10017

2шт.

17

198-04-31151

BRACKET

SN: 10001-UP

1шт.

18

01010-51230

BOLT

SN: 10001-UP

2шт.

19

01643-31232

WASHER

SN: 10001-UP

2шт.

20

198-04-11231

CASE,STRAINER

SN: 10001-UP

1шт.

21

195-04-11150

STRAINER

SN: 10001-UP

1шт.

22

07000-03065

O-RING

SN: 10001-UP

1шт.

23

01010-51225

BOLT

SN: 10001-UP

2шт.

24

01643-31232

WASHER

SN: 10001-UP

2шт.

25

07326-10604

ADAPTER

SN: 10001-UP

1шт.

26

198-04-11240

ELBOW

SN: 10001-UP

1шт.

27

07102-20507

HOSE

SN: 10001-UP

1шт.

28

287-04-11120

ELBOW

SN: 10001-UP

1шт.

29

07102-20531

HOSE

SN: 10001-UP

1шт.

30

198-04-31230

ELBOW

SN: 10001-UP

1шт.

31

01010-51225

BOLT

SN: 10001-UP

2шт.

32

01643-31232

WASHER

SN: 10001-UP

2шт.

33

07102-20559

HOSE

SN: 10001-UP

1шт.

34

07238-10522

CONNECTOR

SN: 10001-UP

1шт.

35

287-04-11120

ELBOW

SN: 10001-UP

1шт.

36

07270-50427

TUBE

SN: 10001-UP

1шт.

37

195-04-31240

TUBE

SN: 10001-UP

1шт.

38

07270-50459

TUBE

SN: 10029-UP

1шт.

38

0

TUBE

SN: 10003-10028

1шт.

38

0

TUBE

SN: 10001-10002

1шт.

39

07285-00080

CLIP

SN: 10001-UP

4шт.

40

07209-01040

NIPPLE

SN: 10001-UP

1шт.

41

08036-23014

CLIP

SN: 10001-10017

2шт.

42

198-04-31190

PLATE

SN: 10001-UP

1шт.

43

01010-51220

BOLT

SN: 10001-UP

3шт.

44

01643-31232

WASHER

SN: 10001-UP

3шт.

45

281-01-17790

SEAT

SN: 10001-10017

1шт.

46

198-61-14180

CLIP

SN: 10018-UP

13шт.

46

198-61-14180

CLIP

SN: 10001-10017

7шт.

47

175-06-36130

CLAMP

SN: 10018-UP

13шт.

47

175-06-36130

CLAMP

SN: 10001-10017

12шт.

48

424-09-12570

CLIP

SN: 10001-UP

7шт.

49

01010-51220

BOLT

SN: 10018-UP

15шт.

49

01010-51220

BOLT

SN: 10001-10017

12шт.

50

01010-51280

BOLT

SN: 10001-10017

1шт.

51

01643-31232

WASHER

SN: 10018-UP

15шт.

51

01643-31232

WASHER

SN: 10001-10017

13шт.

52

08034-00519

BAND

SN: 10001-10017

2шт.

53

08034-00536

BAND

SN: 10018-UP

5шт.

53

08034-00823

BAND

SN: 10001-10017

2шт.

54

08036-10814

CLIP

SN: 10018-UP

2шт.

Выбрано товаров: 67