Запчасти Komatsu D475A-1 ПАНЕЛЬ ПРИБОРОВ (/) КОМПОНЕНТЫ ДВИГАТЕЛЯ И ЭЛЕКТРИКА

Схема запчастей Komatsu D475A-1 - ПАНЕЛЬ ПРИБОРОВ (/) КОМПОНЕНТЫ ДВИГАТЕЛЯ И ЭЛЕКТРИКА
FIT
1:1
100%

Артикул

Название

Примечание

Количество

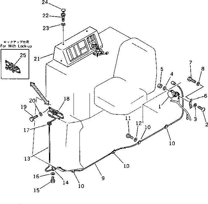
1

08166-02480

BUZZER,CAUTION

SN: 10001-UP

1шт.

2

01220-40616

SCREW

SN: 10001-UP

2шт.

3

01640-20610

WASHER

SN: 10001-UP

2шт.

4

01602-20619

WASHER,SPRING

SN: 10001-UP

2шт.

5

01580-10605

NUT

SN: 10001-UP

2шт.

6

195-06-41410

PLATE

SN: 10001-UP

1шт.

7

01010-50616

BOLT

SN: 10001-UP

2шт.

8

01602-20619

WASHER,SPRING

SN: 10001-UP

2шт.

9

195-06-41680

WIRING HARNESS,(WITHOUT CAB)

SN: 10001-UP

1шт.

10

08036-01414

CLIP,(WITHOUT CAB)

SN: 10001-UP

4шт.

11

01010-51220

BOLT,(WITHOUT CAB)

SN: 10001-UP

4шт.

12

01643-31232

WASHER,(WITHOUT CAB)

SN: 10001-UP

4шт.

13

195-06-41390

WIRING HARNESS,(WITHOUT CAB)

SN: 10001-UP

1шт.

14

195-06-41840

CLIP,(WITHOUT CAB)

SN: 10001-UP

1шт.

15

01010-51220

BOLT,(WITHOUT CAB)

SN: 10001-UP

1шт.

16

01643-31232

WASHER,(WITHOUT CAB)

SN: 10001-UP

1шт.

17

195-06-41850

GROMMET,(WITHOUT CAB)

SN: 10001-UP

1шт.

|$17

195-06-41360

DISPLAY ASS'Y,(WITHOUT CAB)

SN: 10001-UP

1шт.

18

195-06-41350

LAMP

SN: 10001-UP

1шт.

18

08111-12430

BULB, 3W

SN: 10001-UP

1шт.

19

01010-50620

BOLT,(WITHOUT CAB)

SN: 10001-UP

4шт.

20

01602-20619

WASHER,SPRING (WITHOUT CAB)

SN: 10001-UP

4шт.

21

195-06-41580

COVER,(WITHOUT CAB)

SN: 10001-UP

1шт.

22

01252-40616

BOLT,(WITHOUT CAB)

SN: 10001-UP

4шт.

23

01602-20619

WASHER,SPRING (WITHOUT CAB)

SN: 10001-UP

4шт.

24

175-06-38570

CAP,(WITHOUT CAB)

SN: 10001-UP

4шт.

|$26

195-06-41690

DISPLAY ASS'Y,(WITHOUT CAB)

SN: 10001-UP

1шт.

25

195-06-41350

LAMP

SN: 10001-UP

2шт.

25

08111-12430

BULB, 3W

SN: 10001-UP

1шт.

Выбрано товаров: 29