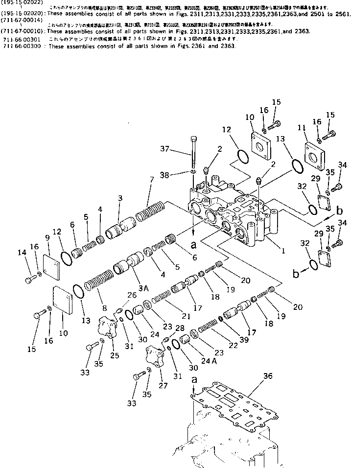
Запчасти Komatsu D475A-1 ГИДРОТРАНСФОРМАТОР КЛАПАН (/) (С БЛОКИР.-UP) ГИДРОТРАНСФОРМАТОР И ТРАНСМИССИЯ

Схема запчастей Komatsu D475A-1 - ГИДРОТРАНСФОРМАТОР КЛАПАН (/) (С БЛОКИР.-UP) ГИДРОТРАНСФОРМАТОР И ТРАНСМИССИЯ
FIT
1:1
100%

Артикул

Название

Примечание

Количество

|$0

198-15-01001

TORQFLOW ASS'Y

SN: 10001-(1019)

1шт.

|$1

711-66-00052

TORQUE CONVERTER A.

SN: (1025)-UP

1шт.

|$2

0

TORQUE CONVERTER A. (TCS52-1B)

SN: (1020)-(1024)

1шт.

|$3

0

TORQUE CONVERTER A. (TCS52-1B)

SN: 10001-(1019)

1шт.

|$4

711-66-00301

VALVE ASS'Y

SN: (1025)-UP

1шт.

|$5

711-66-00300

VALVE ASS'Y

SN: 10001-(1024)

1шт.

|$6

711-66-00350

BODY ASS'Y

SN: 10001-UP

1шт.

1

0

BODY

SN: 10001-UP

1шт.

2

07042-20108

PLUG

SN: 10001-UP

2шт.

3

711-66-16620

SPOOL

SN: 10001-UP

2шт.

4

427-15-15490

VALVE

SN: 10001-UP

2шт.

5

427-15-16130

SPRING

SN: 10001-UP

2шт.

6

427-15-15480

VALVE

SN: 10001-UP

2шт.

7

711-66-16650

SPRING

SN: 10001-UP

1шт.

8

711-66-16640

SPRING

SN: 10001-UP

1шт.

9

711-44-16340

PLATE

SN: 10001-UP

1шт.

10

711-66-16670

PLATE

SN: 10001-UP

2шт.

11

711-66-16660

PLATE

SN: 10001-UP

1шт.

12

07000-63045

O-RING

SN: 10001-UP

2шт.

13

07000-62055

O-RING

SN: 10001-UP

2шт.

14

01010-51025

BOLT

SN: 10001-UP

2шт.

15

01010-51035

BOLT

SN: 10001-UP

6шт.

16

01602-21030

WASHER,SPRING

SN: 10001-UP

8шт.

17

711-66-16820

SPOOL

SN: 10001-UP

2шт.

18

195-15-15130

VALVE

SN: 10001-UP

2шт.

19

180-14-25560

SPRING

SN: 10001-UP

2шт.

20

175-15-15550

VALVE

SN: 10001-UP

2шт.

21

711-66-16841

SPRING

SN: (1025)-UP

1шт.

21

711-66-16840

SPRING

SN: 10001-(1024)

1шт.

22

711-66-16680

SPRING

SN: 10001-UP

1шт.

23

711-66-16870

RING

SN: 10001-UP

2шт.

24

711-66-16830

PISTON

SN: 10001-UP

2шт.

25

711-66-00340

COVER ASS'Y

SN: 10001-UP

1шт.

25

0

COVER

SN: 10001-UP

1шт.

26

07042-20108

PLUG

SN: 10001-UP

1шт.

27

711-66-00320

COVER ASS'Y

SN: 10001-UP

1шт.

27

0

COVER

SN: 10001-UP

1шт.

28

07042-20108

PLUG

SN: 10001-UP

1шт.

29

711-48-16150

PLATE

SN: 10001-UP

2шт.

30

07000-63038

O-RING

SN: 10001-UP

2шт.

31

07000-62010

O-RING

SN: 10001-UP

2шт.

32

07000-63030

O-RING

SN: 10001-UP

2шт.

33

01010-51035

BOLT

SN: 10001-UP

4шт.

34

01010-51025

BOLT

SN: 10001-UP

4шт.

35

01602-21030

WASHER,SPRING

SN: 10001-UP

8шт.

36

711-66-16910

GASKET

SN: 10001-UP

1шт.

37

01011-51010

BOLT

SN: 10001-UP

8шт.

38

01602-21030

WASHER,SPRING

SN: 10001-UP

8шт.

Выбрано товаров: 0