Запчасти Komatsu D475A-1 МЕХАНИЗМ УПРАВЛ-Я ПОДАЧЕЙ ТОПЛИВА (/) КОМПОНЕНТЫ ДВИГАТЕЛЯ И ЭЛЕКТРИКА

Схема запчастей Komatsu D475A-1 - МЕХАНИЗМ УПРАВЛ-Я ПОДАЧЕЙ ТОПЛИВА (/) КОМПОНЕНТЫ ДВИГАТЕЛЯ И ЭЛЕКТРИКА
FIT
1:1
100%

Артикул

Название

Примечание

Количество

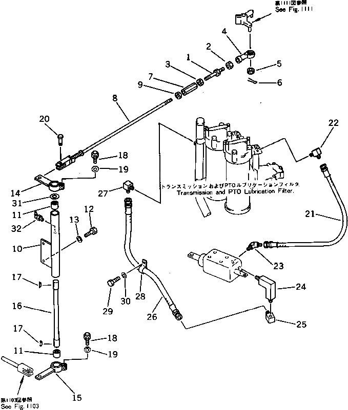
1

04248-31013

ROD

SN: 10001-UP

1шт.

2

01582-11008

NUT

SN: 10001-UP

1шт.

3

01508-21006

NUT, L.H. THREAD,L.H. THREAD

SN: 10001-UP

1шт.

4

04250-81056

END,ROD

SN: 10001-UP

1шт.

5

01593-11008

NUT

SN: 10001-UP

1шт.

6

04050-12018

PIN,COTTER

SN: 10001-UP

1шт.

7

176-43-43190

BUCKLE,TURN

SN: 10001-UP

1шт.

8

198-43-41710

ROD ASS'Y

SN: 10001-UP

1шт.

9

01582-11008

NUT

SN: 10001-UP

1шт.

10

198-43-41751

BRACKET

SN: 10062-UP

1шт.

10

198-43-41750

BRACKET

SN: 10001-10061

1шт.

11

195-61-41290

BEARING,NEEDLE

SN: 10062-UP

2шт.

11

0

BEARING,NEEDLE

SN: 10001-10061

2шт.

12

01010-51230

BOLT

SN: 10001-UP

2шт.

13

01643-31232

WASHER

SN: 10001-UP

2шт.

14

198-43-41720

LEVER

SN: 10001-UP

1шт.

15

198-43-41740

LEVER

SN: 10001-UP

1шт.

16

198-43-41730

SHAFT

SN: 10001-UP

1шт.

17

04010-00732

KEY

SN: 10001-UP

2шт.

18

01010-51245

BOLT

SN: 10001-UP

2шт.

19

01643-31232

WASHER

SN: 10001-UP

2шт.

20

195-43-42190

PIN

SN: 10001-UP

1шт.

21

07102-20406

HOSE

SN: 10001-UP

1шт.

22

154-865-1240

ELBOW

SN: 10001-UP

1шт.

23

569-35-13380

ELBOW

SN: 10001-UP

1шт.

24

198-43-41840

ELBOW

SN: 10001-UP

1шт.

25

198-43-41850

NIPPLE

SN: 10001-UP

1шт.

26

07102-20508

HOSE

SN: 10001-UP

1шт.

27

287-04-11120

ELBOW

SN: 10001-UP

1шт.

28

08036-22514

CLIP

SN: 10001-UP

1шт.

29

01010-51220

BOLT

SN: 10001-UP

1шт.

30

01643-31232

WASHER

SN: 10001-UP

1шт.

31

195-43-42480

WASHER

SN: 10062-UP

1шт.

32

07020-00675

FITTING,GREASE

SN: 10062-UP

1шт.

Выбрано товаров: 34