Запчасти Komatsu D475A-1 ГИДРОТРАНСФОРМАТОР КЛАПАН (/) (С БЛОКИР.-UP) ГИДРОТРАНСФОРМАТОР И ТРАНСМИССИЯ

Схема запчастей Komatsu D475A-1 - ГИДРОТРАНСФОРМАТОР КЛАПАН (/) (С БЛОКИР.-UP) ГИДРОТРАНСФОРМАТОР И ТРАНСМИССИЯ
FIT
1:1
100%

Артикул

Название

Примечание

Количество

|$0

198-15-01001

TORQFLOW ASS'Y

SN: 10001-(1019)

1шт.

|$1

711-66-00052

TORQUE CONVERTER A. (TCS52-1C)

SN: (1025)-UP

1шт.

|$2

0

TORQUE CONVERTER A. (TCS52-1B)

SN: (1020)-(1024)

1шт.

|$3

0

TORQUE CONVERTER A. (TCS52-1B)

SN: 10001-(1019)

1шт.

|$4

711-66-00300

VALVE ASS'Y

SN: 10001-UP

1шт.

|$5

711-66-00310

BODY ASS'Y

SN: 10001-UP

1шт.

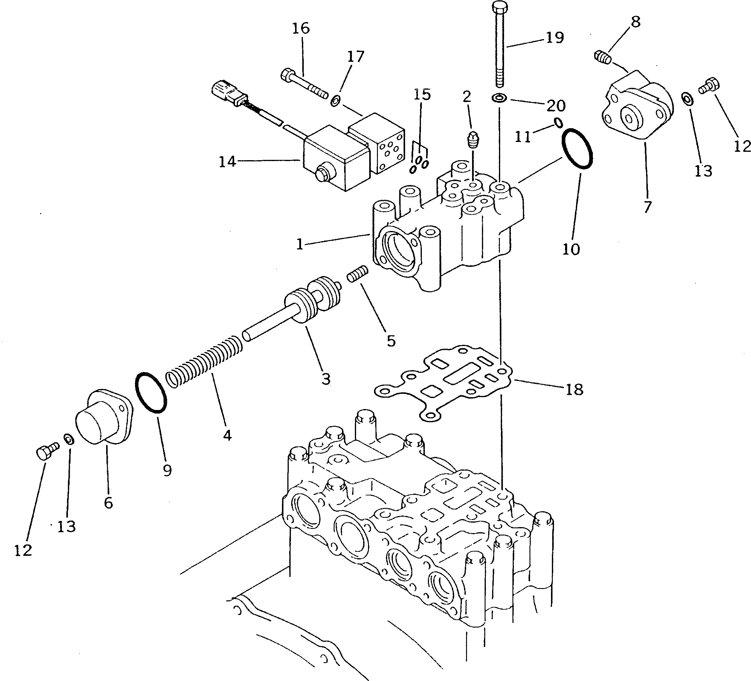
1

0

BODY

SN: 10001-UP

1шт.

2

07042-20108

PLUG

SN: 10001-UP

4шт.

3

711-66-16721

SPOOL

SN: 10001-UP

1шт.

4

711-66-16741

SPRING

SN: 10001-UP

1шт.

5

711-66-16731

PISTON

SN: 10001-UP

1шт.

6

711-66-16751

COVER

SN: 10001-UP

1шт.

|$12

711-66-00330

COVER ASS'Y

SN: 10001-UP

1шт.

7

0

COVER

SN: 10001-UP

1шт.

8

07042-20108

PLUG

SN: 10001-UP

1шт.

9

07000-63048

O-RING

SN: 10001-UP

1шт.

10

07000-63045

O-RING

SN: 10001-UP

1шт.

11

07000-62010

O-RING

SN: 10001-UP

1шт.

12

01010-51025

BOLT

SN: 10001-UP

4шт.

13

01602-21030

WASHER,SPRING

SN: 10001-UP

4шт.

14

711-20-11311

VALVE ASS'Y,SOLENOID

SN: 10001-UP

1шт.

15

07000-21006

O-RING

SN: 10001-UP

3шт.

16

01010-30655

BOLT

SN: 10001-UP

4шт.

17

01602-00619

WASHER,SPRING

SN: 10001-UP

4шт.

18

711-66-16920

GASKET

SN: 10001-UP

1шт.

19

01011-51090

BOLT

SN: 10001-UP

6шт.

20

01602-21030

WASHER,SPRING

SN: 10001-UP

6шт.

Выбрано товаров: 27