Запчасти Komatsu D475A-2 КЛАПАН РУЛЕВОГО УПРАВЛЕНИЯ (/) СИСТЕМА УПРАВЛЕНИЯ

Схема запчастей Komatsu D475A-2 - КЛАПАН РУЛЕВОГО УПРАВЛЕНИЯ (/) СИСТЕМА УПРАВЛЕНИЯ
FIT
1:1
100%

Артикул

Название

Примечание

Количество

|$0

198-00-00030

POWER LINE ASS'Y,(WITHOUT SHOE SLIP CONTROL)

SN: 10201-UP

1шт.

|$1

198-00-00040

POWER LINE ASS'Y,(WITH SHOE SLIP CONTROL)

SN: 10201-UP

1шт.

|$$3

THESE ASSEMBLIES CONSIST OF ALL PARTS SHOWN IN FIGS.2301 TO 2515,2603 TO 2622, AND 4501 T0 4622.

-1шт.

|$3

195-40-00600

STEERING VALVE ASS'Y

SN: 10350-UP

1шт.

|$4

0

STEERING VALVE ASS'Y

SN: 10201-10349

1шт.

|$$6

THESE ASSEMBLIES CONSIST OF ALL PARTS SHOWN IN FIGS.4501 TO 4503.

-1шт.

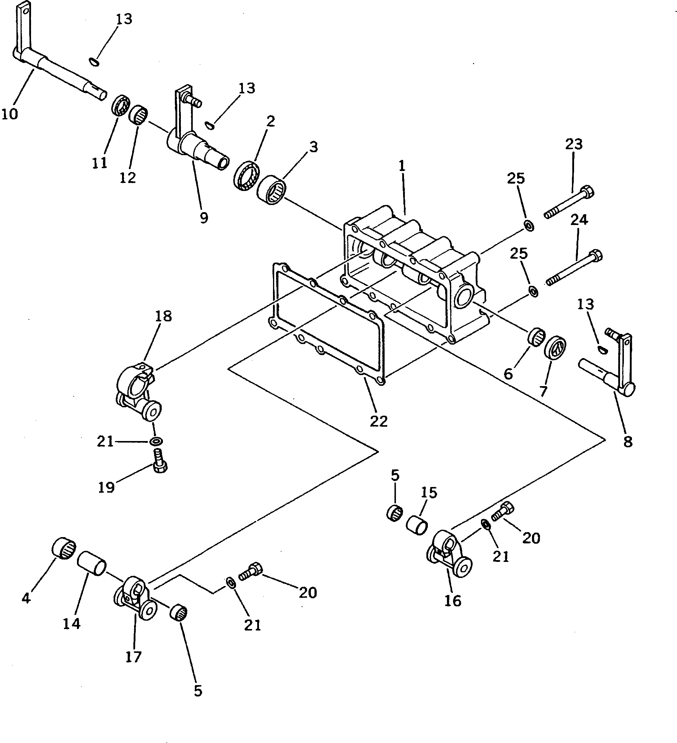
1

195-40-41511

COVER

SN: 10201-UP

1шт.

2

195-40-41590

SEAL,OIL

SN: 10201-UP

1шт.

3

06120-04020

BEARING,NEEDLE

SN: 10201-UP

1шт.

4

06120-03020

BEARING,NEEDLE

SN: 10201-UP

1шт.

5

06120-01612

BEARING,NEEDLE

SN: 10201-UP

2шт.

6

06120-02216

BEARING,NEEDLE

SN: 10201-UP

1шт.

7

175-40-31270

SEAL,OIL

SN: 10201-UP

1шт.

8

195-40-41540

LEVER,NEEDLE

SN: 10201-UP

1шт.

9

195-40-41550

LEVER

SN: 10201-UP

1шт.

10

195-40-41610

LEVER

SN: 10201-UP

1шт.

11

175-40-31270

SEAL,OIL

SN: 10201-UP

1шт.

12

06120-02216

BEARING,NEEDLE

SN: 10201-UP

1шт.

13

04010-00516

KEY

SN: 10201-UP

3шт.

14

195-40-41640

SPACER

SN: 10201-UP

1шт.

15

195-40-41650

SPACER

SN: 10201-UP

1шт.

16

195-40-41700

LEVER ASS'Y,L.H.

SN: 10201-UP

1шт.

17

195-40-41600

LEVER ASS'Y

SN: 10201-UP

1шт.

18

195-40-41800

LEVER ASS'Y,R.H.

SN: 10201-UP

1шт.

19

01010-50835

BOLT

SN: 10201-UP

1шт.

20

01010-50840

BOLT

SN: 10201-UP

2шт.

21

01643-30823

WASHER

SN: 10201-UP

3шт.

22

195-40-41531

GASKET

SN: 10350-UP

1шт.

22

0

GASKET

SN: 10201-10349

1шт.

23

6132-11-6460

BOLT

SN: 10201-UP

4шт.

24

6164-61-7170

BOLT

SN: 10201-UP

5шт.

25

01643-30823

WASHER

SN: 10201-UP

9шт.

Выбрано товаров: 32