Запчасти Komatsu D475A-2 КРЫЛО ЧАСТИ КОРПУСА

Схема запчастей Komatsu D475A-2 - КРЫЛО ЧАСТИ КОРПУСА
FIT
1:1
100%

Артикул

Название

Примечание

Количество

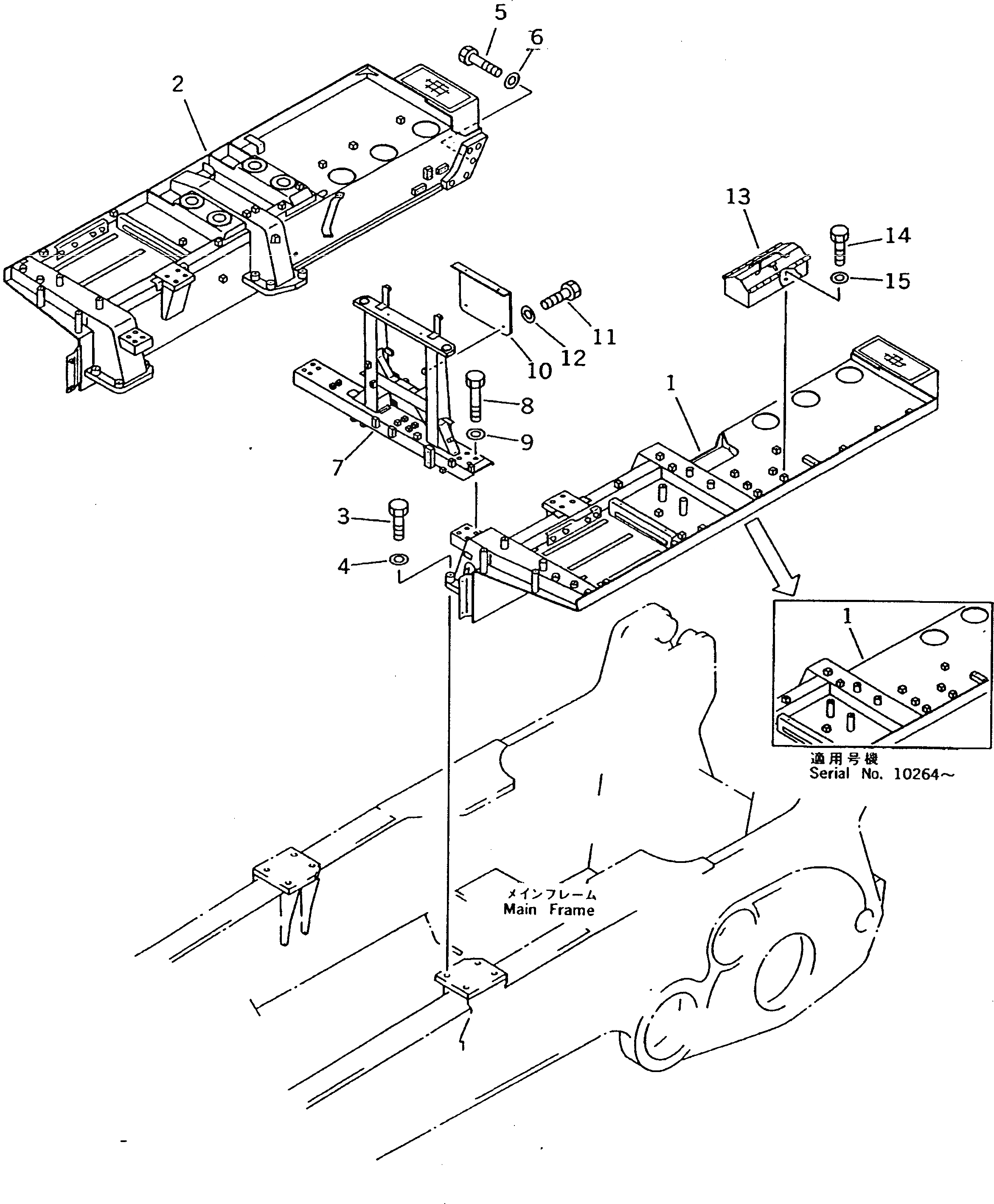
1

198-54-46122

FENDER,L.H.

SN: 10365-UP

1шт.

1

198-54-46121

FENDER,L.H.

SN: 10264-10364

1шт.

1

198-54-46120

FENDER,L.H.

SN: 10201-10263

1шт.

2

198-54-46131

FENDER,R.H.

SN: 10365-UP

1шт.

2

198-54-46130

FENDER,R.H.

SN: 10201-10364

1шт.

3

01011-52400

BOLT

SN: 10201-UP

16шт.

4

01643-32460

WASHER

SN: 10201-UP

16шт.

5

01010-83090

BOLT

SN: 10201-UP

10шт.

6

01643-33080

WASHER

SN: 10201-UP

10шт.

7

198-54-45390

BRACKET

SN: 10201-UP

1шт.

8

01011-52440

BOLT

SN: 10201-UP

8шт.

9

01643-32460

WASHER

SN: 10201-UP

8шт.

10

198-54-46750

PLATE

SN: 10201-UP

1шт.

11

01010-51225

BOLT

SN: 10201-UP

4шт.

12

01643-31232

WASHER

SN: 10201-UP

4шт.

13

175-98-21171

TOOL,TOOL

SN: 10201-UP

1шт.

14

01010-51225

BOLT

SN: 10201-UP

4шт.

15

01643-31232

WASHER

SN: 10201-UP

4шт.

Выбрано товаров: 18