Запчасти Komatsu D475A-2 СТАЛЬНАЯ КАБИНА (/) (ФУРНИТУРА В КАБИНЕ¤ ПЕРЕДН.) ЧАСТИ КОРПУСА

Схема запчастей Komatsu D475A-2 - СТАЛЬНАЯ КАБИНА (/) (ФУРНИТУРА В КАБИНЕ¤ ПЕРЕДН.) ЧАСТИ КОРПУСА
FIT
1:1
100%

Артикул

Название

Примечание

Количество

G-1

0

STEEL CAB GROUP

SN: 10201-UP

1шт.

|$$2

====================

-1шт.

|$2

198-Z11-0022

STEEL CAB ASS'Y

SN: 10365-UP

1шт.

|$3

0

STEEL CAB ASS'Y

SN: 10279-10364

1шт.

|$4

0

STEEL CAB ASS'Y

SN: 10201-10278

1шт.

|$$6

THESE ASSEMBLIES CONSIST OF ALL PARTS SHOWN IN FIGS.5501 TO 5512.

-1шт.

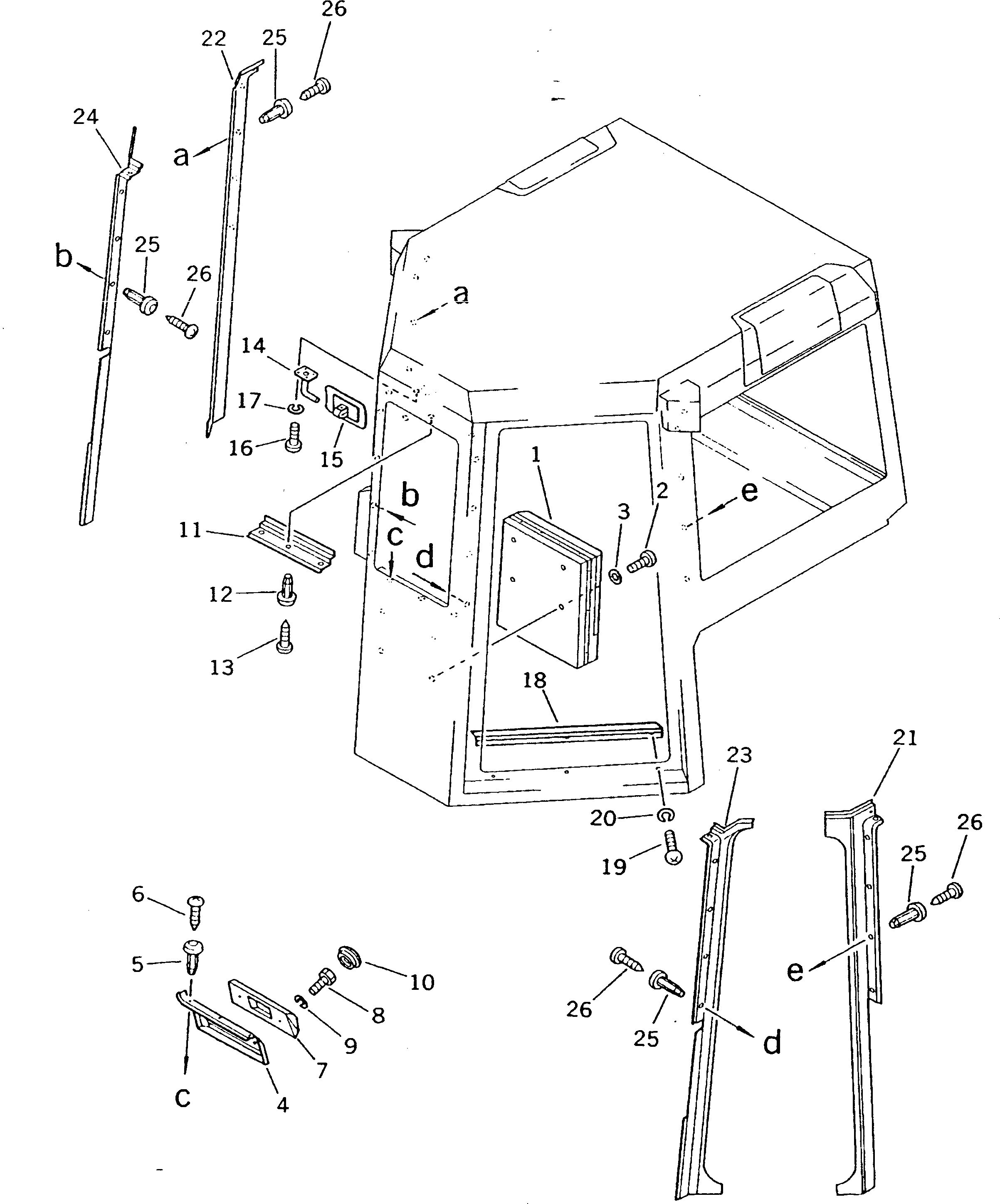
1

195-Z11-2370

BOX

SN: 10201-UP

1шт.

2

195-979-7810

SCREW

SN: 10201-UP

4шт.

3

01642-20508

WASHER

SN: 10201-UP

4шт.

4

195-Z11-1840

COVER

SN: 10201-UP

1шт.

5

195-Z11-1950

CLIP

SN: 10201-UP

3шт.

6

195-Z11-1960

SCREW

SN: 10201-UP

3шт.

7

195-Z11-1490

BRACKET

SN: 10201-UP

1шт.

8

01010-51230

BOLT

SN: 10201-UP

2шт.

9

01602-21236

WASHER,SPRING

SN: 10201-UP

2шт.

10

195-Z11-2970

CAP

SN: 10201-UP

2шт.

11

195-Z11-1830

COVER

SN: 10201-UP

1шт.

12

195-Z11-1950

CLIP

SN: 10201-UP

1шт.

13

195-Z11-1960

SCREW

SN: 10201-UP

1шт.

14

195-Z11-2170

STAY

SN: 10201-UP

1шт.

15

195-Z11-2180

MIRROR

SN: 10201-UP

1шт.

16

195-979-7710

SCREW

SN: 10201-UP

4шт.

17

01601-20513

WASHER,SPRING

SN: 10201-UP

4шт.

18

195-Z11-1750

COVER

SN: 10201-UP

2шт.

19

195-979-7810

SCREW

SN: 10201-UP

6шт.

20

01601-20513

WASHER,SPRING

SN: 10201-UP

6шт.

21

195-Z11-1850

COVER,L.H.

SN: 10201-UP

1шт.

22

195-Z11-1860

COVER,R.H.

SN: 10201-UP

1шт.

23

195-Z11-1880

COVER,L.H.

SN: 10201-UP

1шт.

24

195-Z11-1890

COVER,R.H.

SN: 10201-UP

1шт.

25

195-Z11-1950

CLIP

SN: 10201-UP

22шт.

26

195-Z11-1960

SCREW

SN: 10201-UP

22шт.

|$$33

====================

-1шт.

Выбрано товаров: 0