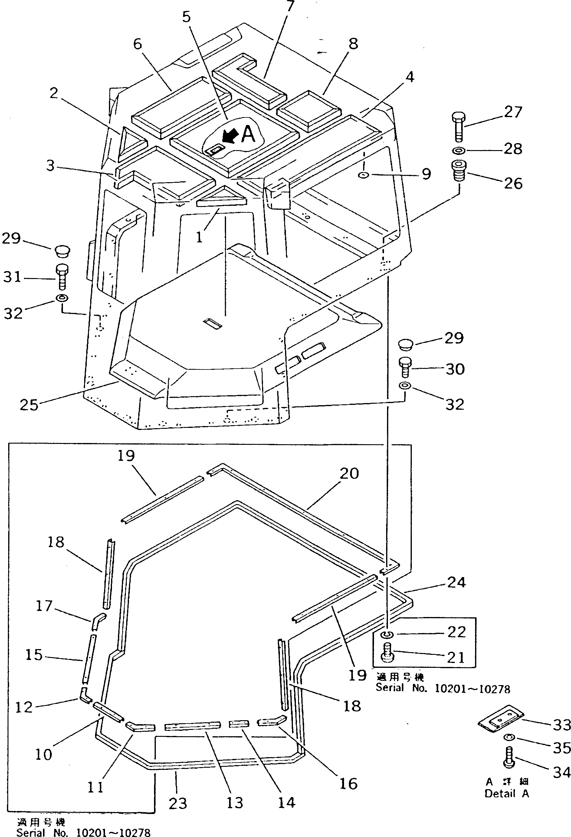
Запчасти Komatsu D475A-2 СТАЛЬНАЯ КАБИНА (8/) (ВНУТР. ВЕРХН. ПАНЕЛЬ И КАБИНА КРЕПЛЕНИЕ) ЧАСТИ КОРПУСА

Схема запчастей Komatsu D475A-2 - СТАЛЬНАЯ КАБИНА (8/) (ВНУТР. ВЕРХН. ПАНЕЛЬ И КАБИНА КРЕПЛЕНИЕ) ЧАСТИ КОРПУСА
FIT
1:1
100%

Артикул

Название

Примечание

Количество

G-1

0

STEEL CAB GROUP

SN: 10201-UP

1шт.

|$$2

====================

-1шт.

|$2

198-Z11-0022

STEEL CAB ASS'Y

SN: 10365-UP

1шт.

|$3

0

STEEL CAB ASS'Y

SN: 10279-10364

1шт.

|$4

0

STEEL CAB ASS'Y

SN: 10201-10278

1шт.

|$$6

THESE ASSEMBLIES CONSIST OF ALL PARTS SHOWN IN FIGS.5501 TO 5512.

-1шт.

1

195-Z11-2120

FELT,GLASS

SN: 10201-UP

1шт.

2

195-Z11-2130

FELT,GLASS

SN: 10201-UP

1шт.

3

195-Z11-2140

FELT,GLASS

SN: 10201-UP

1шт.

4

195-Z11-2150

FELT,GLASS

SN: 10201-UP

1шт.

5

195-Z11-2160

FELT,GLASS

SN: 10201-UP

1шт.

6

195-Z11-2760

FELT,GLASS

SN: 10201-UP

1шт.

7

195-Z11-2770

FELT,GLASS

SN: 10201-UP

1шт.

8

195-Z11-2780

FELT,GLASS

SN: 10201-UP

1шт.

9

04431-30000

PLATE

SN: 10201-UP

31шт.

10

195-Z11-2580

COVER

SN: 10201-10278

1шт.

11

195-Z11-2590

COVER

SN: 10201-10278

1шт.

12

195-Z11-2610

COVER

SN: 10201-10278

1шт.

13

195-Z11-2620

COVER

SN: 10201-10278

1шт.

14

195-Z11-2630

COVER

SN: 10201-10278

1шт.

15

195-Z11-2640

COVER

SN: 10201-10278

1шт.

16

195-Z11-2650

COVER

SN: 10201-10278

1шт.

17

195-Z11-2660

COVER

SN: 10201-10278

1шт.

18

195-Z11-2670

COVER

SN: 10201-10278

2шт.

19

195-Z11-2680

COVER

SN: 10201-10278

2шт.

20

195-Z11-2690

COVER

SN: 10201-10278

1шт.

21

195-979-7720

SCREW

SN: 10201-10278

36шт.

22

01601-20410

WASHER,SPRING

SN: 10201-10278

36шт.

23

195-Z11-2520

SEAT

SN: 10201-UP

1шт.

24

195-Z11-2530

SEAT

SN: 10201-UP

1шт.

25

195-Z11-2920

COVER

SN: 10201-UP

1шт.

26

195-Z11-2831

JOINT

SN: 10279-UP

7шт.

26

195-Z11-2830

JOINT

SN: 10201-10278

7шт.

27

01010-51480

BOLT

SN: 10201-UP

7шт.

28

01643-31445

WASHER

SN: 10201-UP

7шт.

29

195-Z11-1970

CAP

SN: 10201-UP

7шт.

30

01011-51440

BOLT

SN: 10201-UP

1шт.

31

01010-51455

BOLT

SN: 10201-UP

6шт.

32

01643-31445

WASHER

SN: 10201-UP

7шт.

33

195-Z11-3720

PLATE

SN: 10201-UP

1шт.

34

195-979-7710

SCREW

SN: 10201-UP

2шт.

35

01642-20508

WASHER

SN: 10201-UP

2шт.

|$$43

====================

-1шт.

Выбрано товаров: 0